公布日:2023.10.13
申請日:2023.08.17
分類號:C02F11/02(2006.01)I
摘要
本發明涉及污泥處理技術領域,且公開了一種提高污泥好氧發酵的裝置,包括反應裝置,所述反應裝置包括箱體,所述箱體的前端下側固定連接有電機,所述電機的輸出端固定連接有攪拌軸。該提高污泥好氧發酵的裝置及使用方法,通過啟動氣泵,氣泵抽取氣體通過進氣管進入轉接環,再依次通過攪拌軸和攪拌葉,從攪拌葉的凹孔排處進入污泥內,加強底部污泥菌種的氧氣環境,啟動電機,電機帶動攪拌軸轉動,攪拌軸帶動攪拌葉轉動,利用攪拌葉對箱體底端的污泥進行攪拌,避免污泥受重力影響被壓實,攪拌葉帶動刮片對箱體底端上的污泥進行刮除,避免粘附,從而達到便于增強污泥底部菌種的氧氣環境,提高污泥好氧發酵效率的效果。

權利要求書
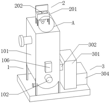
1.一種提高污泥好氧發酵的裝置,包括反應裝置(1),其特征在于:所述反應裝置(1)的上端設有加料裝置(2),所述反應裝置(1)的底端設有回收裝置(3);所述反應裝置(1)包括箱體(101),所述箱體(101)的前端下側固定連接有電機(102),所述電機(102)的輸出端固定連接有攪拌軸(103),所述攪拌軸(103)的外表面固定連接有攪拌葉(104),所述攪拌葉(104)的另一端固定連接有刮片(105),所述箱體(101)位于電機(102)的上端固定連接有氣泵(106),所述氣泵(106)的輸出端固定連接有進氣管(107),所述進氣管(107)的另一端固定連接有轉接環(108);所述加料裝置(2)包括料盒(201),所述料盒(201)的中部設有擋板(202),所述料盒(201)的下端固定連接有Y形導管(203),所述Y形導管(203)的下端固定連接有旋轉接頭(204),所述旋轉接頭(204)的下端轉動連接有噴頭(205);所述回收裝置(3)包括熱電轉化箱(301),所述熱電轉化箱(301)的左端固定連接有導熱板(302),所述導熱板(302)的另一端固定連接有吸熱板(303),所述熱電轉化箱(301)的右端設有蓄電池(304),所述蓄電池(304)與熱電轉化箱(301)電性連接。
2.根據權利要求1所述的一種提高污泥好氧發酵的裝置,其特征在于:所述箱體(101)的下端設為弧形,所述電機(102)的輸出端貫穿箱體(101)并延伸至箱體(101)的內側壁中。
3.根據權利要求1所述的一種提高污泥好氧發酵的裝置,其特征在于:所述攪拌軸(103)的兩端均與箱體(101)轉動連接,所述刮片(105)的外端與箱體(101)的底端內側壁接觸。
4.根據權利要求1所述的一種提高污泥好氧發酵的裝置,其特征在于:所述轉接環(108)的前端與箱體(101)固定連接,所述轉接環(108)套接在攪拌軸(103)上,且所述攪拌軸(103)、攪拌葉(104)與轉接環(108)相互貫通。
5.根據權利要求1所述的一種提高污泥好氧發酵的裝置,其特征在于:所述攪拌葉(104)的側邊開設有若干個透氣孔,所述攪拌葉(104)與攪拌軸(103)的連接處安裝有單向閥。
6.根據權利要求1所述的一種提高污泥好氧發酵的裝置,其特征在于:所述料盒(201)的上端與箱體(101)固定連接,所述Y形導管(203)貫穿箱體(101)延伸至箱體(101)的內部。
7.根據權利要求1所述的一種提高污泥好氧發酵的裝置,其特征在于:所述噴頭(205)的下端噴嘴處設為弧形曲線,所述Y形導管(203)上安裝有閥體。
8.根據權利要求1所述的一種提高污泥好氧發酵的裝置,其特征在于:所述箱體(101)的內側壁中設有空腔,所述吸熱板(303)位于空腔內,所述導熱板(302)貫穿箱體(101)的內側壁并延伸至外端。
9.根據權利要求1所述的一種提高污泥好氧發酵的裝置的使用方法,其特征在于:包括以下步驟;S1、將污泥排放到箱體(101)內,同時打開Y形導管(203),使料盒(201)內的添加劑通過Y形導管(203),經旋轉接頭(204)通過噴頭(205)噴出,噴頭(205)帶動旋轉接頭(204)轉動,將添加劑均勻噴灑在污泥上;S2、啟動氣泵(106),導入氣體進入進氣管(107),再通過轉接環(108)進入攪拌軸(103),再通過攪拌葉(104)排入污泥中,通過電機(102)對污泥進行攪拌;S3、污泥好氧發酵時產生的余熱被吸熱板(303)吸收,通過導熱板(302)將熱量傳輸到熱電轉化箱(301)進行熱電轉化,儲存到蓄電池(304)內。
發明內容
本發明的目的在于提供一種提高污泥好氧發酵的裝置及使用方法,以解決上述背景技術中提出的現有的污泥好癢裝置污泥堆積高度過高,影響通風進行降低好氧發酵效率的問題。
為了解決上述技術問題,本發明提供如下技術方案:一種提高污泥好氧發酵的裝置,包括反應裝置,所述反應裝置的上端設有加料裝置,所述反應裝置的底端設有回收裝置;
所述反應裝置包括箱體,所述箱體的前端下側固定連接有電機,所述電機的輸出端固定連接有攪拌軸,所述攪拌軸的外表面固定連接有攪拌葉,所述攪拌葉的另一端固定連接有刮片,所述箱體位于電機的上端固定連接有氣泵,所述氣泵的輸出端固定連接有進氣管,所述進氣管的另一端固定連接有轉接環;
所述加料裝置包括料盒,所述料盒的中部設有擋板,所述料盒的下端固定連接有Y形導管,所述Y形導管的下端固定連接有旋轉接頭,所述旋轉接頭的下端轉動連接有噴頭;
所述回收裝置包括熱電轉化箱,所述熱電轉化箱的左端固定連接有導熱板,所述導熱板的另一端固定連接有吸熱板,所述熱電轉化箱的右端設有蓄電池,所述蓄電池與熱電轉化箱電性連接。
優選的,所述箱體的下端設為弧形,所述電機的輸出端貫穿箱體并延伸至箱體的內側壁中。
優選的,所述攪拌軸的兩端均與箱體轉動連接,所述刮片的外端與箱體的底端內側壁接觸。
優選的,所述轉接環的前端與箱體固定連接,所述轉接環套接在攪拌軸上,且所述攪拌軸、攪拌葉與轉接環相互貫通。
優選的,所述攪拌葉的側邊開設有若干個透氣孔,所述攪拌葉與攪拌軸的連接處安裝有單向閥。
優選的,所述料盒的上端與箱體固定連接,所述Y形導管貫穿箱體延伸至箱體的內部。
優選的,所述噴頭的下端噴嘴處設為弧形曲線,所述Y形導管上安裝有閥體。
優選的,所述箱體的內側壁中設有空腔,所述吸熱板位于空腔內,所述導熱板貫穿箱體的內側壁并延伸至外端。
一種提高污泥好氧發酵的裝置的使用方法,包括以下步驟;
S1、將污泥排放到箱體內,同時打開Y形導管,使料盒內的添加劑通過Y形導管,經旋轉接頭通過噴頭噴出,噴頭帶動旋轉接頭轉動,將添加劑均勻噴灑在污泥上;
S2、啟動氣泵,導入氣體進入進氣管,再通過轉接環進入攪拌軸,再通過攪拌葉排入污泥中,通過電機對污泥進行攪拌;
S3、污泥好氧發酵時產生的余熱被吸熱板吸收,通過導熱板將熱量傳輸到熱電轉化箱進行熱電轉化,儲存到蓄電池內。
與現有技術相比,本發明所達到的有益效果是:
第一、本發明,通過啟動氣泵,氣泵抽取氣體通過進氣管進入轉接環,再依次通過攪拌軸和攪拌葉,從攪拌葉的凹孔排處進入污泥內,加強底部污泥菌種的氧氣環境,啟動電機,電機帶動攪拌軸轉動,攪拌軸帶動攪拌葉轉動,利用攪拌葉對箱體底端的污泥進行攪拌,避免污泥受重力影響被壓實,攪拌葉帶動刮片對箱體底端上的污泥進行刮除,避免粘附,從而達到便于增強污泥底部菌種的氧氣環境,提高污泥好氧發酵效率的效果。
第二、本發明,通過將污泥排放到箱體內,同時打開Y形導管,使料盒內的添加劑通過Y形導管,經旋轉接頭通過噴頭噴出,噴頭帶動旋轉接頭轉動,將添加劑均勻噴灑在污泥上,避免污泥與添加劑混合不均的情況,提高污泥好氧發酵的效率。
第三、本發明,通過在污泥好氧發酵時產生的余熱被吸熱板吸收,再通過導熱板進入熱電轉化箱進行轉化,使余熱轉化為電量,儲存進行蓄電池內,從而達到便于余熱利用的效果。
(發明人:薛向東;錢洪春;葉金宇;莊海峰;李鑫隆;高源)






