公布日:2023.11.03
申請日:2023.09.25
分類號:B01D33/03(2006.01)I;B01D33/44(2006.01)I;B01D33/48(2006.01)I;E21B41/00(2006.01)I
摘要
本發明涉及油基鉆井液處理技術領域,具體地說是一種油基鉆井液的處理設備及處理方法,包括將鉆井產生的帶有固態殘渣的油基鉆井液泥漿廢液經過篩分裝置進行篩分成碎屑殘渣和泥漿兩部分,其中碎屑殘渣進入到干化系統儲池,泥漿進入到污泥儲池,本發明通過對濾板提供震動的力,使濾板震動對鉆井液進行篩分,增加對鉆井液的篩分效果,并在濾板震動的同時,通過清潔柱對濾板的網眼進行往復循環清潔,在對濾板進行清潔的同時,不會影響濾板對鉆井液的正常篩分,且由于是對濾板進行往復清潔,所以不會影響濾板的篩分效率,以此降低泥漿以及碎屑易堵塞篩分裝置,而導致篩分裝置的篩分效果以及效率下降,影響對鉆井液處理的效率這一問題發生的概率。

權利要求書
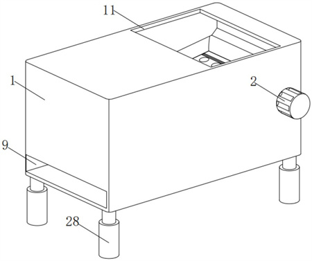
1.一種油基鉆井液的處理設備,包括篩分裝置,其特征在于:所述篩分裝置包括機體(1),所述機體(1)的外壁固定連接有電機(2),所述機體(1)的底部內壁固定連接有將其內部分割為兩部分空腔的隔板(3),所述隔板(3)的頂部鉸接有固定架(4),所述固定架(4)的內圈壁固定連接有濾板(5),所述濾板(5)傾斜設置,并覆蓋兩部分空腔中的右側的一個空腔,所述濾板(5)呈左低右高狀態,所述電機(2)的主軸貫穿所述機體(1)的外壁至其內部并固定連接有往復絲杠(6),所述往復絲杠(6)的外圈壁固定連接有對稱設置的偏心盤(7),且所述固定架(4)的底部鉸接有對稱設置的推板(8),且所述推板(8)的底部外壁與所述偏心盤(7)的外圈壁貼合,所述機體(1)的端壁開設有與其左側內部連通的出雜口(9),所述機體(1)的另一端開設有與其右側內部連通的出漿口(10),且所述機體(1)的頂部開設有與其內部連通的進料口(11),且所述進料口(11)位于所述濾板(5)的上方,所述濾板(5)的底部設置有用于對濾板(5)進行清潔的清潔單元。
2.根據權利要求1所述的一種油基鉆井液的處理設備,其特征在于:所述清潔單元包括滑塊(12),且所述滑塊(12)滑動連接于所述往復絲杠(6),且所述滑塊(12)被所述往復絲杠(6)貫穿并與其進行螺紋連接,所述濾板(5)的底部滑動連接有收納板(13),且所述收納板(13)的外壁固定連接有U型的傳動桿(14),且所述滑塊(12)的外壁開設有將其貫穿且為弧形設置的第一活動槽(15),且所述傳動桿(14)穿過所述第一活動槽(15)并與其內壁接觸,所述收納板(13)的頂部開設有均勻設置的收納槽(16),且所述收納槽(16)的底部內壁固定連接有壓力彈簧(17),所述壓力彈簧(17)的另一端固定連接有頂部為弧形設置的清潔柱(18),且所述清潔柱(18)的外圈壁與所述收納槽(16)的內圈壁貼合,且所述清潔柱(18)的弧形頂部可插入到所述濾板(5)的網眼內。
3.根據權利要求2所述的一種油基鉆井液的處理設備,其特征在于:所述收納槽(16)之間相互連通,且所述清潔柱(18)的頂部開設有將其貫穿的排氣孔(19),所述傳動桿(14)的內部為中空設置,且所述傳動桿(14)的內部與所述收納槽(16)的內部連通,所述機體(1)的內壁固定連接有對稱設置的活塞筒(20),所述活塞筒(20)的另一端分別與所述滑塊(12)的外壁固定連接,且所述活塞筒(20)的進氣孔與所述機體(1)的外部連通,所述活塞筒(20)的出氣孔與所述傳動桿(14)的內部通過管道連通。
4.根據權利要求2所述的一種油基鉆井液的處理設備,其特征在于:所述濾板(5)的頂部開設有將其貫穿的第二活動槽(21),所述收納板(13)的頂部固定連接有聯動柱(22),且所述聯動柱(22)穿過所述第二活動槽(21)至所述濾板(5)的頂部并設置有刮板(23),且所述刮板(23)的底部與所述濾板(5)的頂部貼合,所述第二活動槽(21)的內壁固定連接有對稱設置的橡膠簾(24),且所述橡膠簾(24)之間相對的一端與所述聯動柱(22)的外圈壁貼合。
5.根據權利要求4所述的一種油基鉆井液的處理設備,其特征在于:所述刮板(23)的端壁與所述聯動柱(22)延伸至所述濾板(5)頂部處的外圈壁進行轉動連接,且所述聯動柱(22)的頂部固定連接有U型的擋塊(25),且所述擋塊(25)的兩側內壁可分別與所述刮板(23)的外壁接觸并進行格擋。
6.根據權利要求3所述的一種油基鉆井液的處理設備,其特征在于:所述滑塊(12)的端壁固定連接有對稱設置的刮塊(26),且所述刮塊(26)的一端延伸至所述往復絲杠(6)的螺紋槽內,并與其螺紋槽的螺紋內壁貼合。
7.根據權利要求3所述的一種油基鉆井液的處理設備,其特征在于:所述收納槽(16)的底部內壁固定連接有橡膠材質的頂柱(27),且所述頂柱(27)的頂部可與所述排氣孔(19)的底部開口處貼合對其進行密封。
8.根據權利要求1所述的一種油基鉆井液的處理設備,其特征在于:所述機體(1)的底部均勻固定連接有彈簧支架(28)。
9.根據權利要求1所述的一種油基鉆井液的處理設備,其特征在于:所述固定架(4)遠離所述隔板(3)的一端固定連接有橡膠材質的密封片(29),且所述密封片(29)的另一端與所述機體(1)的內壁固定連接。
10.一種油基鉆井液的處理方法,其特征在于:該方法包括以下步驟;S1:油基鉆井液分離:將鉆井產生的帶有固態殘渣的油基鉆井液泥漿廢液經過篩分裝置進行篩分成碎屑殘渣和泥漿兩部分,其中碎屑殘渣進入到干化系統儲池,泥漿進入到污泥儲池;S2:泥漿分離:上述步驟S1中的泥漿進入到污泥儲池后,將這部分泥漿經管式膜過濾分離,將過濾后的污水排入到污水處理系統,而產生的剩余碎屑殘渣排入到干化系統儲池;S3:碎屑殘渣處理:對所述干化系統儲池內的碎屑殘渣進行干燥處理,并回收在干燥處理時產生的輕質油;S4:碎屑殘渣焚燒:對上述步驟S3中干燥處理后的碎屑殘渣進行焚燒,并將焚燒產生的煙氣進行催化、脫硫、清除粉塵后排放到大氣中;所述篩分裝置為前述的油基鉆井液的處理設備的篩分裝置。
發明內容
針對上述問題,本發明提供如下技術方案:一種油基鉆井液的處理設備,包括篩分裝置,所述篩分裝置包括機體,所述機體的外壁固定連接有電機,所述機體的底部內壁固定連接有將其內部分割為兩部分空腔的隔板,所述隔板的頂部鉸接有固定架,所述固定架的內圈壁固定連接有濾板,所述濾板傾斜設置,并覆蓋兩部分空腔中的右側的一個空腔,所述濾板呈左低右高狀態,所述電機的主軸貫穿所述機體的外壁至其內部并固定連接有往復絲杠,所述往復絲杠的外圈壁固定連接有對稱設置的偏心盤,且所述固定架的底部鉸接有對稱設置的推板,且所述推板的底部外壁與所述偏心盤的外圈壁貼合,所述機體的端壁開設有與其左側內部連通的出雜口,所述機體的另一端開設有與其右側內部連通的出漿口,且所述機體的頂部開設有與其內部連通的進料口,且所述進料口位于所述濾板的上方,所述濾板的底部設置有用于對濾板進行清潔的清潔單元。
優選的,所述清潔單元包括滑塊,且所述滑塊滑動連接在所述機體的內壁,且所述滑塊被所述往復絲杠貫穿并與其進行螺紋連接,所述濾板的底部滑動連接有收納板,且所述收納板的外壁固定連接有U型的傳動桿,且所述滑塊的外壁開設有將其貫穿且為弧形設置的第一活動槽,且所述傳動桿穿過所述第一活動槽并與其內壁接觸,所述收納板的頂部開設有均勻設置的收納槽,且所述收納槽的底部內壁固定連接有壓力彈簧,所述壓力彈簧的另一端固定連接有頂部為弧形設置的清潔柱,且所述清潔柱的外圈壁與所述收納槽的內圈壁貼合,且所述清潔柱的弧形頂部可插入到所述濾板的網眼內。
優選的,所述收納槽之間相互連通,且所述清潔柱的頂部開設有將其貫穿的排氣孔,所述傳動桿的內部為中空設置,且所述傳動桿的內部與所述收納槽的內部連通,所述機體的內壁固定連接有對稱設置的活塞筒,所述活塞筒的另一端分別與所述滑塊的外壁固定連接,且所述活塞筒的進氣孔與所述機體的外部連通,所述活塞筒的出氣孔與所述傳動桿的內部通過管道連通。
優選的,所述濾板的頂部開設有將其貫穿的第二活動槽,所述收納板的頂部固定連接有聯動柱,且所述聯動柱穿過所述第二活動槽至所述濾板的頂部并設置有刮板,且所述刮板的底部與所述濾板的頂部貼合,所述第二活動槽的內壁固定連接有對稱設置的橡膠簾,且所述橡膠簾之間相對的一端與所述聯動柱的外圈壁貼合。
優選的,所述刮板的端壁與所述聯動柱延伸至所述濾板頂部處的外圈壁進行轉動連接,且所述聯動柱的頂部固定連接有U型的擋塊,且所述擋塊的兩側內壁可分別與所述刮板的外壁接觸并進行格擋。
優選的,所述滑塊的端壁固定連接有對稱設置的刮塊,且所述刮塊的一端延伸至所述往復絲杠的螺紋槽內,并與其螺紋槽的螺紋內壁貼合。
優選的,所述收納槽的底部內壁固定連接有橡膠材質的頂柱,且所述頂柱的頂部可與所述排氣孔的底部開口處貼合對其進行密封。
優選的,所述機體的底部均勻固定連接有彈簧支架。
優選的,所述固定架遠離所述隔板的一端固定連接有橡膠材質的密封片,且所述密封片的另一端與所述機體的內壁固定連接。
本發明還涉及一種油基鉆井液的處理方法,該方法包括以下步驟;S1:油基鉆井液分離:將鉆井產生的帶有固態殘渣的油基鉆井液泥漿廢液經過篩分裝置進行篩分成碎屑殘渣和泥漿兩部分,其中碎屑殘渣進入到干化系統儲池,泥漿進入到污泥儲池;S2:泥漿分離:上述步驟S1中的泥漿進入到污泥儲池后,將這部分泥漿經管式膜過濾分離,將過濾后的污水排入到污水處理系統,而產生的剩余碎屑殘渣排入到干化系統儲池;S3:碎屑殘渣處理:對所述干化系統儲池內的碎屑殘渣進行干燥處理,并回收在干燥處理時產生的輕質油;S4:碎屑殘渣焚燒:對上述步驟S3中干燥處理后的碎屑殘渣進行焚燒,并將焚燒產生的煙氣進行催化、脫硫、清除粉塵后排放到大氣中;所述篩分裝置為前述的油基鉆井液的處理設備的篩分裝置。
本發明的技術效果和優點:1、與現有技術相比,本發明通過對濾板提供震動的力,使濾板震動對鉆井液進行篩分,增加對鉆井液的篩分效果,并在濾板震動的同時,通過清潔柱對濾板的網眼進行往復循環清潔,并且在對濾板進行清潔的同時,不會影響濾板對鉆井液的正常篩分,且由于是對濾板進行往復清潔,所以不會影響濾板的篩分效率,以此降低泥漿以及碎屑易堵塞篩分裝置,從而導致篩分裝置的篩分效果以及效率下降,從而影響對鉆井液處理的效率這一問題發生的概率。
2、與現有技術相比,本發明通過使氣體從排氣孔排出,以此使得清潔柱在插入到濾板的網眼中,收納槽內的氣體會通過排氣孔排出,對濾板的網眼中堵塞的污泥及碎屑殘渣進行噴射,從而幫助清潔柱對濾板的網眼進行清潔,并且當清潔柱收回到收納槽的內部時,由于排氣孔在持續排氣,從而可以將清潔柱頂部粘連的碎屑雜質推下,從而使其留在濾板的頂部,從而防止清潔柱在收回時,將粘連的雜質一并帶回到濾板的下部,從而導致濾板對鉆井液的篩分效果降低。(發明人:王延平;周全;徐萍萍;劉利鋒;龔子衿)






