公布日:2024.05.03
申請日:2024.01.30
分類號:C02F3/00(2023.01)I;C02F3/34(2023.01)I;C02F1/00(2023.01)I;G06V10/774(2022.01)I;G06V10/764(2022.01)I;G06V10/82(2022.01)I;G06V10/56(2022.01)I
摘要
本申請涉及污水處理技術領域,公開一種一體化生活污水電極生物膜凈化系統及使用方法,系統包括:電極生物膜凈化裝置,對污水進行電極生物膜凈化處理;數據收集模塊,大量收集污水處理中的固體污物的圖像;圖像采集模塊,采集污水處理過程中的固體污物圖像;圖像預處理模塊,對采集到的圖像進行預處理;特征提取模塊,從預處理后的圖像中提取出固體污物的各種特征;污物識別模塊,確定固體污物的類型和大小。本發明通過水力驅動機構及濾斗實現了在污水生物膜凈化前,濾斗對污水內的固體污物進行過濾處理,同時在水力驅動機構的作用下,使得濾斗進行自轉,從而提高過濾效率,有效的避免了污物堵塞管道,從而保證裝置的污水處理效率的效果。

權利要求書
1.一種一體化生活污水電極生物膜凈化系統的使用方法,其特征在于,包括以下步驟:S1、將污水通過電極生物膜凈化裝置的水力驅動機構注入到過濾座內,通過濾斗進行過濾,在污水經過渦輪座時帶動渦輪轉動;S2、然后渦輪帶動從動輪B轉動,通過主動輪和從動輪A帶動環形齒條連接的濾斗進行自轉,快速過濾;S3、然后過濾的污水會抽入到生物膜凈化箱內進行電極生物膜凈化污水;圖像采集模塊實時采集污水處理過程中濾斗內的固體污物圖像;S4、圖像預處理模塊對采集到的圖像進行預處理,包括圖像灰度化、降噪和濾波操作;S5、特征提取模塊從預處理后的圖像中提取出固體污物的特征,包括顏色、形狀和紋理;S6、污物識別模塊根據從圖像中提取固體污物特征,進行固體污物分類和識別;S7、當污物識別模塊監測到濾斗內存有固體污物需要清理時,啟動電機帶動轉動座轉動一百八十度,右側的濾斗轉動到左側繼續對污水進行過濾;當左側的濾斗轉動到右側時;傳動輪與弧型齒條接觸;在弧型齒條的作用下,使得往復絲桿轉動;S8、往復絲桿會帶動移動架下移,此時在導向環的作用下使得驅動桿轉動;自清潔機構將濾斗內的污物清理出;刮板將擋蓋底部的污物清理掉;在轉動座轉動時,分離機構對污物進行擠壓分離污水。
2.一種基于權利要求1的一體化生活污水電極生物膜凈化系統,包括電極生物膜凈化裝置、數據收集模塊、圖像采集模塊、圖像預處理模塊、特征提取模塊、污物識別模塊和PLC控制模塊,其特征在于:電極生物膜凈化裝置:對污水進行電極生物膜凈化處理;數據收集模塊:大量收集污水處理中的固體污物的圖像,將收集到的圖像分為訓練集和測試集;圖像采集模塊:包括防水高清攝像頭和LED燈,實時采集污水處理過程中的固體污物圖像;圖像預處理模塊:對采集到的圖像進行預處理,包括圖像灰度化、降噪和濾波操作;特征提取模塊:從預處理后的圖像中提取出固體污物的各種特征,包括顏色、形狀和紋理;污物識別模塊:使用機器學習的卷積神經網絡對提取的特征進行分類和識別對污物的顏色、形狀和紋理特征進行學習和分類,以確定固體污物的類型和大小;PLC控制模塊:與電極生物膜凈化裝置、圖像采集模塊、數據收集模塊和污物識別模塊網絡連接。
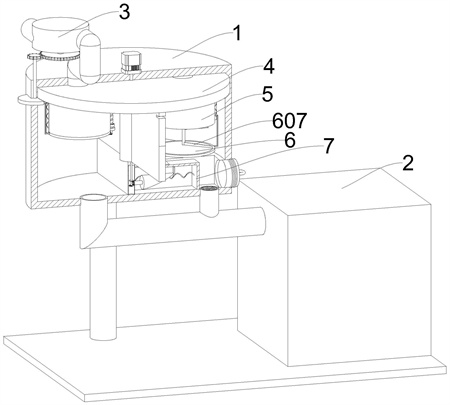
3.根據權利要求1所述的一體化生活污水電極生物膜凈化系統的使用方法,其特征在于:所述電極生物膜凈化裝置包括:過濾座、生物膜凈化箱、水力驅動機構、轉動座、濾斗、自清潔機構和分離機構,所述過濾座一側連接固定設置有生物膜凈化箱;水力驅動機構固定設置于過濾座上;轉動座轉動連接設置于過濾座內;轉動座上轉動連接設置有兩個濾斗;濾斗上滑動配合設置有自清潔機構;分離機構轉動連接設置于過濾座內;其中,在進行生物膜凈化前,通過設置濾斗對污水內的較大固定垃圾進行過濾處理。
4.根據權利要求3所述的一體化生活污水電極生物膜凈化系統的使用方法,其特征在于:所述水力驅動機構包括渦輪座,渦輪座固定設置在過濾座上方;所述渦輪座一側通過出水管與過濾座相連通,所述渦輪座內壁轉動連接設置有渦輪,渦輪座的輸入端連通設置有污水泵。
5.根據權利要求4所述的一體化生活污水電極生物膜凈化系統的使用方法,其特征在于:所述渦輪的一端穿過渦輪座并連接固定設置有主動輪,所述主動輪一側嚙合傳動設置有從動輪A,所述從動輪A的一端固定設置有從動輪B;所述濾斗上連接固定設置有環形齒條,所述環形齒條與從動輪B嚙合傳動設置。
6.根據權利要求1所述的一體化生活污水電極生物膜凈化系統的使用方法,其特征在于:所述濾斗一側轉動連接設置有往復絲桿,所述往復絲桿一端連接固定設置有傳動輪;所述過濾座一側內壁連接固定設置有弧型齒條,所述弧型齒條與傳動輪嚙合傳動設置。
7.根據權利要求3所述的一體化生活污水電極生物膜凈化系統的使用方法,其特征在于:所述自清潔機構包括移動架,所述移動架一端通過導向柱與往復絲桿滑動配合設置,所述移動架上固定設置有擋蓋,所述擋蓋上可轉動的設置有刮環,所述刮環與濾斗內壁滑動接觸設置;所述移動架一側轉動連接設置有萬向節,所述萬向節一端與擋蓋轉動連接設置,所述萬向節另一端連接固定設置有驅動桿,所述驅動桿上開設有螺旋槽;萬向節上固定設置有刮板,刮板與擋蓋頂面摩擦接觸設置;所述濾斗上連接固定設置有導向環,所述導向環上的滑動柱與螺旋槽滑動配合設置。
8.根據權利要求1所述的一體化生活污水電極生物膜凈化系統的使用方法,其特征在于:所述過濾座上固定設置有電機,電機的轉軸穿過過濾座與轉動座固定設置,所述轉動座上連接固定設置有擋水板。
9.根據權利要求3所述的一體化生活污水電極生物膜凈化系統的使用方法,其特征在于:所述分離機構包括擠壓座,所述擠壓座與過濾座一側內壁滑動配合設置,所述擠壓座上連接固定設置有多個彈簧,所述彈簧另一端與過濾座內壁連接固定設置,所述擠壓座一側活動接觸設置有斜面柱。
10.根據權利要求9所述的一體化生活污水電極生物膜凈化系統的使用方法,其特征在于:所述斜面柱一端與過濾座內壁轉動連接設置,所述斜面柱的一端連接固定設置有錐齒輪;過濾座上可拆卸的固定設置有污物收集蓋;所述轉動座一端固定設置有兩個不完全錐齒輪,兩個不完全錐齒輪的齒錯位設置;所述不完全錐齒輪與錐齒輪嚙合傳動設置。
發明內容
1.要解決的技術問題
本申請的目的在于提供一種一體化生活污水電極生物膜凈化系統及使用方法,解決了上述背景技術中提出的技術問題,實現了對污水中的固體污物進行過濾處理的技術效果。
2.技術方案
本申請實施例提供了一種一體化生活污水電極生物膜凈化系統,包括:
電極生物膜凈化裝置:對污水進行電極生物膜凈化處理;
數據收集模塊:大量收集污水處理中的固體污物的圖像,將收集到的圖像分為訓練集和測試集;
圖像采集模塊:包括防水高清攝像頭和LED燈,實時采集污水處理過程中的固體污物圖像;
圖像預處理模塊:對采集到的圖像進行預處理,包括圖像灰度化、降噪、濾波等操作,以提高圖像的質量和識別準確率;
特征提取模塊:從預處理后的圖像中提取出固體污物的各種特征,如顏色、形狀、紋理等,以便于后續的分類和識別;
污物識別模塊:使用機器學習的卷積神經網絡(CNN)對提取的特征進行分類和識別,CNN對污物的顏色、形狀、紋理等特征進行學習和分類,以確定固體污物的類型和大小;通過污物圖像的訓練集對污物識別模塊進行訓練,通過測試集進行測試,污物識別模塊可以從圖像中提取固體污物特征,并根據這些特征進行分類和識別。
PLC控制模塊:與電極生物膜凈化裝置、圖像采集模塊、數據收集模塊和污物識別模塊網絡連接,并控制其工作。
作為本發明一種可選方案,所述電極生物膜凈化裝置包括:過濾座、生物膜凈化箱、水力驅動機構、轉動座、濾斗、自清潔機構及分離機構,所述過濾座一側連接固定設置有生物膜凈化箱;水力驅動機構固定連接設置于過濾座上;轉動座轉動連接設置于過濾座內;轉動座上轉動連接設置有兩個濾斗;濾斗上滑動配合設置有自清潔機構;分離機構轉動連接設置于過濾座內;
其中,通過設置濾斗,能夠在進行生物膜凈化前,對污水內的較大固定垃圾進行過濾處理,從而避免了垃圾堵塞設備管道,從而進一步提高了裝置對污水處理的效率。
作為本申請文件技術方案的一種可選方案,所述水力驅動機構包括渦輪座,渦輪座固定設置在過濾座上方;所述渦輪座一側通過出水管與過濾座相連通,所述渦輪座內壁轉動連接設置有渦輪,渦輪座的輸入端連通設置有污水泵。
通過采用上述技術方案,污水經過渦輪座時,會帶動渦輪轉動。
作為本申請文件技術方案的一種可選方案,所述渦輪的一端穿過渦輪座并連接固定設置有主動輪,所述主動輪一側嚙合傳動設置有從動輪A,所述從動輪A的一端通過銷軸延伸至過濾座內并連接固定設置有從動輪B;
所述濾斗上連接固定設置有環形齒條,所述環形齒條與從動輪B嚙合傳動設置。
通過采用上述技術方案,從動輪B轉動會帶動環形齒條501轉動,從而會帶動環形齒條連接的濾斗進行自轉。
作為本申請文件技術方案的一種可選方案,所述濾斗一側轉動連接設置有往復絲桿,所述往復絲桿上端連接固定設置有傳動輪;
所述過濾座一側內壁連接固定設置有弧型齒條,所述弧型齒條與傳動輪嚙合傳動設置。
通過采用上述技術方案,在弧型齒條的作用下,會使得傳動輪連接的往復絲桿轉動。
作為本申請文件技術方案的一種可選方案,所述自清潔機構包括移動架,所述移動架一端固定設置有套環,套環內壁固定設置有導向柱,往復絲桿上設置有閉合的往復槽;導向柱與往復絲桿滑動配合設置,所述移動架上固定連接設置有擋蓋,所述擋蓋上可轉動的設置有刮環,所述刮環與濾斗內壁滑動接觸設置。
通過采用上述技術方案,傳動輪和弧型齒條配合往復絲桿實現帶動自清潔機構自動移動作用。
作為本申請文件技術方案的一種可選方案,所述移動架一側轉動連接設置有萬向節,所述萬向節一端與擋蓋轉動連接設置,所述萬向節另一端連接固定設置有驅動桿,所述驅動桿上開設有螺旋槽;萬向節上固定設置有刮板,刮板與擋蓋頂面摩擦接觸設置;
所述濾斗上連接固定設置有導向環,導向環的內壁固定設置有滑動柱,所述導向環上的滑動柱與螺旋槽滑動配合設置。
通過采用上述技術方案,在導向環的作用下,會使得開設有螺旋槽的驅動桿進行轉動。
作為本申請文件技術方案的一種可選方案,所述分離機構包括擠壓座,所述擠壓座與過濾座一側內壁滑動配合設置,所述擠壓座上連接固定設置有多個彈簧,所述彈簧另一端與過濾座內壁連接固定設置,所述擠壓座一側活動接觸設置有斜面柱。
通過采用上述技術方案,斜面柱會配合彈簧的作用下,帶動擠壓座往復移動。
作為本申請文件技術方案的一種可選方案,所述斜面柱一端與過濾座內壁轉動連接設置,所述斜面柱的一端連接固定設置有錐齒輪;
所述轉動座一端連接固定設置有兩個不完全錐齒輪,所述不完全錐齒輪與錐齒輪嚙合傳動設置。兩個不完全錐齒輪的齒錯位設置。
過濾座上可拆卸的固定設置有污物收集蓋,污物收集蓋可以收集過濾下來的固體污物。過濾座上與污物收集蓋對應處設置有出水口,出水口處固定設置有濾網,可以對固定污物進行攔截。
通過上述技術方案,可通過轉動座不完全錐齒輪轉動,不完全錐齒輪帶動錐齒輪轉動,錐齒輪帶動斜面柱轉動,使擠壓座往復移動,對固體污物進行擠壓,使固體污物擠壓到污物收集蓋內。
作為本申請文件技術方案的一種可選方案,所述過濾座上固定設置有電機,電機的轉軸穿過過濾座與轉動座連接固定設置,所述轉動座上連接固定設置有擋水板。防水高清攝像頭和LED燈固定設置在轉動座的內側頂部與濾斗對應處,通過防水高清攝像頭實時采集污水處理過程中的固體污物圖像。
通過采用上述技術方案,電機帶動轉動座轉動。
本發明提供一種一體化生活污水電極生物膜凈化系統的使用方法,包括以下步驟:
S1、首先將污水通過電極生物膜凈化裝置的水力驅動機構注入到過濾座內,然后通過濾斗進行過濾,此時在污水經過渦輪座時,會帶動渦輪轉動;
S2、然后渦輪會帶動從動輪B轉動,從而會通過主動輪和從動輪A帶動環形齒條連接的濾斗進行自轉,快速過濾;
S3、然后過濾的污水會抽入到生物膜凈化箱內進行電極生物膜凈化污水;圖像采集模塊實時采集污水處理過程中濾斗內的固體污物圖像;
S4、圖像預處理模塊對采集到的圖像進行預處理,包括圖像灰度化、降噪、濾波等操作,以提高圖像的質量和識別準確率;
S5、特征提取模塊從預處理后的圖像中提取出固體污物的各種特征,如顏色、形狀、紋理等,以便于后續的分類和識別;
S6、污物識別模塊使用機器學習的卷積神經網絡(CNN)對提取的特征進行分類和識別,CNN對污物的顏色、形狀、紋理等特征進行學習和分類,以確定固體污物的類型和大小;通過污物圖像的訓練集對污物識別模塊進行訓練,通過測試集進行測試,污物識別模塊可以從圖像中提取固體污物特征,并根據這些特征進行分類和識別;
S7、當污物識別模塊監測到濾斗內存有固體污物需要對過濾的污物進行清理時,利用電機帶動轉動座轉動一百八十度,右側的濾斗轉動到左側繼續對污水進行過濾;當左側的濾斗轉動到右側時;傳動輪與弧型齒條接觸;在弧型齒條的作用下,會使得往復絲桿轉動;
S8、往復絲桿會帶動移動架下移,此時在導向環的作用下,會使得驅動桿轉動;驅動桿通過萬向節帶動刮環和刮板轉動,在刮環的作用下,會使得濾斗內的污物清理出;刮板將擋蓋底部的污物清理掉;然后在轉動座轉動時,會通過不完全錐齒輪帶動斜面柱轉動,斜面柱會配合彈簧的作用下,帶動擠壓座往復移動,對污物進行擠壓分離污水,將固體污物擠壓在蓋子內進行分離。
3.有益效果
本申請實施例中提供的一個或多個技術方案,至少具有如下技術效果或優點:
1.本申請由于采用了水力驅動機構及濾斗的技術手段,所以有效解決了現有技術中的技術問題,進而實現了在污水生物膜凈化前,濾斗會對污水內的固體污物進行過濾處理,同時在水力驅動機構的作用下,會使得濾斗進行自轉,從而提高過濾效率,有效的避免了污物堵塞管道,從而保證裝置的污水處理效率的效果。
2.本申請通過設置自清潔機構,在弧型齒條的作用下,會使得自清潔機構下移,同時在導向環的作用下,使得擋蓋自轉,同時在刮條的作用下,實現對濾斗內的污物實現自動清潔,從而保證濾斗的過濾效率。
3.本申請通過設置分離機構,能夠在轉動座轉動進行濾斗的更換時,會帶動擠壓座的往復移動,從而能夠對清理的污物進行擠壓,分離污水,提高裝置的過濾效率,使得裝置的功能多樣化,提高裝置的實用性。
4、可以通過機器學習的方法對得濾斗內的污物進行識別,可以及時的對得濾斗進行清理。
(發明人:武云鵬)






