公布日:2024.05.03
申請日:2024.01.26
分類號:C02F9/00(2023.01)I;C02F3/02(2023.01)N;C02F3/30(2023.01)N;C02F1/44(2023.01)N;C02F101/16(2006.01)N
摘要
本發明涉及震動MBR耦合自養深度脫氮污水處理系統,包括依次連通的厭氧池、缺氧池和好氧池,混合液回流管分別與好氧池的出口與缺氧池的入口連通,膜處理設備(4)包括殼體(5)、震動裝置(7)、膜組件(8)和產水泵(9),殼體內部形成污水腔(51)。污水腔與好氧池的出口連通,震動裝置(7)包括滑軌(71)、滑塊和動力機構,滑軌豎向設置于殼體的內側壁上,滑塊滑動設置于滑軌上。動力機構設置于殼體上,與滑塊連接。膜組件固定設置于滑塊上,膜組件上設置有出水口(81)。產水泵的吸水口通過吸水管與出水口連通,污泥回流管分別與污水腔和厭氧池的進口連通。本發明主要可以提高出水標準,節約能耗。

權利要求書
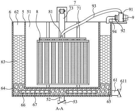
1.震動MBR耦合自養深度脫氮污水處理系統,其特征在于,包括厭氧池(1)、缺氧池(2)、好氧池(3)、混合液回流管(31)、膜處理設備(4)和污泥回流管(41),所述厭氧池(1)用于在厭氧條件下對污水進行處理,得到厭氧處理污水;所述缺氧池(2)的進口與厭氧池(1)的出口連通,接收厭氧處理污水,在缺氧條件下對厭氧處理污水進行處理,得到缺氧處理污水;所述好氧池(3)的進口與缺氧池(2)的出口連通,接收缺氧處理污水,在好氧條件下對缺氧處理污水進行處理,得到混合液;所述混合液回流管(31)分別與好氧池(3)的出口與缺氧池(2)的入口連通,用于將部分混合液回流至缺氧池(2);所述膜處理設備(4)包括殼體(5)、震動裝置(7)、膜組件(8)和產水泵(9),所述殼體(5)為方形,上部開口,內部形成污水腔(51),殼體(5)的底部設置有污泥排放口(52);所述污水腔(51)與好氧池(3)的出口連通,接收和存儲混合液;所述震動裝置(7)包括滑軌(71)、滑塊(72)和動力機構,所述滑軌(71)豎向設置于殼體(5)的內側壁上;所述滑塊(72)滑動設置于滑軌(71)上;所述動力機構設置于殼體(5)上,與滑塊(72)連接,用于驅動滑塊(72)沿滑軌(71)在上下方向滑動;所述膜組件(8)固定設置于滑塊(72)上,膜組件(8)上設置有出水口(81);所述產水泵(9)的吸水口(91)通過吸水管(93)與所述出水口(81)連通;所述污泥回流管(41)分別污水腔(51)和厭氧池(1)的進口連通,用于將污水腔(51)內的部分污泥回流至厭氧池(1)。
2.根據權利要求1所述的震動MBR耦合自養深度脫氮污水處理系統,其特征在于,還包括外殼(6),所述外殼(6)為方形,套設于殼體(5)外部,外殼(6)的底部設置有放水口(61),所述殼體(5)與外殼(6)固定連接,與外殼(6)之間保持間距,形成處理腔(62);所述污泥排放口(52)穿過外殼(6)延伸至外殼(6)下方;所述處理腔(62)內設置有硫自養反硝化填料層(63)和承托層(64),所述承托層(64)位于硫自養反硝化填料層(63)的下方,承托層(64)為石灰石或白云石顆粒;所述產水泵(9)的排水口(92)通過排水管(94)與處理腔(62)連通。
3.根據權利要求2所述的震動MBR耦合自養深度脫氮污水處理系統,其特征在于,還包括布水管(66),所述布水管(66)水平設置于承托層(64)中,布水管(66)上設置有多個布水孔(67);所述布水孔(67)的垂度為45°。
4.根據權利要求3所述的震動MBR耦合自養深度脫氮污水處理系統,其特征在于,所述硫自養反硝化填料層(63)的物料的粒徑為3~5mm,所述白云石或石灰石的粒徑為8~12mm;所述硫自養反硝化填料層(63)和承托層(64)的裝填比為2:1。
5.根據權利要求4所述的震動MBR耦合自養深度脫氮污水處理系統,其特征在于,所述動力機構為伸縮油缸(73),所述伸縮油缸(73)的缸體(74)與殼體(5)上部固定連接,伸縮油缸(73)的伸縮桿(75)與滑塊(72)固定連接。
6.根據權利要求5所述的震動MBR耦合自養深度脫氮污水處理系統,其特征在于,所述產水泵(9)固定設置于外殼(6)上,所述吸水管(93)為軟管。
7.根據權利要求6所述的震動MBR耦合自養深度脫氮污水處理系統,其特征在于,還包括過濾網(65),所述過濾網(65)固定設置于處理腔(62)內,罩設于放水口(61)處。
8.根據權利要求7所述的震動MBR耦合自養深度脫氮污水處理系統,其特征在于,所述污泥排放口(52)上設置有排放閥(53);所述放水口(61)上設置有放水閥(611)。
9.震動MBR耦合自養深度脫氮污水處理方法,其特征在于,包括:厭氧處理步驟(S1),將污水和從污水腔(51)返流回的污泥加入厭氧池(1)中,在厭氧條件下進行處理,得到厭氧處理污水,厭氧處理污水輸送至缺氧池(2)中;缺氧處理步驟(S2),將厭氧處理污水和從好氧池(3)返流回的混合液在缺氧條件下進行處理,得到缺氧處理污水,缺氧處理污水輸送至好氧池(3)中;好氧處理步驟(S3),將缺氧處理污水在好氧條件下進行處理,得到混合液,部分混合液返流回缺氧池(2)中,其余混合液輸送至污水腔(51)內;膜處理步驟(S4),通過膜組件(8)將混合液中的污泥進行過濾,得到過濾水和污泥,過濾水輸送至處理腔(62)中,部分污泥返流至厭氧池(1)中;自養深度脫氮處理步驟(S5),通過處理腔(62)中的硫自養反硝化填料層(63)以還原態硫作為電子供體完成反硝化作用,將過濾水中殘余的硝態氮和亞硝態氮轉化為氮氣排放,得到產水。
10.根據權利要求9所述的震動MBR耦合自養深度脫氮污水處理方法,其特征在于,所述厭氧池(1)內溶解氧的濃度≤0.1mg/L;所述缺氧池(2)內溶解氧的濃度≤0.5mg/L;所述好氧池(3)內溶解氧的濃度為2~3mg/L。
發明內容
為了解決上述問題,本發明提供了震動MBR耦合自養深度脫氮污水處理系統,包括厭氧池1、缺氧池2、好氧池3、混合液回流管31、膜處理設備4和污泥回流管41,厭氧池1用于在厭氧條件下對污水進行處理,得到厭氧處理污水。缺氧池2的進口與厭氧池1的出口連通,接收厭氧處理污水,在缺氧條件下對厭氧處理污水進行處理,得到缺氧處理污水。好氧池3的進口與缺氧池2的出口連通,接收缺氧處理污水,在好氧條件下對缺氧處理污水進行處理,得到混合液。混合液回流管31分別與好氧池3的出口與缺氧池2的入口連通,用于將部分混合液回流至缺氧池2。
膜處理設備4包括殼體5、震動裝置7、膜組件8和產水泵9,殼體5為方形,上部開口,內部形成污水腔51,殼體5的底部設置有污泥排放口52。污水腔51與好氧池3的出口連通,接收和存儲混合液,震動裝置7包括滑軌71、滑塊72和動力機構,滑軌71豎向設置于殼體5的內側壁上,滑塊72滑動設置于滑軌71上。動力機構設置于殼體5上,與滑塊72連接,用于驅動滑塊72沿滑軌71在上下方向滑動。膜組件8固定設置于滑塊72上,膜組件8上設置有出水口81。產水泵9的吸水口91通過吸水管93與出水口81連通,污泥回流管41分別污水腔51和厭氧池1的進口連通,用于將污水腔51內的部分污泥回流至厭氧池1。
由于膜處理設備4包括殼體5和震動裝置7,在殼體5內形成污水腔51,將滑軌71固定設置于殼體5的內側壁上,滑塊72滑動設置于滑軌71上,將膜組件8固定設置于滑塊72上,通過動力機構可以驅動滑塊72沿滑軌71上下移動,帶動膜組件8上下震動,在震動作用及污水腔51內污水的沖刷作用下,使膜組件8上沾附的污泥掉落,防止膜堵塞,保持膜通量,保證污水處理的效率。
由于膜組件8設置于污水腔51內,通過污水腔51暫存污水和污泥,可以增加污水中菌群數量,提高污水池內的污泥濃度,延長污泥停留時間,可以提高在低溫和進水濃度偏低條件下的生化處理性能。另外,污水池內無需曝氣,污水池內的微生物可以進行硝化和反硝化作用,能夠去除一部分總氮,提高了污物的去除率。
優選地,還包括外殼6,外殼6為方形,套設于殼體5外部,外殼6的底部設置有放水口61,殼體5與外殼6固定連接,與外殼6之間保持間距,形成處理腔62。污泥排放口52穿過外殼6延伸至外殼6下方,處理腔62內設置有硫自養反硝化填料層63和承托層64,承托層64位于硫自養反硝化填料層63的下方,承托層64為石灰石或白云石顆粒,產水泵9的排水口92通過排水管94與處理腔62連通。
通過在殼體5外部設置外殼6,在殼體5與外殼6之間形成處理腔62,在處理腔62內部設置硫自養反硝化填料層63,設置石灰石或白云石顆粒作為承托層64,將產水泵9的排水口92通過排水管94與處理腔62連通,將膜過濾后的過濾水排入處理腔62內,通過硫自養反硝化填料以硫化鈉、硫代硫酸鈉和單質硫等還原態硫源作為硫自養反硝化菌反硝化作用的電子供體,同時通過石灰石或白云石為反硝化菌提供部分碳源和適當堿度,將過濾水中剩余的硝態氮和亞硝態氮轉化為氮氣,從而對過濾水進一步處理,提高出水標準。
優選地,還包括布水管66,所述布水管66水平設置于承托層64中,布水管66上設置有多個布水孔67,布水孔67的垂度為45°。通過布水管66可以提高承托層64中的透水性。
優選地,硫自養反硝化填料層63的物料的粒徑為3~5mm,白云石或石灰石的粒徑為8~12mm,硫自養反硝化填料層63和承托層64的裝填比為2:1。
優選地,動力機構為伸縮油缸73,伸縮油缸73的缸體74與殼體5上部固定連接,伸縮油缸73的伸縮桿75與滑塊72固定連接。設置動力機構為伸縮油缸73,通過伸縮油缸73上的伸縮桿75伸長可以驅動膜組件8沿滑塊72向下運動,通過伸縮桿75的收縮可以驅動膜組件8沿滑塊72向上運動,實現驅動膜組件8上下震動,節約能耗。
優選地,產水泵9固定設置于外殼6上,吸水管93為軟管。將產水泵9固定設置于外殼6上,可以減少吸水管93和排水管94的長度,而且能夠將產水泵9固定,防止碰撞損壞。設置吸水管93為軟管,可以防止吸水管93影響膜組件8震動。
優選地,還包括過濾網65,過濾網65固定設置于處理腔62內,罩設于放水口61處。在放水口61處設置過濾網65,可以防止處理腔62內的承托層64和復合填料層的物料泄露。
優選地,污泥排放口52上設置有排放閥53,放水口61上設置有放水閥611。在污泥排放口52上設置排放閥53,可以定時排出污水腔51內的污泥。在放水口61上設置放水閥611,可以定時排出處理腔62內的清水。
震動MBR耦合自養深度脫氮污水處理方法,包括,厭氧處理步驟S1,將污水和從污水腔51返流回的污泥加入厭氧池1中,在厭氧條件下進行處理,得到厭氧處理污水,厭氧處理污水輸送至缺氧池2中。缺氧處理步驟S2,將厭氧處理污水和從好氧池3返流回的混合液在缺氧條件下進行處理,得到缺氧處理污水,缺氧處理污水輸送至好氧池3中。好氧處理步驟S3,將缺氧處理污水在好氧條件下進行處理,得到混合液,部分混合液返流回缺氧池2中,其余混合液輸送至污水腔51內。膜處理步驟S4,通過膜組件8將混合液中的污泥進行過濾,得到過濾水和污泥,過濾水輸送至處理腔62中,部分污泥返流至厭氧池1中。自養深度脫氮處理步驟S5,通過處理腔62中的硫自養反硝化填料層63以還原態硫作為電子供體完成反硝化作用,將過濾水中殘余的硝態氮和亞硝態氮轉化為氮氣排放,得到產水。
優選地,厭氧池1內溶解氧的濃度≤0.1mg/L,缺氧池2內溶解氧的濃度≤0.5mg/L,好氧池3內溶解氧的濃度為2~3mg/L。
(發明人:常喜斌;鐘建云;孫太平;呂學斌;王慧;田振華;趙鳳輝;胥珠蘭;黃國霞;王軍軍;張志龍;黨斌斌;劉利偉;王迪;李易明)






