申請日2014.10.16
公開(公告)日2015.04.08
IPC分類號B01D29/56; B01D29/68; B01D29/64; B01D29/03
摘要
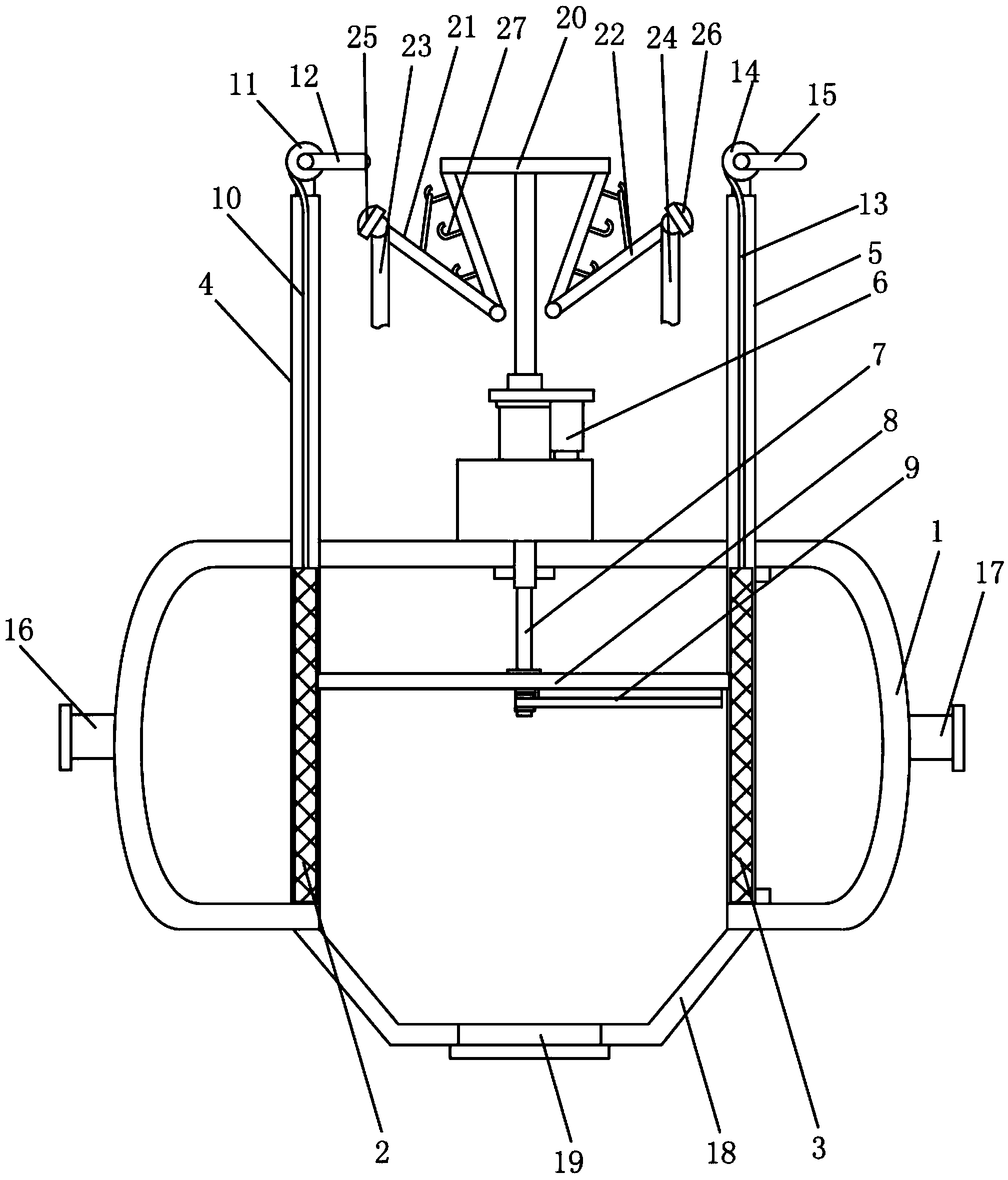
本實用新型屬于環保設備領域,尤其涉及一種高效清洗的污水處理設備,其特征在于:所述平刮板與伸縮桿的下端相連,所述平刮板位于一級過濾網、二級過濾網之間,所述旋轉刮板的一端與平刮板的中軸相連,所述固定架上安裝有掛鉤,所述第一噴頭旋轉架的一端、第二噴頭旋轉架的一端分別與所述固定架通過轉軸相連,所述第一噴頭旋轉架的另一端、第二噴頭旋轉架的另一端分別掛設于所述掛鉤上,所述第一噴頭與所述第一進水軟管相連,所述第一噴頭固定于所述第一噴頭旋轉架上,所述第一噴頭朝向所述一級過濾網設置,所述第二噴頭與所述第二進水軟管相連,所述第二噴頭固定于所述第二噴頭旋轉架上,所述第二噴頭朝向所述二級過濾網設置。
權利要求書
1.一種高效清洗的污水處理設備,其特征在于:包括罐體、一級過濾網、二級過濾網、一級過濾網滑道、二級過濾網滑道、伸縮桿電機、伸縮桿、平刮板、旋轉刮板、一級過濾網拉繩、一級過濾網拉繩轉軸、一級旋轉把手、二級過濾網拉繩、二級過濾網拉繩轉軸、二級旋轉把手、固定架、第一噴頭旋轉架、第二噴頭旋轉架、第一進水軟管、第二進水軟管、第一噴頭、第二噴頭,所述罐體的一端安裝有進水口,所述罐體的另一端安裝有出水口,所述罐體的底部設置有梯形槽,所述梯形槽的底部安裝有梯形槽蓋,所述一級過濾網滑道的下端安裝于所述罐體的內部,所述一級過濾網滑道的上端穿出所述罐體設置于所述罐體的上方,所述一級過濾網安裝于所述一級過濾網滑道上并且其靠近所述進水口設置,所述二級過濾網滑道的下端安裝于所述罐體的內部,所述二級過濾網滑道的上端穿出所述罐體設置于所述罐體的上方,所述二級過濾網安裝于所述二級過濾網滑道上并且其靠近所述出水口設置,所述二級過濾網、一級過濾網分列于所述梯形槽的兩側,所述一級過濾網拉繩轉軸安裝于所述一級過濾網滑道的上方,所述一級過濾網拉繩的一端與所述一級過濾網相連并且其另一端纏繞于所述一級過濾網拉繩轉軸上,所述一級旋轉把手與所述一級過濾網拉繩轉軸的中軸相連,所述二級過濾網拉繩轉軸安裝于所述二級過濾網滑道的上方,所述二級過濾網拉繩的一端與所述二級過濾網相連并且其另一端纏繞于所述二級過濾網拉繩轉軸上,所述二級旋轉把手與所述二級過濾網拉繩轉軸的中軸相連,所述伸縮桿的上端安裝于所述罐體的上部并且其下端穿設于所述罐體內,所述伸縮桿電機位于所述罐體的外部并且其與所述伸縮桿相連,所述平刮板位于所述罐體的內部并且其與所述伸縮桿的下端相連,所述平刮板位于所述一級過濾網、二級過濾網之間,所述旋轉刮板位于所述平刮板的下端并且旋轉刮板的一端與所述平刮板的中軸相連,所述固定架安裝于所述罐體的上方,所述固定架上安裝有掛鉤,所述第一噴頭旋轉架的一端、第二噴頭旋轉架的一端分別與所述固定架通過轉軸相連,所述第一噴頭旋轉架的另一端、第二噴頭旋轉架的另一端分別掛設于所述掛鉤上,所述第一噴頭與所述第一進水軟管相連,所述第一噴頭固定于所述第一噴頭旋轉架上,所述第一噴頭朝向所述一級過濾網設置,所述第二噴頭與所述第二進水軟管相連,所述第二噴頭固定于所述第二噴頭旋轉架上,所述第二噴頭朝向所述二級過濾網設置。
2.根據權利要求1所述的一種高效清洗的污水處理設備,其特征在于:所述二級過濾網的網眼直徑小于所述一級過濾網的網眼直徑。
3.根據權利要求1所述的一種高效清洗的污水處理設備,其特征在于:所述旋轉刮板的長度為平刮板長度的一半。
說明書
一種高效清洗的污水處理設備
技術領域
本實用新型屬于環保設備領域,尤其涉及一種高效清洗的污水處理設備。
背景技術
隨著水污染情況的不斷加劇,使得污水處理和再生行業受到空前的關注。污水處理設備能有效處理城區的生活污水、工業廢水等,避免污水及污染物直接流入水域,對改善生態環境、提升城市品位和促進經濟發展具有重要意義。污水再利用有幾個技術難點需要克服:堵塞、腐蝕、換熱效率。為了克服堵塞難題,市面上出現了各種各樣的污水處理設備,但是這些處理設備的內部清洗很不方便,清洗效率低。
發明內容
本實用新型針對上述技術問題,提供了一種清洗方便、高效清洗的污水處理設備。
為了解決上述技術問題,本實用新型提供了一種高效清洗的污水處理設備,其特征在于:包括罐體、一級過濾網、二級過濾網、一級過濾網滑道、二級過濾網滑道、伸縮桿電機、伸縮桿、平刮板、旋轉刮板、一級過濾網拉繩、一級過濾網拉繩轉軸、一級旋轉把手、二級過濾網拉繩、二級過濾網拉繩轉軸、二級旋轉把手、固定架、第一噴頭旋轉架、第二噴頭旋轉架、第一進水軟管、第二進水軟管、第一噴頭、第二噴頭,所述罐體的一端安裝有進水口,所述罐體的另一端安裝有出水口,所述罐體的底部設置有梯形槽,所述梯形槽的底部安裝有梯形槽蓋,所述一級過濾網滑道的下端安裝于所述罐體的內部,所述一級過濾網滑道的上端穿出所述罐體設置于所述罐體的上方,所述一級過濾網安裝于所述一級過濾網滑道上并且其靠近所述進水口設置,所述二級過濾網滑道的下端安裝于所述罐體的內部,所述二級過濾網滑道的上端穿出所述罐體設置于所述罐體的上方,所述二級過濾網安裝于所述二級過濾網滑道上并且其靠近所述出水口設置,所述二級過濾網、一級過濾網分列于所述梯形槽的兩側,所述一級過濾網拉繩轉軸安裝于所述一級過濾網滑道的上方,所述一級過濾網拉繩的一端與所述一級過濾網相連并且其另一端纏繞于所述一級過濾網拉繩轉軸上,所述一級旋轉把手與所述一級過濾網拉繩轉軸的中軸相連,所述二級過濾網拉繩轉軸安裝于所述二級過濾網滑道的上方,所述二級過濾網拉繩的一端與所述二級過濾網相連并且其另一端纏繞于所述二級過濾網拉繩轉軸上,所述二級旋轉把手與所述二級過濾網拉繩轉軸的中軸相連,所述伸縮桿的上端安裝于所述罐體的上部并且其下端穿設于所述罐體內,所述伸縮桿電機位于所述罐體的外部并且其與所述伸縮桿相連,所述平刮板位于所述罐體的內部并且其與所述伸縮桿的下端相連,所述平刮板位于所述一級過濾網、二級過濾網之間,所述旋轉刮板位于所述平刮板的下端并且旋轉刮板的一端與所述平刮板的中軸相連,所述固定架安裝于所述罐體的上方,所述固定架上安裝有掛鉤,所述第一噴頭旋轉架的一端、第二噴頭旋轉架的一端分別與所述固定架通過轉軸相連,所述第一噴頭旋轉架的另一端、第二噴頭旋轉架的另一端分別掛設于所述掛鉤上,所述第一噴頭與所述第一進水軟管相連,所述第一噴頭固定于所述第一噴頭旋轉架上,所述第一噴頭朝向所述一級過濾網設置,所述第二噴頭與所述第二進水軟管相連,所述第二噴頭固定于所述第二噴頭旋轉架上,所述第二噴頭朝向所述二級過濾網設置。
所述二級過濾網的網眼直徑小于所述一級過濾網的網眼直徑。
所述旋轉刮板的長度為平刮板長度的一半。
本實用新型的有益效果為:
1、通過變換第一噴頭旋轉架、第二噴頭旋轉架懸掛的掛鉤,從而變換第一噴頭、第二噴頭的高度和噴射角度,一級過濾網、二級過濾網的清洗非常方便、清洗效率高;
2、第一噴頭與第一進水軟管相連,第二噴頭與第二進水軟管相連,第一噴頭、第二噴頭轉動方便;
3、梯形槽用于承載污物,當梯形槽內污物較多時,打開梯形槽蓋進行清理,清理方便;
4、一級過濾網、二級過濾網用于攔截懸浮污物,減輕污物阻塞現象,結構比較簡單、生產成本比較低;
5、通過旋轉一級旋轉把手帶動一級過濾網拉繩轉軸轉動,一級過濾網拉繩纏繞于一級過濾網拉繩轉軸上,一級過濾網拉繩為一級過濾網提供上升牽引力,通過旋轉二級旋轉把手帶動二級過濾網拉繩轉軸轉動,二級過濾網拉繩纏繞于二級過濾網拉繩轉軸上,二級過濾網拉繩為二級過濾網提供上升牽引力,一級過濾網、二級過濾網的分別沿一級過濾網滑道、二級過濾網滑道上下移動,移入、移出罐體非常方便;
6、通過伸縮桿電機調控伸縮桿進行伸縮,伸縮桿帶動平刮板上下移動,平刮板在下移動過程中將一級過濾網、二級過濾網攔截的污物刮入梯形槽中,一級過濾網、二級過濾網不易阻塞;
7、旋轉刮板在旋轉過程中將平刮板底部附著的污物刮除,保持平刮板潔凈;
8、二級過濾網的網眼直徑小于一級過濾網的網眼直徑,污物攔截效果好;
9、旋轉刮板的長度為平刮板長度的一半,降低生產成本。







