申請日2015.08.20
公開(公告)日2015.12.23
IPC分類號F24F13/22
摘要
一種空調冷凝水處理利用裝置,包括與空調內機連接的冷凝集水管,所述冷凝集水管另一端連接有用于收集空調內機上冷凝水的集水箱,所述集水箱安裝在空調外機上,所述空調外機外圍設有擴散蒸發構件,所述集水箱的內部設有卷簾機構,所述擴散蒸發構件通過卷簾機構浸入冷凝集水箱。與現有技術相比,本實用新型的空調冷凝水處理裝置,可以使冷凝水充分蒸發、利用,杜絕滴漏,提高空調的散熱制冷效率,同時,還可以降低外排空氣溫度;擴散蒸發構件不影響通風,避免了冷凝水霧化處理時噴淋到散熱器翅片上易導致翅片表面結垢,粘灰堵塞,影響散熱等不良后果,同時提高空調的換熱效率,是一種新型的節能、環保裝置。
權利要求書
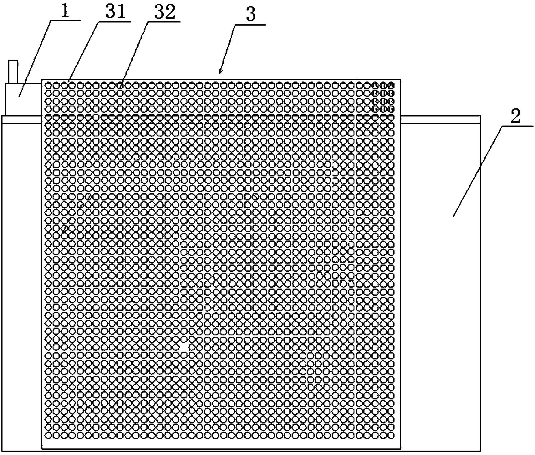
1.一種空調冷凝水處理利用裝置,其特征在于,包括與空調內機連接的冷凝集 水管,所述冷凝集水管另一端連接有用于收集空調內機上冷凝水的集水箱,所 述集水箱安裝在空調外機上,所述空調外機外圍設有擴散蒸發構件,所述集水 箱的內部設有卷簾機構,所述擴散蒸發構件通過卷簾機構浸入冷凝集水箱。
2.如權利要求1所述的空調冷凝水處理利用裝置,其特征在于,所述擴散蒸發 構件包括若干相互連通的編織纖維網線,該些編織纖維網線呈陣列狀布設在空 調外機外圍。
3.如權利要求2所述的空調冷凝水處理利用裝置,其特征在于,所述擴散蒸發 構件上設有若干通風網孔,該些通風網孔均勻的布設在擴散蒸發構件表面。
4.如權利要求1或2或3所述的空調冷凝水處理利用裝置,其特征在于,所述 擴散蒸發構件通過磁吸固定架可拆卸的安裝在空調外機的外圍。
5.如權利要求2或3所述的空調冷凝水處理利用裝置,其特征在于,所述編織 纖維網線的顏色為易于吸熱的黑色。
說明書
一種空調冷凝水處理利用裝置
技術領域
本實用新型涉及空調設備技術領域,特別涉及一種空調冷凝水處理利用裝 置。
背景技術
關于空調冷凝水利用的現有技術狀況,大都是收集來澆花、拖地、清洗, 或者是將其收集后霧化噴淋到散熱器上輔助散熱,高樓的空調往往還需要斥資 安裝專門的冷凝水管道處理,但這些方法往往有處理不方便,不能完全處理, 而霧化處理時噴淋到散熱器翅片上易導致翅片表面結垢,粘灰堵塞,影響散熱 等不良后果,在日常生活中給使用者帶來了一定的不便。
實用新型內容
本實用新型目的在于提供一種空調冷凝水處理利用裝置,以解決現有技術 空調內機冷凝水處理不方便,以及霧化處理時噴淋到散熱器翅片上易導致翅片 表面結垢,粘灰堵塞,影響散熱等不良后果的技術性缺陷。
本實用新型的技術方案是這樣實現的:
一種空調冷凝水處理利用裝置,包括與空調內機連接的冷凝集水管,所述 冷凝集水管另一端連接有用于收集空調內機上冷凝水的集水箱,所述集水箱安 裝在空調外機上,所述空調外機外圍設有擴散蒸發構件,所述集水箱的內部設 有卷簾機構,所述擴散蒸發構件通過卷簾機構浸入冷凝集水箱。
優選地,所述擴散蒸發構件包括若干相互連通的編織纖維網線,該些編織 纖維網線呈陣列狀布設在空調外機外圍。
優選地,所述擴散蒸發構件上設有若干通風網孔,該些通風網孔均勻的布 設在擴散蒸發構件表面。
優選地,所述擴散蒸發構件通過磁吸固定架可拆卸的安裝在空調外機的外 圍。
優選地,所述編織纖維網線的顏色為易于吸熱的黑色。
與現有技術相比,本實用新型有以下有益效果:
1、本實用新型的空調冷凝水處理利用裝置,通過冷凝集水箱連接擴散蒸發 構件,將冷凝水在室外蒸發掉,避免了冷凝水霧化處理時噴淋到散熱器翅片上 易導致翅片表面結垢,粘灰堵塞,影響散熱等不良后果,同時提高了空調的使 用壽命;
2、本實用新型的空調冷凝水處理利用裝置,具有無動力消耗、結構簡單、 不對室外機做任何改動、長期使用不僅能避免無任何機構結垢、堵塞等不良后 果,同時停機后還可自發將剩余水吸干、自然蒸發,避免了冷凝水留存發臭, 長青苔等弊端。







