申請日2015.08.20
公開(公告)日2015.12.23
IPC分類號C02F1/00
摘要
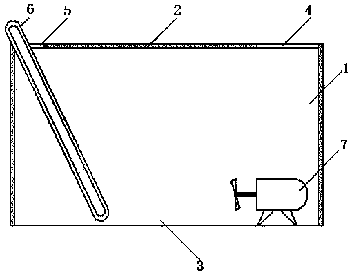
一種污水池的格柵除污機,由污水池、格柵除污機和潛水攪拌推進器組成,污水池為有池蓋的半封閉式結構,池蓋的一側有污物輸出口,另一側有檢查檢修進出口;格柵除污機分為除污面和回轉面,除污面朝向污水池的另一側傾斜安裝在污物輸出口和池底部之間;潛水攪拌推進器包括潛水電機和攪拌推進槳葉,潛水攪拌推進器安裝在格柵除污機對面側的池底部,攪拌推進槳葉的推進方向朝向格柵除污機的除污面。
權利要求書
1.一種污水池的格柵除污機,由污水池、格柵除污機和潛水攪拌推進器組成,其特征是:污水池為有池蓋的半封閉式結構,池蓋的一側有污物輸出口,另一側有檢查檢修進出口;格柵除污機分為除污面和回轉面,除污面朝向污水池的另一側傾斜安裝在污物輸出口和池底部之間;潛水攪拌推進器包括潛水電機和攪拌推進槳葉,潛水攪拌推進器安裝在格柵除污機對面側的池底部,攪拌推進槳葉的推進方向朝向格柵除污機的除污面。
說明書
一種污水池的格柵除污機
技術領域
本實用新型涉及一種污水池的格柵除污機,屬污水處理工程技術領域。
背景技術
漂染化工企業會產生許多污水,這些污水正常由企業自設污水池集中后進行初級處理,然后經管道輸送到污水處理廠處理達標后排放。傳統的初級處理是在污水池內安裝壓縮氣體輸入管道,將壓縮氣體引入到污水池底部,對污水進行攪拌和氧化反應。隨著企業的發展和產品的更新換代,收集到污水池污水的固體物含量在逐步增加,加之污水量的增加,由壓縮空氣攪拌的方式在不斷顯現力不從心,輸送到污水處理廠的污水嚴重超出合同標準。
發明內容
為解決上述壓縮空氣攪拌污水池的技術要求,本實用新型提供一種污水池的格柵除污機。
本實用新型所采用的技術方案是:一種污水池的格柵除污機,由污水池、格柵除污機和潛水攪拌推進器組成,污水池為有池蓋的半封閉式結構,池蓋的一側有污物輸出口,另一側有檢查檢修進出口;格柵除污機分為除污面和回轉面,除污面朝向污水池的另一側傾斜安裝在污物輸出口和池底部之間;潛水攪拌推進器包括潛水電機和攪拌推進槳葉,潛水攪拌推進器安裝在格柵除污機對面側的池底部,攪拌推進槳葉的推進方向朝向格柵除污機的除污面。
本實用新型的有益效果是:由攪拌推進器在污水池的池底部對污水實施攪拌推進,制造池內污水的循環流動;格柵除污機回轉運行,連續對污水中的污物進行清除,可有效滿足向污水處理廠的達標輸送。







