公布日:2024.12.13
申請日:2024.09.06
分類號:G01N21/47(2006.01)I;G01N21/49(2006.01)I;G01N21/01(2006.01)I
摘要
本申請涉及污泥含水率檢測技術領域,提供一種污泥含水率檢測裝置。一種污泥含水率檢測裝置,包括基座、透光模塊、漫射光發射模塊、漫射光探測模塊和電控系統,透光漫射光發射模塊向透光模塊垂直發射漫射光,將所述漫射光射入待測污泥表面,漫射光探測模塊接收漫射光在待測污泥中漫反射進入所述透光模塊中的漫反射光,并將漫反射光轉換成電信號傳輸至電控系統,電控系統基于光電信號與漫反射原理計算得到污泥含水率,實現在多種污泥場景下,對污泥中含水率的實時在線精準測量。

權利要求書
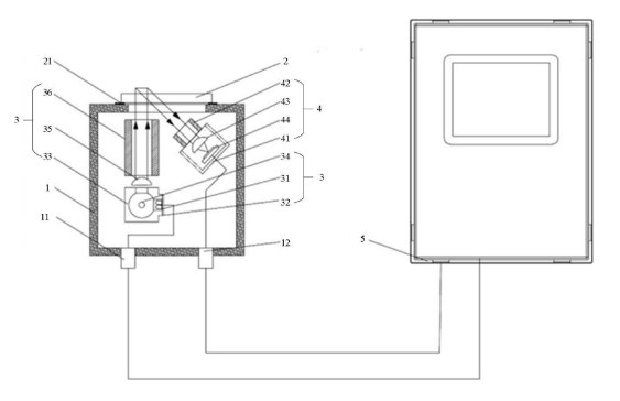
1.一種污泥含水率檢測裝置,其特征在于,包括:基座(1);透光模塊(2),設置在所述基座(1)上方;漫射光發射模塊(3),設置在所述基座(1)內部的一端,垂直固定在所述透光模塊(2)下方,用于向所述透光模塊(2)垂直發射漫射光,將所述漫射光射入待測污泥表面;漫射光探測模塊(4),設置在所述基座(1)內部中遠離所述漫射光發射模塊(3)的另一端,傾斜固定在所述透光模塊(2)下方,用于接收所述漫射光在所述待測污泥中漫反射進入所述透光模塊(2)中的漫反射光;電控系統(5),有線連接所述漫射光發射模塊(3)和所述漫射光探測模塊(4),用于激發所述漫射光發射模塊(3)發射漫射光,接收所述漫射光探測模塊(4)接收的漫反射光并將所述漫反射光轉化后的光電信號,基于所述漫射光與所述光電信號生成檢測數據,得到檢測結果。
2.根據權利要求1所述的污泥含水率檢測裝置,其特征在于,所述基座(1)下方設有第一插頭母座(11)與第二插頭母座(12),所述第一插頭母座(11)一端有線連接所述漫射光發射模塊(3),另一端有線連接所述電控系統(5);所述第二插頭母座(12)一端有線連接所述漫射光探測模塊(4),另一端有線連接所述電控系統(5)。
3.根據權利要求2所述的污泥含水率檢測裝置,其特征在于,所述漫射光發射模塊(3)包括發光光源(31)、驅動電路板(32)、積分球(33)、光源探測器(34)、發射透鏡(35)以及第一光闌(36),所述發光光源(31)設置在所述驅動電路板(32)上,所述發光光源(31)設置在所述積分球(33)一側,所述積分球(33)將發光光源的光進行多次反射,形成均勻的漫射光出射,積分球(33)一側設有檢測光照的光源探測器(34),所述光源探測器將所述積分球(33)發出的漫射光轉換成光電信號,所述發射透鏡(35)設置在所述積分球(33)上方,用于將所述均勻漫射光成像到透光模塊(2)與污泥的接觸面,所述第一光闌(36)設置在所述發射透鏡(35)上方,用于將所述漫射光限制到所述透光模塊(2)的測量區域。
4.根據權利要求3所述的污泥含水率檢測裝置,其特征在于,所述驅動電路板(32)與所述第一插頭母座(11)有線連接。
5.根據權利要求4所述的污泥含水率檢測裝置,其特征在于,所述漫射光探測模塊(4)包括屏蔽外殼(41)、第二光闌(42)、接收透鏡(43)以及光電接收器(44),所述第二光闌(42)設置在所述屏蔽外殼(41)上方,所述接收透鏡(43)和所述光電接收器(44)安裝在所述屏蔽外殼(41)內部,且所述接收透鏡(43)設置在所述第二光闌(42)與所述光電接收器(44)之間,所述第二光闌(42)用于限制所述發射光的雜散光,所述接收透鏡(43)將所述污泥漫反射光成像至所述光電接收器(44),所述光電接收器(44)生成與漫反射光成正比的光電信號并傳輸至所述電控系統(5)。
6.根據權利要求5所述的污泥含水率檢測裝置,其特征在于,所述光電接收器(44)與所述第二插頭母座(12)有線連接。
7.根據權利要求6所述的污泥含水率檢測裝置,其特征在于,所述電控系統(5)包括CPU(51)以及與所述CPU(51)連接的光源驅動模塊(52)、信號處理模塊(53)、顯示模塊以及通訊模塊(54),所述光源驅動模塊(52)與所述第一插頭母座(11)有線連接,控制所述驅動電路板(32)激發所述發光光源(31)發出漫射光,第一插頭母座(11)同時傳輸光源探測器(34)的光電信號;所述第二插頭母座傳輸所述光電接收器(44)將接收到的漫反射光轉換成的光電信號至信號處理模塊(53);所述信號處理模塊(53)將所述光電信號處理為數字信號,并輸出至CPU(51),所述CPU(51)對所述信號進行信號分析,生成所述污泥含水率檢測數據,所述顯示模塊用于顯示所述檢測數據;所述通訊模塊(54)用于外部通訊傳輸所述檢測數據。
8.根據權利要求7所述的污泥含水率檢測裝置,其特征在于,所述信號處理模塊(53)包括信號濾波放大模塊(531)以及A/D轉換模塊(532),所述信號濾波放大模塊(531)將所述光電信號放大為目標電信號,并將所述目標電信號傳輸至A/D轉換模塊(532);所述A/D轉換模塊(532)將所述目標電信號轉換為數字信號,并將所述數字信號傳輸至所述CPU(51)。
9.根據權利要求8所述的污泥含水率檢測裝置,其特征在于,所述信號輸出模塊包括4-20mA模塊(541)和RS485模塊(542),用于與外部客戶端設備通訊。
10.根據權利要求1所述的污泥含水率檢測裝置,其特征在于,所述透光模塊(2)與所述基座(1)之間設有氟膠密封圈(21)。
發明內容
有鑒于此,本申請提供一種污泥含水率檢測裝置,通過漫反射原理測量污泥的漫反射光,來實現污泥含水率的精準測量,用于解決現有污泥含水率在線檢測儀測量誤差的技術問題。
本申請提供了污泥含水率檢測裝置,采用如下的技術方案:一種污泥含水率檢測裝置,包括:基座;透光模塊,設置在所述基座上方;漫射光發射模塊,設置在所述基座內部的一端,垂直固定在所述透光模塊下方,用于向所述透光模塊垂直發射漫射光,將所述漫射光射入待測污泥表面;漫射光探測模塊,設置在所述基座內部中遠離所述漫射光發射模塊的另一端,傾斜固定在所述透光模塊下方,用于接收所述漫射光在所述待測污泥中漫反射進入所述透光模塊中的漫反射光;電控系統,有線連接所述漫射光發射模塊和所述漫射光探測模塊,用于激發所述漫射光發射模塊發射漫射光,接收所述漫射光探測模塊接收的漫反射光并將所述漫反射光轉化后的光電信號,基于所述漫射光與所述光電信號生成檢測數據,得到檢測結果。
通過采用上述技術方案,采用漫射光垂直發射到污泥表面,有效避免了光線直接反射導致的測量誤差,提高了測量的準確性;漫射光探測模塊傾斜設置,能更全面地捕捉污泥內部因水分含量不同而產生的反射光,增強了檢測的靈敏度和可靠性;電控系統智能化控制整個過程,從激發光源到接收信號,基于漫射光原理對光信號進行分析生成精準的檢測結果,實現了自動化對污泥含水率的在線檢測,提高了工作效率與檢測精度。
可選的,所述基座下方設有第一插頭母座與第二插頭母座,所述第一插頭母座一端有線連接所述漫射光發射模塊,另一端有線連接所述電控系統;所述第二插頭母座一端有線連接所述漫射光探測模塊,另一端有線連接所述電控系統。
通過采用上述技術方案,第一插頭母座作為漫射光發射模塊與電控系統的橋梁,可以通過電控系統實時在線控制漫射光發射模塊發射漫射光,第二插頭母座作為漫射光探測模塊與電控系統的橋梁,可以通過電控系統實時在線獲取漫射光探測模塊檢測到的反射光,確保信號傳輸的高效與準確的同時,實現了對污泥含水率的實時在線檢測。
可選的,所述漫射光發射模塊包括發光光源、驅動電路板、積分球、光源探測器、發射透鏡以及第一光闌,所述發光光源設置在所述驅動電路板上,所述發光光源設置在所述積分球的一側,所述積分球將發光光源的光進行多次反射,形成均勻光出射,積分球一側設有檢測光照的光源探測器,所述光源探測器將所述積分球發出的漫射光轉換成光電信號,所述發射透鏡設置在所述積分球上方,用于將所述均勻漫射光成像到透光表面與污泥的接觸面,所述第一光闌設置在所述發射透鏡上方,用于將所述漫射光限制到所述透光模塊的測量區域。
通過采用上述技術方案,驅動電路板可激發發光光源發射處漫射光,且積分球設置在發射光光源一側的入口處,漫射光可從積分球的入光口進入積分球內部,由積分球內部的光源探測器捕捉漫射光,對漫射光的衰減進行監測修正,光源探測器在積分球內部實時監測光照情況,反饋調節發光光源,確保光強穩定;發射透鏡對漫射光進行進一步聚焦并優化漫射光,使其更加集中地射向透光模塊,提高了光能利用率;第一光闌發射的漫射光的精確導向,減少了光線的散射和損失,限制均勻的漫射光發射到能夠精確測量的測量區域,確保光源的穩定性和均勻性,增強了檢測信號的強度和清晰度,提高了對污泥含水率的測量精度。
可選的,所述驅動電路板與所述第一插頭母座有線連接。
通過采用上述技術方案,電控系統能夠精確控制驅動電路板,進而調節發光光源的亮度、開關等參數,實現對光源輸出的精細調控,在不同污泥場景中調節不同的漫射光光強進行檢測,提高了對污泥含水率檢測的靈活性。
可選的,所述漫射光探測模塊包括屏蔽外殼、第二光闌、接收透鏡以及光電接收器,所述第二光闌設置在所述屏蔽外殼上方,所述接收透鏡和所述光電接收器安裝在所述屏蔽外殼內部,且所述接收透鏡設置在所述第二光闌與所述光電接收器之間,所述第二光闌用于限制所述發射光的散雜光,所述接收透鏡將所述漫反射光成像至所述光電接收器,所述光電接收器生成與漫反射光信號成正比的光電信號并傳輸至所述電控系統。
通過采用上述技術方案,通過屏蔽外殼隔絕了外部環境中的雜散光、電磁干擾等不利因素,確保了探測過程中發射光的純凈度;第二光闌精準地限制了入射光的角度和范圍,僅允許特定方向的發射光進入探測模塊,從而有效減少了非目標光源的干擾,提升了探測的精準性;接收透鏡將反射光高效聚焦至光電接收器上,增強了光信號的強度,使得即便在較弱光環境下也能獲得清晰的信號;光電接收器可以將接收到的光信號轉換為電信號,并實時傳輸至電控系統進行處理,確保了整個檢測裝置的快速響應能力和數據處理效率。提高了檢測裝置的抗干擾能力與光電轉換效率,實現對污泥含水率的高精度、高靈敏度檢測。
可選的,所述光電接收器與所述第二插頭母座有線連接。
通過采用上述技術方案,電控系統可以實時在線獲取到光電接收器傳輸的光信號,對污泥含水率的進行實時測量。
可選的,所述電控系統包括CPU以及與所述CPU連接的光源驅動模塊、信號處理模塊、顯示模塊以及通訊模塊,所述光源驅動模塊與所述第一插頭母座有線連接,控制所述驅動電路板激發所述發光光源發出漫射光;所述第一插頭母座同時傳輸光源探測器的光電信號;所述第二插頭母座傳輸所述光電接收器的光電信號至信號處理模塊;所述信號處理模塊將所述光電信號處理為數字信號,并輸出至CPU,所述CPU對所述信號進行信號分析,生成所述檢測數據,所述顯示模塊用于顯示所述檢測數據;所述通訊模塊用于外部通訊傳輸所述檢測數據。
通過采用上述技術方案,通過CPU為核心協調各模塊工作,確保了光源的穩定激發與光信號的精確處理,其中光源驅動模塊與第一插頭母座的有線連接,實現了對發光光源的精準控制,確保了漫射光的有效發出;光源恒流調制模塊與第二插頭母座的有線連接,則確保了光電接收器接收到的光信號能夠被穩定調制并傳輸至信號處理模塊,提升信號質量;信號處理模塊將光信號轉換為模擬信號,CPU對這些信號進行深度分析,快速準確地生成污泥含水率的檢測數據,并通過顯示模塊直觀展示檢測結果,便于用戶即時了解污泥狀態,同時,通訊模塊支持外部通訊,能夠實時傳輸檢測數據至遠程監控中心或與其他系統聯動。提高了污泥含水率檢測的精度與效率。
可選的,所述信號處理模塊包括信號濾波放大模塊以及A/D轉換模塊,所述信號濾波放大模塊將所述光電信號放大為目標電信號,并將所述目標電信號傳輸至A/D轉換模塊;所述A/D轉換模塊將所述目標電信號轉換為數字信號,并將所述數字信號傳輸至所述CPU。
通過采用上述技術方案,通過信號濾波放大模塊去除光電信號中的噪聲和干擾,增強了光電信號的清晰度和可靠性,并將其放大至適合處理的水平,通過A/D轉換模塊則將放大后的光電信號轉換為CPU可識別的數字信號,提高信號的質量與可識別性,增強系統的抗干擾能力和穩定性,確保了CPU能夠接收到準確、清晰的信號,從而更精確地分析污泥含水率,提升整個檢測裝置的檢測準確性和可靠性。
可選的,所述信號輸出模塊包括4-20mA模塊和RS485模塊,用于與外部客戶端設備通訊。
通過采用上述技術方案,信號輸出模塊中集成的4-20mA模塊和RS485模塊,為污泥含水率檢測設備與外部客戶端設備之間的通訊提供了靈活多樣的選擇,其中4-20mA模塊采用模擬信號傳輸方式,具有傳輸穩定、抗干擾能力強等特點,適用于對傳輸距離要求不高的場景,RS485模塊則支持數字信號傳輸,具有傳輸距離遠、傳輸速率高、支持多節點通信等優勢,能夠滿足復雜網絡環境下的通訊需求。外部客戶端設備可以根據實際需求選擇合適的通訊方式,實現與污泥含水率檢測設備的遠程通訊,在不同區域可以實時獲取到污泥含水率的檢測結果。
可選的,所述透光模塊與所述基座之間設有氟膠密封圈。
通過采用上述技術方案,氟膠密封圈設置在透光模塊與基座之間,有效提升了裝置的密封性能,防止了外部水分、污泥雜質等進入裝置內部,保障各個元件的穩定運行,同時增強了設備的耐用性和維護便利性。
綜上所述,本申請包括以下至少一種有益技術效果:1.采用漫射光原理進行測量,通過漫射光發射模塊與漫射光探測模塊結合測量,確保了光源的穩定性和光信號的純凈度,減少了外界干擾對檢測結果的影響,提高了測量的準確性。
2.通過電控系中的多個功能模塊,實現對發光光源的精準控制和光信號的實時接收與處理,實現不同污泥測量場景的需求,快速調整檢測參數,實現實時在線檢測,并將對應的檢測結果的顯示且可被外部客戶端實時在線查詢。
3.在透光模塊與基座之間設置氟膠密封圈,該裝置有效隔絕了外部環境中的腐蝕性物質和雜質,提高了設備的環境適應性。這種密封設計不僅延長了設備的使用壽命,還減少了因環境因素導致的故障率,降低了維護成本。
(發明人:呂偉;王釗;曠辰陽;黎永祺;鐘敏;陳廣;張韶華)






