公布日:2023.08.15
申請日:2023.05.10
分類號:C02F3/28(2023.01)I;C02F3/00(2023.01)I
摘要
本發明公開了一種生物澄清池防止浮泥的方法,池體內自下而上依次設置有布水排泥區、污泥懸浮區和澄清區;布水排泥區內設有布水排泥裝置,澄清區內設有分離裝置;當檢測到出水端的懸浮物濃度大于或等于預設的懸浮物濃度時,執行排泥動作;當檢測到出水端的懸浮物濃度小于預設的懸浮物濃度,且檢測到污泥懸浮區的污泥沉降比大于或等于預設的污泥沉降比時,執行排泥動作;當檢測到出水端的水面有浮泥時,執行沖洗動作;當同時達到排泥動作和沖洗動作的執行條件時,先執行沖洗動作,后執行排泥動作。采用本發明,能夠有效地解決活性污泥因污泥膨脹、污泥腐化等原因導致的浮泥問題,保證出水質量。

權利要求書
1.一種生物澄清池防止浮泥的方法,其特征在于,包括以下步驟:當檢測到出水端的懸浮物濃度大于或等于預設的懸浮物濃度時,執行排泥動作;當檢測到出水端的懸浮物濃度小于預設的懸浮物濃度,且檢測到污泥懸浮區的污泥沉降比大于或等于預設的污泥沉降比時,執行排泥動作;當檢測到出水端的水面有浮泥時,執行沖洗動作;當同時達到排泥動作和沖洗動作的執行條件時,先執行沖洗動作,后執行排泥動作;其中,所述排泥動作是將池體底部濃縮污泥排出池外,直至出水端的懸浮物濃度小于預設的懸浮物濃度,且污泥懸浮區的污泥沉降比小于預設的污泥沉降比時,停止排泥,恢復正常運行;所述沖洗動作是利用氣洗或水沖或氣水沖將出水端的水面浮泥推送至集水槽,浮泥排凈后恢復正常運行。
2.根據權利要求1所述的生物澄清池防止浮泥的方法,其特征在于,所述排泥動作的具體步驟為:先關閉進水閥,停止進水,沉淀1min-20min后打開排泥閥,將池體底部濃縮污泥排出;當出水端的懸浮物濃度小于預設的懸浮物濃度,且污泥懸浮區的污泥沉降比小于預設的污泥沉降比時,恢復正常運行。
3.根據權利要求1所述的生物澄清池防止浮泥的方法,其特征在于,所述沖洗動作的具體步驟為:先關閉進水閥和排泥閥,利用推流管噴出的水流將出水端的水面浮泥推送至集水槽,并由廢水排放管排出池外,浮泥排凈后恢復正常運行。
4.根據權利要求1所述的生物澄清池防止浮泥的方法,其特征在于,所述沖洗動作的具體步驟為:先關閉進水閥和排泥閥,利用曝氣裝置釋放的氣體,氣體上升至出水端的水面將浮泥打散后,停止進氣,然后打開進水閥,利用進水將出水端中的泥水混合液推送至集水槽,并由廢水排放管排出池外,浮泥排凈后恢復正常運行。
5.根據權利要求1所述的生物澄清池防止浮泥的方法,其特征在于,所述預設的污泥沉降比是在生物澄清池調試啟動成功后,根據出水端的懸浮物濃度或者累計進水流量信息確定。
6.根據權利要求5所述的生物澄清池防止浮泥的方法,其特征在于,所述預設的污泥沉降比的確定步驟具體為:同時采集出水端的懸浮物濃度和污泥懸浮區的活性污泥的污泥沉降比,將數據建成數據庫,當出水腔的懸浮物濃度達到預設的懸浮物濃度時,記錄此時污泥懸浮區的活性污泥的污泥沉降比,然后執行排泥動作;連續記錄至少兩次執行排泥動作前的污泥沉降比,取平均值,即為所述預設的污泥沉降比;或者,同時采集累計進水流量和污泥懸浮區的污泥沉降比,將數據建成數據庫,當累計進水流量對應的出水端的懸浮物濃度出現拐點時,記錄此時污泥懸浮區的污泥沉降比,然后執行排泥動作;連續記錄至少兩次執行排泥動作前的污泥沉降比,取平均值,即為所述預設的污泥沉降比;其中,所述拐點為出水端的懸浮物濃度由小變大再變小對應的最大數值,且所述拐點不能超過所述預設的懸浮物濃度。
7.根據權利要求6所述的生物澄清池防止浮泥的方法,其特征在于,所述預設的懸浮物濃度為30mg/L~60mg/L。
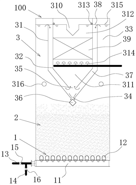
8.根據權利要求1至7任一項所述的生物澄清池防止浮泥的方法,其特征在于,所述生物澄清池包括池體,所述池體內自下而上依次設置有布水排泥區、污泥懸浮區和澄清區;所述布水排泥區內設置有布水排泥裝置,所述澄清區內設置有分離裝置,所述分離裝置內設有填料,所述填料將所述分離裝置的內腔分隔為位于下部的進水腔和位于上部的出水腔,所述出水腔的頂部設有集水槽;所述分離裝置包括第一分離斗和第二分離斗,所述第一分離斗與所述池體之間形成有與所述污泥懸浮區連通的輸送通道,所述第二分離斗置于所述第一分離斗內,所述第一分離斗的頂部低于所述第二分離斗的頂部,所述第一分離斗和所述第二分離斗均呈上大下小的梯形槽結構,所述第一分離斗的梯形槽底部設有第一排泥口,所述第二分離斗的梯形槽底部設有第二排泥口,所述第一排泥口的下方設有三相分離器,所述第一分離斗與所述第二分離斗之間形成有進水通道,所述進水通道的上端設有與所述輸送通道連通的進水口,所述進水通道的下端分別與所述第二排泥口和所述第二排泥口連通,所述填料和所述集水槽均設置在所述第二分離斗內,所述填料將所述第二分離斗的內腔分隔為位于下部的進水腔和位于上部的出水腔,所述進水腔內且靠近所述填料的一側設有既能對填料進行氣洗又能將出水腔的水面浮泥打散的曝氣裝置,所述出水腔的兩側布置有能將所述出水腔的水面浮泥推至所述集水槽的推流管,所述集水槽并聯連接有能將上清液排出所述池體的清水排放管以及能將浮泥廢水排出所述池體的廢水排放管;所述清水排放管上設有第一排水閥,所述廢水排放管上設有第二排水閥。
9.根據權利要求8所述的生物澄清池防止浮泥的方法,其特征在于,所述布水排泥裝置包括布水渠和若干平行設置的布水管,所述布水渠通過若干第一連通管與各所述布水管一一對應連接,各所述布水管上設有若干均勻分布且與所述污泥懸浮區連通的通孔,所述布水渠的一端并聯連接有進水管和排泥管,所述布水渠的另一端封閉;所述進水管上設有進水閥,所述排泥管上設有排泥閥。
10.根據權利要求9所述的生物澄清池防止浮泥的方法,其特征在于,所述池體的底部還設有布氣渠,所述布氣渠通過若干第二連通管與各所述布水管一一對應連接,各所述布水管上設有若干排氣孔;所述布氣渠的一端設有進氣管,其另一端封閉,所述進氣管上設有進氣閥。
發明內容
本發明的目的是提供一種生物澄清池防止浮泥的方法,能夠有效地解決活性污泥因污泥膨脹、污泥腐化等原因導致的浮泥問題,保證出水質量。
為了解決上述技術問題,本發明采用的技術方案如下:
一種生物澄清池防止浮泥的方法,其包括以下步驟:當檢測到出水端的懸浮物濃度大于或等于預設的懸浮物濃度時,執行排泥動作;
當檢測到出水端的懸浮物濃度小于預設的懸浮物濃度,且檢測到污泥懸浮區的污泥沉降比大于或等于預設的污泥沉降比時,執行排泥動作;
當檢測到出水端的水面有浮泥時,執行沖洗動作;
當同時達到排泥動作和沖洗動作的執行條件時,先執行沖洗動作,后執行排泥動作;
其中,所述排泥動作是將池體底部濃縮污泥排出池外,直至出水端的懸浮物濃度小于預設的懸浮物濃度,且污泥懸浮區的污泥沉降比小于預設的污泥沉降比時,停止排泥,恢復正常運行;
所述沖洗動作是利用氣洗或水沖或氣水沖將出水端的水面浮泥推送至集水槽,浮泥排凈后恢復正常運行。
作為本發明的優選方案,所述排泥動作的具體步驟為:先關閉進水閥,停止進水,沉淀1min-20min后打開排泥閥,將池體底部濃縮污泥排出;當出水端的懸浮物濃度小于預設的懸浮物濃度,且污泥懸浮區的污泥沉降比小于預設的污泥沉降比時,恢復正常運行。
作為本發明的優選方案,所述沖洗動作的具體步驟為:先關閉進水閥和排泥閥,利用推流管噴出的水流將出水端的水面浮泥推送至集水槽,并由廢水排放管排出池外,浮泥排凈后恢復正常運行;
作為本發明的優選方案,所述沖洗動作的具體步驟為:先關閉進水閥和排泥閥,利用曝氣裝置釋放的氣體,氣體上升至出水端的水面將浮泥打散后,停止進氣,然后打開進水閥,利用進水將出水端中的泥水混合液推送至集水槽,并由廢水排放管排出池外,浮泥排凈后恢復正常運行。
作為本發明的優選方案,所述污泥沉降比是取自污泥懸浮區的活性污泥進行30min靜置沉降得到的污泥體積百分比。
作為本發明的優選方案,所述預設的污泥沉降比是在生物澄清池調試啟動成功后,根據出水端的懸浮物濃度或者累計進水流量信息確定。
作為本發明的優選方案,所述預設的污泥沉降比的確定步驟具體為:同時采集出水端的懸浮物濃度和污泥懸浮區的活性污泥的污泥沉降比,將數據建成數據庫,當出水腔的懸浮物濃度達到預設的懸浮物濃度時,記錄此時污泥懸浮區的活性污泥的污泥沉降比,然后執行排泥動作;連續記錄至少兩次執行排泥動作前的污泥沉降比,取平均值,即為所述預設的污泥沉降比;
或者,同時采集累計進水流量和污泥懸浮區的污泥沉降比,將數據建成數據庫,當累計進水流量對應的出水端的懸浮物濃度出現拐點時,記錄此時污泥懸浮區的污泥沉降比,然后執行排泥動作;連續記錄至少兩次執行排泥動作前的污泥沉降比,取平均值,即為所述預設的污泥沉降比;其中,所述拐點為出水端的懸浮物濃度由小變大再變小對應的最大數值,且所述拐點不能超過所述預設的懸浮物濃度。
作為本發明的優選方案,所述預設的懸浮物濃度為30mg/L~60mg/L。
作為本發明的優選方案,所述生物澄清池包括池體,所述池體內自下而上依次設置有布水排泥區、污泥懸浮區和澄清區;所述布水排泥區內設置有布水排泥裝置,所述澄清區內設置有分離裝置,所述分離裝置內設有填料,所述填料將所述分離裝置的內腔分隔為位于下部的進水腔和位于上部的出水腔,所述出水腔的頂部設有集水槽;
所述分離裝置包括第一分離斗和第二分離斗,所述第一分離斗與所述池體之間形成有與所述污泥懸浮區連通的輸送通道,所述第二分離斗置于所述第一分離斗內,所述第一分離斗的頂部低于所述第二分離斗的頂部,所述第一分離斗和所述第二分離斗均呈上大下小的梯形槽結構,所述第一分離斗的梯形槽底部設有第一排泥口,所述第二分離斗的梯形槽底部設有第二排泥口,所述第一排泥口的下方設有三相分離器,所述第一分離斗與所述第二分離斗之間形成有進水通道,所述進水通道的上端設有與所述輸送通道連通的進水口,所述進水通道的下端分別與所述第二排泥口和所述第二排泥口連通,所述填料和所述集水槽均設置在所述第二分離斗內,所述填料將所述第二分離斗的內腔分隔為位于下部的進水腔和位于上部的出水腔,所述進水腔內且靠近所述填料的一側設有既能對填料進行氣洗又能將出水腔的水面浮泥打散的曝氣裝置,所述出水腔的兩側布置有能將所述出水腔的水面浮泥推至所述集水槽的推流管,所述集水槽并聯連接有能將上清液排出所述池體的清水排放管以及能將浮泥廢水排出所述池體的廢水排放管;所述清水排放管上設有第一排水閥,所述廢水排放管上設有第二排水閥。
作為本發明的優選方案,所述布水排泥裝置包括布水渠和若干平行設置的布水管,所述布水渠通過若干第一連通管與各所述布水管一一對應連接,各所述布水管上設有若干均勻分布且與所述污泥懸浮區連通的通孔,所述布水渠的一端并聯連接有進水管和排泥管,所述布水渠的另一端封閉;所述進水管上設有進水閥,所述排泥管上設有排泥閥。
作為本發明的優選方案,所述池體的底部還設有布氣渠,所述布氣渠通過若干第二連通管與各所述布水管一一對應連接,各所述布水管上設有若干排氣孔;所述布氣渠的一端設有進氣管,其另一端封閉,所述進氣管上設有進氣閥。
實施本發明提供的一種生物澄清池防止浮泥的方法,與現有技術相比,其有益效果在于:
本發明能夠實時獲取污泥懸浮區的污泥沉降比和出水端的懸浮物濃度,根據預設定的數值控制污泥懸浮區的活性污泥排出,并且建立數據庫,通過大數據調取不同季節對應的預設的污泥沉降比,從而更好的實現智能化防控活性污泥因污泥膨脹、污泥腐化等原因導致的浮泥問題;同時,還能夠通過對出水端的水面浮泥實時監測及干預,一旦出現水面浮泥現象,能夠優先執行沖洗動作,以免造成出水變差的情況。此外,僅僅通過出水端的懸浮物濃度作為強制排泥防止浮泥的控制條件并不保險,主要是因為出水懸浮物是相對滯后的指標,出水懸浮物濃度很容易超過預設值甚至是后續生化單元進水要求,導致后續處理單元不能正常運行,因此增加了污泥沉降比作為判定條件,能夠更加精準地控制浮泥問題,避免出水端的懸浮物濃度判定滯后的問題。
(發明人:伍波;葉昌明;金文標;彭金城;賴正泉;尹林;朱紅青;鄒祝琪;郭瑞;汪洋)






