公布日:2024.03.15
申請日:2023.12.26
分類號:G01N1/14(2006.01)I
摘要
本發明涉及污水取樣領域,公開了一種污水多水層取樣分類收集綜合裝置,包括:污水取樣主架,所述污水取樣主架頂部固定設置有污水取樣支架;取樣分類調節組件,所述取樣分類調節組件設置在污水取樣主架和污水取樣支架上,所述取樣分類調節組件包括圓筒一、污水取樣收集筒、連桿、操控螺桿一、定位頭一、圓筒二、操控螺桿二和定位頭二,所述圓筒一固定安裝于污水取樣主架的底部,所述污水取樣收集筒滑動安裝于圓筒一內,所述連桿滑動安裝于圓筒二內。本發明具有以下優點和效果:可以能夠根據實際需要對不同深度水層之間的取樣距離進行調節,方便對不同深度水層的污水進行取樣收集分類處理。

權利要求書
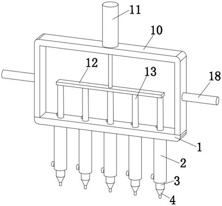
1.一種污水多水層取樣分類收集綜合裝置,其特征在于,包括:污水取樣主架(1),所述污水取樣主架(1)頂部固定設置有污水取樣支架(10);取樣分類調節組件,所述取樣分類調節組件設置在污水取樣主架(1)和污水取樣支架(10)上,所述取樣分類調節組件包括圓筒一(2)、污水取樣收集筒(3)、連桿(6)、操控螺桿一(7)、定位頭一(8)、圓筒二(13)、操控螺桿二(14)和定位頭二(15),所述圓筒一(2)固定安裝于污水取樣主架(1)的底部,所述污水取樣收集筒(3)滑動安裝于圓筒一(2)內,所述連桿(6)滑動安裝于圓筒二(13)內,所述操控螺桿一(7)和操控螺桿二(14)分別螺紋安裝在圓筒一(2)和圓筒二(13)上,所述操控螺桿一(7)端部與定位頭一(8)固定連接,所述操控螺桿二(14)端部與定位頭二(15)固定連接,所述污水取樣收集筒(3)上開設有多個定位槽一(9),所述連桿(6)上開設有多個定位槽二(16),所述定位頭一(8)和定位頭二(15)分別與定位槽一(9)和定位槽二(16)相卡裝。
2.根據權利要求1所述的一種污水多水層取樣分類收集綜合裝置,其特征在于,所述取樣分類調節組件還包括活塞頭(5)、污水取樣頭(4)、電動伸縮桿(11)和推板(12),所述活塞頭(5)滑動密封安裝于污水取樣收集筒(3)內,所述連桿(6)底端與活塞頭(5)固定連接,所述污水取樣頭(4)頂端與污水取樣收集筒(3)固定連接,所述電動伸縮桿(11)固定安裝于污水取樣支架(10)的頂部,所述電動伸縮桿(11)的伸縮端與推板(12)固定連接,所述推板(12)底部與圓筒二(13)固定連接。
3.根據權利要求1所述的一種污水多水層取樣分類收集綜合裝置,其特征在于,所述污水取樣主架(1)頂部開設有多個通孔(17),連桿(6)滑動安裝于通孔(17)內。
4.根據權利要求1所述的一種污水多水層取樣分類收集綜合裝置,其特征在于,所述污水取樣支架(10)上固定設置有手持桿(18)。
5.根據權利要求2所述的一種污水多水層取樣分類收集綜合裝置,其特征在于,所述推板(12)底部與連桿(6)相接觸。
6.根據權利要求1所述的一種污水多水層取樣分類收集綜合裝置,其特征在于,所述定位頭一(8)與定位頭二(15)的規格相同。
7.根據權利要求1所述的一種污水多水層取樣分類收集綜合裝置,其特征在于,所述定位槽一(9)與定位槽二(16)的規格相同。
8.根據權利要求1所述的一種污水多水層取樣分類收集綜合裝置,其特征在于,所述圓筒二(13)底端與污水取樣主架(1)相接觸。
發明內容
本發明的目的是提供一種污水多水層取樣分類收集綜合裝置,以解決上述問題。
本發明的上述技術目的是通過以下技術方案得以實現的:一種污水多水層取樣分類收集綜合裝置,包括:
污水取樣主架,所述污水取樣主架頂部固定設置有污水取樣支架;
取樣分類調節組件,所述取樣分類調節組件設置在污水取樣主架和污水取樣支架上,所述取樣分類調節組件包括圓筒一、污水取樣收集筒、連桿、操控螺桿一、定位頭一、圓筒二、操控螺桿二和定位頭二,所述圓筒一固定安裝于污水取樣主架的底部,所述污水取樣收集筒滑動安裝于圓筒一內,所述連桿滑動安裝于圓筒二內,所述操控螺桿一和操控螺桿二分別螺紋安裝在圓筒一和圓筒二上,所述操控螺桿一端部與定位頭一固定連接,所述操控螺桿二端部與定位頭二固定連接,所述污水取樣收集筒上開設有多個定位槽一,所述連桿上開設有多個定位槽二,所述定位頭一和定位頭二分別與定位槽一和定位槽二相卡裝。
本發明的進一步設置為:所述取樣分類調節組件還包括活塞頭、污水取樣頭、電動伸縮桿和推板,所述活塞頭滑動密封安裝于污水取樣收集筒內,所述連桿底端與活塞頭固定連接,所述污水取樣頭頂端與污水取樣收集筒固定連接,所述電動伸縮桿固定安裝于污水取樣支架的頂部,所述電動伸縮桿的伸縮端與推板固定連接,所述推板底部與圓筒二固定連接。
本發明的進一步設置為:所述污水取樣主架頂部開設有多個通孔,連桿滑動安裝于通孔內。
通過采用上述技術方案,方便連桿在豎向進行移動。
本發明的進一步設置為:所述污水取樣支架上固定設置有手持桿。
本發明的進一步設置為:所述推板底部與連桿相接觸。
通過采用上述技術方案,可以對推板進行限位處理。
本發明的進一步設置為:所述定位頭一與定位頭二的規格相同。
通過采用上述技術方案,對定位頭一和定位頭二的規格進行限定。
本發明的進一步設置為:所述定位槽一與定位槽二的規格相同。
本發明的進一步設置為:所述圓筒二底端與污水取樣主架相接觸。
本發明的有益效果是:
本發明通過設置的取樣分類調節組件,對污水取樣收集筒的伸出位置進行調節,調節完成后,定位頭一可以旋入到一個定位槽一內,定位頭二可以旋入到一個定位槽二內,可以能夠根據實際需要對不同深度水層之間的取樣距離進行調節;
本發明通過設置的取樣分類調節組件,啟動電動伸縮桿,推板帶動圓筒二向上進行移動,圓筒二帶動連桿向上進行移動,在連桿向上移動時,可以使得污水取樣頭將污水抽入到污水取樣收集筒內,如此對不同深度水層的污水進行取樣收集分類處理,操作起來比較便捷。
(發明人:施志成;趙全保;周園園;楊哲)






