公布日:2024.03.19
申請日:2023.11.17
分類號:C02F3/34(2023.01)I;B01D29/94(2006.01)I;C02F103/06(2006.01)N;C02F1/00(2023.01)N;C02F1/38(2023.01)N;C02F101/30(2006.01)N;C02F101/16(2006.01)N
摘要
本申請屬于污水處理領域,尤其涉及一種污水過濾浮渣處理裝置,其包括分離組件、凈化組件和動力組件,分離組件包括同軸設置的螺桿和套管,套管套設于螺桿外,凈化組件包括活性污泥和承載活性污泥的生物凈化池,動力組件用于驅動螺桿旋轉;分離組件順螺桿的軸向依次分為研磨段、分離段和布水段,布水段淹沒于活性污泥中;套管靠近布水段的端面封閉,遠離布水段的端面為出渣口,套管位于布水段內的側壁均勻開設有布水孔,位于分離段內的側壁開有進料口。本申請具有對浮渣進行固液分離的同時使滲濾液無害化的效果。

權利要求書
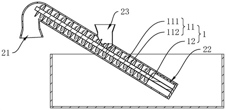
1.一種污水過濾浮渣處理裝置,其特征在于:包括分離組件、凈化組件和動力組件,所述分離組件包括同軸設置的螺桿(1)和套管(2),所述套管(2)套設于螺桿(1)外,所述凈化組件包括活性污泥和承載所述活性污泥的生物凈化池(3),所述動力組件用于驅動所述螺桿(1)旋轉;所述分離組件順所述螺桿(1)的軸向依次分為研磨段、分離段和布水段,所述布水段淹沒于活性污泥中;所述套管(2)靠近所述布水段的端面封閉,遠離所述布水段的端面為出渣口(21),所述套管(2)位于所述布水段內的側壁均勻開設有布水孔(22),位于所述分離段內的側壁開有進料口(23)。
2.根據權利要求1所述的污水過濾浮渣處理裝置,其特征在于:所述螺桿(1)包括同軸相連的第一螺桿(11)和第二螺桿(12),第一螺桿(11)設于分離段和研磨段,第二螺桿(12)設于布水段,所述第一螺桿(11)與第二螺桿(12)具有不同的螺線線型。
3.根據權利要求2所述的污水過濾浮渣處理裝置,其特征在于:所述第一螺桿(11)和第二螺桿(12)可拆卸連接且相互嚙合,所述動力組件與所述第一螺桿(11)扭力連接。
4.根據權利要求2所述的污水過濾浮渣處理裝置,其特征在于:所述第一螺桿(11)為雙頭螺桿(1),其兩條螺線分別為第一螺線(111)和第二螺線(112),所述第一螺線(111)的齒頂線與所述套管(2)內壁抵接,所述第二螺線(112)的齒頂線與所述套管(2)內壁存在間隙。
5.根據權利要求4所述的污水過濾浮渣處理裝置,其特征在于:所述第二螺線(112)的螺齒為矩形螺齒或三角形螺齒,所述螺齒在靠近軸線的部位與所述軸線垂直,隨著遠離所述軸線,所述螺齒逐漸向所述布水段彎折。
6.根據權利要求4所述的污水過濾浮渣處理裝置,其特征在于:所述第一螺桿(11)的齒頂圓直徑隨著靠近所述出渣口(21)而減小,所述套管(2)相應漸變與所述第一螺桿(11)配合。
7.根據權利要求4所述的污水過濾浮渣處理裝置,其特征在于:所述第一螺桿(11)的螺距,隨著靠近所述出渣口(21)而減小。
8.根據權利要求2所述的污水過濾浮渣處理裝置,其特征在于:所述第二螺桿(12)的螺旋角小于10°;或者,所述第二螺桿(12)的螺線與所述螺桿(1)的軸線平行;或者,所述第二螺桿(12)的螺向與轉向相同,用于對套管(2)的布水段進行增壓。
9.根據權利要求8所述的污水過濾浮渣處理裝置,其特征在于:所述螺桿(1)為雙頭螺桿(1),且其螺齒在第一螺桿(11)和第二螺桿(12)交界處作漸變處理。
10.根據權利要求8所述的污水過濾浮渣處理裝置,其特征在于:所述第二螺桿(12)的齒頂與所述套管(2)抵接,或,所述第二螺桿(12)的齒頂與所述套管(2)的內壁的距離小于其全齒高的20%。
發明內容
為了解決相關技術中存在的問題,縮減垃圾處理的流程,本申請提供一種污水過濾浮渣處理裝置。
本申請提供的一種污水過濾浮渣處理裝置采用如下的技術方案:一種污水過濾浮渣處理裝置,包括包括分離組件、凈化組件和動力組件,所述分離組件包括同軸設置的螺桿和套管,所述套管套設于螺桿外,所述凈化組件包括活性污泥和承載所述活性污泥的生物凈化池,所述動力組件用于驅動所述螺桿旋轉;所述分離組件順所述螺桿的軸向依次分為研磨段、分離段和布水段,所述布水段淹沒于活性污泥中;所述套管靠近所述布水段的端面封閉,遠離所述布水段的端面為出渣口,所述套管位于所述布水段內的側壁均勻開設有布水孔,位于所述分離段內的側壁開有進料口。
通過采用上述技術方案,當浮渣從進料口進入裝置后,固形物被螺桿推動,在套管中向著出渣口移動,在移動的過程中,因為重力的作用,滲濾液與濾渣分離,濾渣從出料口輸出,被后續工序收集利用;滲濾液順著套管向下流動,流入布水段后,因為布水段淹沒于活性污泥中,不再具有向下的重力勢,而后被旋轉的螺桿推動,從布水孔被甩出,與活性污泥完成混合,而后被凈化。
優選的,所述螺桿包括同軸相連的第一螺桿和第二螺桿,第一螺桿設于分離段和研磨段,第二螺桿設于布水段,所述第一螺桿與第二螺桿具有不同的螺線線型。
通過采用上述技術方案,第一螺桿用于將固態濾渣輸送向出渣口,而第二螺桿用于將滲濾液散布進生物凈化池里;標準型號的螺桿主要用于對傳送物或齒輪施加沿螺桿軸向的力,而第二螺桿選用不同的螺線線型后,可以使滲濾液更好地彌散于活性污泥中,混合均勻。
優選的,所述第一螺桿和第二螺桿可拆卸連接且相互嚙合,所述動力組件與所述第一螺桿扭力連接。
通過采用上述技術方案,第一螺桿持續執行對浮渣的輸送以及固液分離,而第二螺桿可設計為間歇式啟動,當第二螺桿與第一螺桿嚙合,螺桿在散布滲濾液的同時,攪打液面將空氣,尤其是空氣中的氧氣卷入液體中,為活性污泥供氧,使之進行有氧反應,快速增殖,并對有機物進行吸收;當第二螺桿與第一螺桿脫離嚙合,第一螺桿保持旋轉的同時,第二螺桿停止攪打液面,失去外在氧氣的輸入,生物反應池內氧含量逐漸下降,活性污泥進行厭氧反應。
優選的,所述第一螺桿為雙頭螺桿,其兩條螺線分別為第一螺線和第二螺線,所述第一螺線的齒頂線與所述套管內壁抵接,所述第二螺線的齒頂線與所述套管內壁存在間隙。
通過采用上述技術方案,第一螺線能對套管內壁進行自清潔,防止污物在管壁的堆積,降低人工清理的難度;而當濾渣與第二螺線相互作用時,在慣性的作用下,會被卷入第二螺線與套管之間的縫隙中,被磨碎的同時,其吸納的滲濾液也被擠出,流向布水段。
優選的,所述第二螺線的螺齒為矩形螺齒或三角形螺齒,所述螺齒在靠近軸線的部位與所述軸線垂直,隨著遠離所述軸線,所述螺齒逐漸向所述布水段彎折。
通過采用上述技術方案,當濾渣在套管中進行輸送時,隨著螺桿的旋轉,第二螺線與套管之間的距離逐漸減小,達到更好的研磨與固液分離效果。
優選的,所述第一螺桿的齒頂圓直徑隨著靠近所述出渣口而減小,所述套管相應漸變與所述第一螺桿配合。
通過采用上述技術方案,當濾渣隨在分離組件中運輸時,越靠近出渣口,空間越被壓縮,實現更好的研磨與固液分離效果。
優選的,所述第一螺桿的螺距,隨著靠近所述出渣口而減小。
通過采用上述技術方案,當濾渣隨在分離組件中運輸時,越靠近出渣口,空間越被壓縮,以另一種方式實現更好的研磨與固液分離效果。
優選的,所述第二螺桿的螺旋角小于10°;或者,所述第二螺桿的螺線與所述螺桿的軸線平行;或者,所述第二螺桿的螺向與轉向相同,用于對套管的布水段進行增壓。
通過采用上述技術方案,當第二螺桿的螺旋角小于10°或者螺線與螺桿軸線平行時,螺桿旋轉時,其對布水段的液體施加的主要是徑向的力,能更好的將滲濾液甩入生物凈化池;當第二螺桿的螺向與轉向相同時,螺桿旋轉對液體施加遠離出渣口的軸向力,對布水段套管內的滲濾液加壓,使得滲濾液在壓差作用下噴入生物凈化池中。以上三種方案均能使滲濾液攜帶更大的動能進入生物凈化池中,與活性污泥達到更好的混合效果。
優選的,所述螺桿為雙頭螺桿,且其螺齒在第一螺桿和第二螺桿交界處作漸變處理。
通過采用上述技術方案,一方面保證了螺桿的傳輸效果,另一方面防止了第一螺桿和第二螺桿交接處的應力集中。
優選的,所述第二螺桿的齒頂與所述套管抵接,或,所述第二螺桿的齒頂與所述套管的內壁的距離小于其全齒高的20%。
通過采用上述技術方案,保證了螺桿傳動范圍在整個套管中的占比,防止螺桿過細導致螺桿與套管之間形成逆向的紊流。
綜上所述,本申請包括以下至少一種有益技術效果:1.通過布水段、分離段、研磨段的設計,在對浮渣進行干濕分離的同時,一方面,將濾渣進行擠壓研磨后輸出為干燥的細小濾渣,另一方面,將滲濾液導入布水段后,借助螺桿的旋轉為滲濾液提供動能,使得滲濾液進入生物凈化池與活性污泥均勻混合,無需額外攪拌工序就能實現有效的凈化;2.第一螺桿與第二螺桿的設計,在保持第一螺桿持續運轉對浮渣進行干濕分離和研磨擠壓的同時,可使第二螺桿間歇式運轉,在第二螺桿運轉時,螺紋攪打液面,為生物凈化池輸入氧氣,使得活性污泥進行有氧反應,在第二螺桿停止運轉時,生物凈化池氧含量逐漸降低,轉入厭氧反應,兩相配合之下,能有效降低滲濾液中的有機物含量與氮化物含量,且不需要設置常規生物凈化池中的機械攪拌裝置或氣動攪拌裝置;3.第一螺桿和第二螺桿可拆卸嚙合,在只使用一個動力源保證第一螺桿運行的同時,間歇驅動第二螺桿的運轉;4.第一螺桿設計為雙頭螺桿,其中,第二螺線的邊緣向布水段彎折,對濾渣起到更佳的研磨擠壓效果,第一螺線則對套管內壁進行刮渣,防止污物附著;5.隨著靠近出渣口,第一螺桿的螺距逐漸減小,且,套管的直徑也減小,每兩條相鄰螺線之間的空間被壓縮,達到更好的研磨擠壓效果;6.第二螺桿通過不同螺線線型的設置,使套管中的滲濾液被甩出或加壓噴出,與活性污泥達到較為均勻的混合效果。
(發明人:范海濤)






