公布日:2024.03.29
申請日:2024.01.15
分類號:B01D36/04(2006.01)I;B01D29/01(2006.01)I;B01D29/075(2006.01)I;B01D29/56(2006.01)I;B01D29/72(2006.01)I;B01D29/86(2006.01)I
摘要
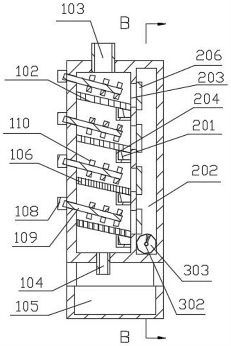
本發明涉及污水處理技術領域,具體涉及一種污水固液分離裝置,包括箱體和多級過濾組件,多級過濾組件包括多個過濾板、進水管、出水管、多個攪拌單元和沉淀池,并依次分布在箱體的內部,進水管與箱體的上方連通,出水管與箱體的下方連通,多個攪拌單元依次設置于箱體的內部,每個攪拌單元均位于對應的過濾板的上方,多個過濾板均具有過濾孔,通過進水管輸入污水,通過多個過濾板的過濾孔進行過濾,多個過濾板從上到下的過濾孔直徑依次減小,進行多級過濾處理,大顆粒泥沙被過濾在過濾板上,最后污水從出水管排出,污水收集在沉淀池內,經過長時間的沉淀后,將過濾后污水中的雜質進行沉淀,由此進行多級污水處理,提高固液分離效果。

權利要求書
1.一種污水固液分離裝置,包括箱體,其特征在于,還包括多級過濾組件;所述多級過濾組件包括多個過濾板、進水管、出水管、多個攪拌單元和沉淀池,多個所述過濾板均與所述箱體固定連接,并依次分布在所述箱體的內部,所述進水管與所述箱體的上方連通,所述出水管與所述箱體的下方連通,多個所述攪拌單元依次設置于所述箱體的內部,每個所述攪拌單元均位于對應的所述過濾板的上方,多個所述過濾板均具有過濾孔,所述沉淀池安放在所述箱體的下方。
2.如權利要求1所述的污水固液分離裝置,其特征在于,所述多級過濾組件還包括多個支腿,多個所述支腿均與所述箱體固定連接,并依次分布在所述箱體的下方。
3.如權利要求2所述的污水固液分離裝置,其特征在于,所述攪拌單元包括第一電機、第一轉軸和多個攪拌塊,所述第一電機與所述箱體固定連接,并位于所述箱體的一側,所述第一轉軸的一端與所述第一電機的輸出端固定連接,所述第一轉軸的另一端貫穿所述箱體,并與多個所述攪拌塊固定連接,多個所述攪拌塊依次環繞分布在所述第一轉軸的外表壁。
4.如權利要求3所述的污水固液分離裝置,其特征在于,所述污水固液分離裝置還包括泥沙收集組件,所述泥沙收集組件設置于所述箱體上。
5.如權利要求4所述的污水固液分離裝置,其特征在于,所述泥沙收集組件包括多個開關單元和多個振動電機,所述箱體具有凹槽和多個開槽,多個所述開關單元依次設置于對應的所述開槽上,多個所述振動電機分別與對應的所述過濾板固定連接,并位于所述過濾板的下方。
6.如權利要求5所述的污水固液分離裝置,其特征在于,所述泥沙收集組件還包括多個密封保護罩,多個所述密封保護罩分別與對應的所述振動電機固定連接,并蓋合于對應的所述振動電機的外部。
7.如權利要求6所述的污水固液分離裝置,其特征在于,所述開關單元包括兩個氣缸和兩個密封板,兩個所述氣缸均與所述箱體固定連接,并對稱分布在所述箱體的兩端,兩個所述氣缸的輸出端均貫穿所述箱體,并與對應的所述密封板固定連接,兩個所述密封板均與所述開槽相互適配。
發明內容
本發明的目的在于提供一種污水固液分離裝置,解決了現有技術中僅設置一層過濾板,不進行多級過濾處理,污水過濾效果不佳的問題。
為實現上述目的,本發明提供了一種污水固液分離裝置,包括箱體和多級過濾組件;
所述多級過濾組件包括多個過濾板、進水管、出水管、多個攪拌單元和沉淀池,多個所述過濾板均與所述箱體固定連接,并依次分布在所述箱體的內部,所述進水管與所述箱體的上方連通,所述出水管與所述箱體的下方連通,多個所述攪拌單元依次設置于所述箱體的內部,每個所述攪拌單元均位于對應的所述過濾板的上方,多個所述過濾板均具有過濾孔,所述沉淀池安放在所述箱體的下方。
其中,所述多級過濾組件還包括多個支腿,多個所述支腿均與所述箱體固定連接,并依次分布在所述箱體的下方。
其中,所述攪拌單元包括第一電機、第一轉軸和多個攪拌塊,所述第一電機與所述箱體固定連接,并位于所述箱體的一側,所述第一轉軸的一端與所述第一電機的輸出端固定連接,所述第一轉軸的另一端貫穿所述箱體,并與多個所述攪拌塊固定連接,多個所述攪拌塊依次環繞分布在所述第一轉軸的外表壁。
其中,所述污水固液分離裝置還包括泥沙收集組件,所述泥沙收集組件設置于所述箱體上。
其中,所述泥沙收集組件包括多個開關單元和多個振動電機,所述箱體具有凹槽和多個開槽,多個所述開關單元依次設置于對應的所述開槽上,多個所述振動電機分別與對應的所述過濾板固定連接,并位于所述過濾板的下方。
其中,所述泥沙收集組件還包括多個密封保護罩,多個所述密封保護罩分別與對應的所述振動電機固定連接,并蓋合于對應的所述振動電機的外部。
其中,所述開關單元包括兩個氣缸和兩個密封板,兩個所述氣缸均與所述箱體固定連接,并對稱分布在所述箱體的兩端,兩個所述氣缸的輸出端均貫穿所述箱體,并與對應的所述密封板固定連接,兩個所述密封板均與所述開槽相互適配。
本發明的一種污水固液分離裝置,所述箱體對整個所述多級過濾組件進行支撐,通過所述進水管輸入污水,通過多個所述過濾板的所述過濾孔進行過濾,多個所述過濾板從上到下的所述過濾孔直徑依次減小,進行多級過濾處理,大顆粒泥沙被過濾在所述過濾板上,所述攪拌單元對所述過濾板上方的污水進行攪拌,避免泥沙沉淀導致堵塞所述過濾孔,提高過濾處理的效率最后污水從所述出水管排出,污水收集在所述沉淀池內,此時污水中仍然具有少量無法被充分過濾的雜質,經過長時間的沉淀后,將過濾后污水中的少量雜質進行沉淀,通過上述結構設置,進行多級污水處理,提高固液分離效果。
(發明人:楊勝旺)






