公布日:2023.10.20
申請日:2023.09.13
分類號:C02F9/00(2023.01)I;C02F1/66(2023.01)I;C02F1/52(2023.01)I;C02F1/38(2023.01)I;B01F27/90(2022.01)I;B01F35/12(2022.01)I
摘要
本提供一種鍋爐廢水處理裝置,屬于污水處理設備技術領域。一種鍋爐廢水處理裝置包括離心箱體;環形刮刀,其與首個所述離心箱體內側壁滑動連接;驅動絲桿,其設置在首個所述離心箱體中,所述離心箱體上安裝有用于帶動所述驅動絲桿轉動的轉動源;滑軸,豎直安裝在所述離心箱體中;活動桿,滑動套設在所述滑軸上;復位彈簧,固定連接在所述活動桿和首個所述離心箱體底壁之間;管道疏通器,安裝在所述活動桿上且深入所述導流管入水口處,用于對所述導流管入水口處進行清理。本申請可以解決傳統鍋爐廢水處理設備易堵塞的技術缺陷。

權利要求書
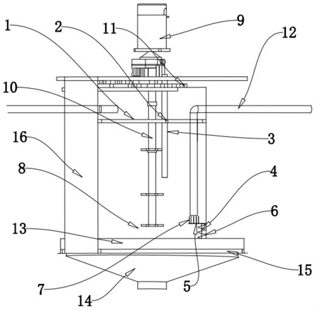
1.一種鍋爐廢水處理裝置,其特征在于,包括:離心箱體,所述離心箱體設置有多個,多個所述離心箱體之間通過導流管(12)連通;環形刮刀(1),其與首個所述離心箱體內側壁滑動連接,所述環形刮刀(1)與首個所述離心箱體內側壁抵接;驅動絲桿(3),其設置在首個所述離心箱體中,所述離心箱體上安裝有用于帶動所述驅動絲桿(3)轉動的轉動源,所述環形刮刀(1)螺紋套接在所述驅動絲桿(3)上;滑軸(4),豎直安裝在所述離心箱體中;活動桿(5),滑動套設在所述滑軸(4)上;復位彈簧(6),固定連接在所述活動桿(5)和首個所述離心箱體底壁之間;管道疏通器(7),安裝在所述活動桿(5)上且深入所述導流管(12)入水口處,用于對所述導流管(12)入水口處進行清理;其中,當所述環形刮刀(1)與所述活動桿(5)抵接運動時,所述活動桿(5)沿所述滑軸(4)產生上下滑動對所述管道疏通器(7)進行疏通清理運動;所述離心箱體包括:攪拌作業罐(8);驅動電機(9),其固定連接在所述攪拌作業罐(8)上端面中;攪拌桿(10),其設置在所述攪拌作業罐(8)內,所述攪拌桿(10)與所述驅動電機(9)驅動軸連接;所述驅動絲桿(3)上端固定連接有與所述驅動電機(9)連接的驅動齒輪(11);所述攪拌作業罐(8)下端固定連通有用于淤泥堆積的歸集基罐(13),所述歸集基罐(13)中設置用于淤泥歸集的推環機構(15)、用于驅動所述推環機構(15)往復運動的傳動機構(16)、用于淤泥排放的卸淤底盤(14);所述歸集基罐(13)設置在所述攪拌作業罐(8)下方,所述歸集基罐(13)與所述攪拌作業罐(8)內部連通,所述歸集基罐(13)的水平截面大于所述攪拌作業罐(8)的水平截面;所述卸淤底盤(14)固定連通在所述歸集基罐(13)的下端面中,所述卸淤底盤(14)與所述歸集基罐(13)的內側面密封連接,所述卸淤底盤(14)上設置位于圓心位置的卸淤通孔(17)、位于邊緣呈環形分布的清理孔(18);所述推環機構(15)設置在所述歸集基罐(13)中所述卸淤底盤(14)的上方;所述推環機構(15)包括:驅動環(19),其轉動連接在所述卸淤底盤(14)上端面的邊緣,所述驅動環(19)在外力的作用下往復旋轉;推塊(20),其設置有五個,五個所述推塊(20)拼成圓盤形,所述推塊(20)為一面凹圓弧、兩面凸圓弧的三角形結構,所述推塊(20)中第一凸圓弧、凹圓弧的夾角處拼接為圓心;活動軸(21),其設置有五個,五個所述活動軸(21)分別設置在五個所述推塊(20)中兩凸圓弧的夾角處,所述活動軸(21)與所述卸淤底盤(14)轉動連接;傳動軸(22),其設置有五個,五個所述傳動軸(22)的第一端設置在所述驅動環(19)上呈環形分布連接,五個所述傳動軸(22)的第二端分別與五個所述推塊(20)中第二凸圓弧、凹圓弧的夾角處活動連接;所述傳動機構(16)包括:不完全齒輪(23),其設置有兩個,兩個所述不完全齒輪(23)分別固定連接在所述驅動電機(9)上和所述驅動齒輪(11)的上端;傳動輪(24),其設置有兩個,兩個所述傳動輪(24)轉動連接在所述離心箱體的上端面中,兩個所述傳動輪(24)分別與兩個所述不完全齒輪(23)交替嚙合連接;作用輪(25),其與所述離心箱體上端面轉動連接,所述作用輪(25)與兩所述傳動輪(24)分別連接;齒圈(26),其轉動連接在所述離心箱體上端面邊緣,所述齒圈(26)與所述作用輪(25)連接;動力板(27),其為圓弧板,所述動力板(27)的上下兩端分別連接所述齒圈(26)、所述推環機構(15)中的所述驅動環(19),所述動力板(27)設置在所述離心箱體外側。
2.根據權利要求1所述的一種鍋爐廢水處理裝置,其特征在于:所述導流管(12)的進水口端設置在所述攪拌作業罐(8)內的下端、出水口端設置在依次連接的所述攪拌作業罐(8)內的上端,所述導流管(12)穿過所述攪拌作業罐(8)側壁的上端。
發明內容
為了解決上述部分或全部技術問題,本申請提供一種鍋爐廢水處理裝置,具備對作業設備進行清淤防堵塞的技術優勢。
第一方面,本申請提供的一種鍋爐廢水處理裝置,采用如下的技術方案:
一種鍋爐廢水處理裝置,包括:離心箱體,所述離心箱體設置有多個,多個所述離心箱體之間通過導流管連通;環形刮刀,其與首個所述離心箱體內側壁滑動連接,所述環形刮刀與首個所述離心箱體內側壁抵接;驅動絲桿,其設置在首個所述離心箱體中,所述離心箱體上安裝有用于帶動所述驅動絲桿轉動的轉動源,所述環形刮刀螺紋套接在所述驅動絲桿上;滑軸,豎直安裝在所述離心箱體中;活動桿,滑動套設在所述滑軸上;復位彈簧,固定連接在所述活動桿和首個所述離心箱體底壁之間;管道疏通器,安裝在所述活動桿上且深入所述導流管入水口處,用于對所述導流管入水口處進行清理;其中,當所述環形刮刀與所述活動桿抵接運動時,所述活動桿沿所述滑軸產生上下滑動對所述管道疏通器進行疏通清理運動。
通過采用上述技術方案,當驅動絲桿在轉動源的作用下產生自旋驅動時,進而帶動環形刮刀沿驅動絲桿運動,產生環形刮刀對離心箱體內側壁相對運動的刮動清理,從而實現了對離心箱體內側壁的刮動清理作業。由原本的拆卸清理,轉移至驅動絲桿的動力傳輸、環形刮刀的清理作業,實現了對離心箱體的不拆解、在運清理。
當環形刮刀與活動桿抵接運動時,活動桿沿滑軸產生上下滑動,進而產生管道疏通器的相對運動作用于導流管入水口端的疏通清理作業;采用行程觸發式導流管清理作業的模式,實現了離心箱體、導流管清理作業的一體式聯動,降低運行負載。
可選的,所述離心箱體包括:攪拌作業罐;驅動電機,其固定連接在所述攪拌作業罐上端面中;攪拌桿,其設置在所述攪拌作業罐內,所述攪拌桿與所述驅動電機驅動軸連接;所述驅動絲桿上端固定連接有與所述驅動電機連接的驅動齒輪。
通過采用上述技術方案,以驅動電機為轉動源,通過與驅動電機連接的攪拌桿實現對攪拌作業罐中鍋爐廢水的充分攪拌混合。
通過設置在驅動絲桿上與驅動電機連接的驅動齒輪,以驅動電機為轉動源,實現對離心箱體、導流管清理作業的動力輸出,通過對驅動電機正反轉的控制,實現對驅動齒輪、驅動絲桿正反轉的切換,達到控制環形刮刀沿驅動絲桿上下運動的技術目的,可實現往復式上下運動。
可選的,所述導流管的進水口端設置在所述攪拌作業罐內的下端、出水口端設置在依次連接的所述攪拌作業罐內的上端,所述導流管穿過所述攪拌作業罐側壁的上端。
通過采用上述技術方案,由于進水口端設置在攪拌作業罐的下端,有效利用了重力,廢水可以自然流入導流管,無需額外的能量消耗。出水口端設置在下一攪拌作業罐的上端,利用重力可以使廢水順利流出。有效避免廢水倒流,提高處理效率。
可選的,所述攪拌作業罐下端用于淤泥堆積的歸集基罐,所述歸集基罐中固定連通用于淤泥歸集的推環機構、用于所述推環機構往復運動的傳動機構、用于淤泥排放的卸淤底盤;所述歸集基罐設置在所述攪拌作業罐下方,所述歸集基罐與所述攪拌作業罐內部連通,所述歸集基罐的水平截面大于所述攪拌作業罐的水平截面;所述卸淤底盤固定連通在所述歸集基罐的下端面中,所述卸淤底盤與所述歸集基罐的內側面密封連接,所述卸淤底盤上設置位于圓心位置的卸淤通孔、位于邊緣呈環形分布的清理孔。
通過采用上述技術方案,利用淤泥沉積、減速分離的方式,實現在歸集基罐中淤泥的收集;設計卸淤通孔與清理孔相結合的結構,實現對歸集基罐中淤泥的均衡排出,解決單一排淤管路作業時,出現的排淤死角,部分淤泥長時間失效堆積所造成的作業空間縮小、作業效率下降的問題。
可選的,所述推環機構設置在所述歸集基罐中所述卸淤底盤的上方;所述推環機構包括:驅動環,其轉動連接在所述卸淤底盤上端面的邊緣,所述驅動環在外力的作用下往復旋轉;推塊,其設置有五個,五個所述推塊拼成圓盤形,所述推塊為一面凹圓弧、兩面凸圓弧的三角形結構,所述推塊中第一凸圓弧、凹圓弧的夾角處拼接為圓心;活動軸,其設置有五個,五個所述活動軸分別設置在五個所述推塊中兩凸圓弧的夾角處,所述活動軸與所述卸淤底盤連接;傳動軸,其設置有五個,五個所述傳動軸的第一端設置在所述驅動環上呈環形分布連接,五個所述傳動軸的第二端分別與五個所述推塊中第二凸圓弧、凹圓弧的夾角處活動連接。
通過采用上述技術方案,在驅動環受外力作用進行往復旋轉的前提下,推環機構進行開合運動;驅動環的往復旋轉運動通過傳動軸作用于推塊進行開閉運動;推環機構閉合時,推塊拼接成圓盤形,圓盤形的圓心與卸淤底盤的圓心同軸,提高推環機構的淤泥歸集效率;當驅動環受外力旋轉時,驅動環通過傳動軸作用于推塊進行呈環形分布的同步旋轉運動,推塊以活動軸為旋轉中心向圓心/邊緣運動,推動堆積在歸集基罐中的淤泥向圓心/邊緣中心運動,完成推環機構的展開/收攏運動,達到淤泥歸集的目的。
可選的,所述傳動機構包括:不完全齒輪,其設置有兩個,兩個所述不完全齒輪分別固定連接在所述驅動電機上和所述驅動齒輪的上端;傳動輪,其設置有兩個,兩個所述傳動輪轉動連接在所述離心箱體的上端面中,兩個所述傳動輪分別與兩個所述不完全齒輪交替嚙合連接;作用輪,其設置在所述離心箱體上端面中,所述作用輪與兩所述傳動輪分別連接;齒圈,其轉動連接在所述離心箱體上端面邊緣,所述齒圈與所述作用輪連接;動力板,其為圓弧板,所述動力板的上下兩端分別連接所述齒圈、所述推環機構中的所述驅動環,所述動力板設置在所述離心箱體外側。
通過采用上述技術方案,在進行傳動機構的傳動作業時,由于驅動電機與驅動絲桿上驅動齒輪的連接,兩分別設置在驅動電機、驅動絲桿上的不完全齒輪反向旋轉;由于兩組傳動輪與不完全齒輪的交替嚙合連接,進而形成兩傳動輪的交替反方旋轉運動,同時基于作用輪與兩所述傳動輪的分別連接,則作用輪為往復式旋轉運動;根據齒圈與作用輪連接、動力板的上下兩端分別連接齒圈和推環機構中的驅動環,從而使得作用輪的往復式旋轉運動作用于驅動環的往復式旋轉運動,達到為推環機構提供動力的設計目的。實現驅動電機對推環機構動力輸出的兼容,提高結構的穩定性和兼容性。
綜上所述,與現有技術相比,本申請包括以下至少一種鍋爐廢水處理裝置有益技術效果:
1.采用中和箱、沉降箱、絮凝箱分段式沉降的作業方式,可針對鍋爐廢水中不同雜質、有害物的特性進行分別沉降,在提高沉降效率的同時,便于對沉降物的回收再利用;
2.當環形刮刀與活動桿抵接運動時,活動桿沿滑軸產生上下滑動,進而產生管道疏通器的相對運動作用于導流管入水口端的疏通清理作業;采用行程觸發式導流管清理作業的模式,實現了離心箱體、導流管清理作業的一體式聯動,降低運行負載;
3.內置清淤功能結構的設置,實現設備在不停機作業的前提下,完成對離心箱體內側壁、導流管入水口的清理作業。
(發明人:羅建東;安曉力;邵林林;曹月明)






