公布日:2023.09.19
申請日:2023.06.24
分類號:E02F5/28(2006.01)I;E02F3/88(2006.01)I;E02F3/90(2006.01)I;E02F3/92(2006.01)I;E02F7/02(2006.01)I;E02F7/04(2006.01)I;E02F7/10(2006.01)I
摘要
一種水下環保清淤裝置,箱體的內部設有粉碎機構污泥泵體和動力機構;箱體的側部形成有連通粉碎機構的淤泥進口,淤泥進口處設有攪動機構;粉碎機構和污泥泵體的進口端之間連接有污泥輸送管道,污泥泵體的出口端連接有淤泥排管;動力機構和污泥泵體之間動力連接,動力機構還和粉碎機構之間動力連接,粉碎機構和攪動機構之間動力連接;攪動機構將污泥通過淤泥進口輸入到粉碎機構進行粉碎處理,經粉碎機構粉碎處理后的污泥由污泥輸送管道輸入到污泥泵體,污泥泵體通過淤泥排管將粉碎處理后的污泥排出至箱體的外部。本發明攪動的淤泥可進入粉碎機構內對淤泥內部的大雜質進行粉碎,從而避免內部出現堵塞,影響裝置正常使用。

權利要求書
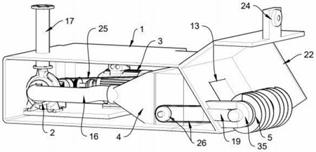
1.一種水下環保清淤裝置,其特征在于,包括箱體(1),所述箱體(1)的內部設有粉碎機構(4)、污泥泵體(2)和動力機構(3);所述箱體(1)的側部形成有連通所述粉碎機構(4)的淤泥進口(13),所述淤泥進口(13)處設有攪動機構(5);所述粉碎機構(4)和所述污泥泵體(2)的進口端之間連接有污泥輸送管道(16),所述污泥泵體(2)的出口端連接有淤泥排管(17);所述動力機構(3)和所述污泥泵體(2)之間動力連接,所述動力機構(3)還和所述粉碎機構(4)之間動力連接,所述粉碎機構(4)和所述攪動機構(5)之間動力連接;所述攪動機構(5)將污泥通過所述淤泥進口(13)輸入到所述粉碎機構(4)進行粉碎處理,經所述粉碎機構(4)粉碎處理后的污泥由所述污泥輸送管道(16)輸入到所述污泥泵體(2),所述污泥泵體(2)通過所述淤泥排管(17)將粉碎處理后的污泥排出至所述箱體(1)的外部。
2.根據權利要求1所述的一種水下環保清淤裝置,其特征在于,所述粉碎機構(4)包括粉碎箱(10)、粉碎輥(11)及驅動齒輪(12),所述粉碎箱(10)固定在所述箱體(1)的內部,所述粉碎箱(10)的內部連接有兩組所述粉碎輥(11),每組所述粉碎輥(11)的輥軸上均固定連接有一組所述驅動齒輪(12),兩組所述驅動齒輪(12)之間嚙合;所述動力機構(3)與一組所述粉碎輥(11)之間動力連接,所述粉碎箱(10)的一側設有進入口(14),所述進入口(14)與所述淤泥進口(13)連通,所述粉碎箱(10)的另外一側設有排出口(15),所述排出口(15)和所述污泥輸送管道(16)連通。
3.根據權利要求2所述的一種水下環保清淤裝置,其特征在于,所述攪動機構(5)包括攪動輥(18)和連接臂(19),所述箱體(1)上位于所述淤泥進口(13)的兩側位置均固定連接有一組所述連接臂(19),每組所述連接臂(19)均轉動連接有所述攪動輥(18),每組所述攪動輥(18)均與所述粉碎輥(11)動力連接。
4.根據權利要求3所述的一種水下環保清淤裝置,其特征在于,所述動力機構(3)包括動力輸入軸(6)、動力輸出軸(7)和第一錐形齒輪(8)、第二錐形齒輪(9);所述動力輸入軸(6)的末端連接所述第一錐形齒輪(8),所述動力輸出軸(7)的一端連接所述第二錐形齒輪(9),所述第一錐形齒輪(8)和所述第二錐形齒輪(9)之間嚙合;所述動力輸出軸(7)與一組所述粉碎輥(11)的輥軸通過第一傳動件(25)連接,另外一組所述粉碎輥(11)的輥軸與所述攪動輥(18)之間通過第二傳動件(26)連接。
5.根據權利要求4所述的一種水下環保清淤裝置,其特征在于,所述攪動輥(18)包括兩組輥筒(33),兩組所述輥筒(33)上均連接有螺旋葉片(34);兩組所述輥筒(33)上的所述螺旋葉片(34)螺旋方向相反,所述攪動輥(18)轉動時將淤泥向所述淤泥進口(13)方向攪動。
6.根據權利要求4所述的一種水下環保清淤裝置,其特征在于,所述第一傳動件(25)包括第一鏈輪(27)、第二鏈輪(28)及第一鏈條(29),所述第一鏈輪(27)連接所述動力輸出軸(7);所述第二鏈輪(28)連接在所述粉碎輥(11)的輥軸上,所述第一鏈輪(27)與所述第二鏈輪(28)之間通過所述第一鏈條(29)連接;所述第二傳動件(26)包括第三鏈輪(30)、第四鏈輪(31)及第二鏈條(32),所述第三鏈輪(30)連接在所述粉碎輥(11)的輥軸上,所述第四鏈輪(31)連接在所述攪動輥(18)的輥軸上,所述第三鏈輪(30)與所述第四鏈輪(31)之間通過所述第二鏈條(32)連接。
7.根據權利要求6所述的一種水下環保清淤裝置,其特征在于,所述連接臂(19)的外側設有密封蓋(35),所述密封蓋(35)與所述箱體(1)固定連接,所述密封蓋(35)內部與所述箱體(1)的內部連通;所述攪動輥(18)的輥軸位于所述密封蓋(35)的內部,所述第四鏈輪(31)位于所述密封蓋(35)的內部,所述第二鏈條(32)伸入至所述密封蓋(35)與所述第四鏈輪(31)連接。
8.根據權利要求1所述的一種水下環保清淤裝置,其特征在于,所述箱體(1)上位于所述淤泥進口(13)的周邊固定連接有集攏殼(22)。
9.根據權利要求1所述的一種水下環保清淤裝置,其特征在于,還包括牽引船體(20)和牽引臂(21),所述牽引臂(21)的下端與所述箱體(1)之間連接,所述牽引臂(21)的上端與所述牽引船體(20)之間連接。
10.根據權利要求1所述的一種水下環保清淤裝置,其特征在于,所述箱體(1)的側部連接有照明燈(23),所述箱體(1)的頂部連接有攝像頭(24)。
發明內容
針對現有技術中存在的上述不足之處,本發明目的在于提供一種水下環保清淤裝置,解決水底淤泥內摻雜有大型硬性雜質時,容易出現堵塞的問題。
本發明解決上述技術問題的技術方案如下:一種水下環保清淤裝置,包括箱體,所述箱體的內部設有粉碎機構、污泥泵體和動力機構;所述箱體的側部形成有連通所述粉碎機構的淤泥進口,所述淤泥進口處設有攪動機構;所述粉碎機構和所述污泥泵體的進口端之間連接有污泥輸送管道,所述污泥泵體的出口端連接有淤泥排管;
所述動力機構和所述污泥泵體之間動力連接,所述動力機構還和所述粉碎機構之間動力連接,所述粉碎機構和所述攪動機構之間動力連接;
所述攪動機構將污泥通過所述淤泥進口輸入到所述粉碎機構進行粉碎處理,經所述粉碎機構粉碎處理后的污泥由所述污泥輸送管道輸入到所述污泥泵體,所述污泥泵體通過所述淤泥排管將粉碎處理后的污泥排出至所述箱體的外部。
作為水下環保清淤裝置優選方案,所述粉碎機構包括粉碎箱、粉碎輥及驅動齒輪,所述粉碎箱固定在所述箱體的內部,所述粉碎箱的內部連接有兩組所述粉碎輥,每組所述粉碎輥的輥軸上均固定連接有一組所述驅動齒輪,兩組所述驅動齒輪之間嚙合;
所述動力機構與一組所述粉碎輥之間動力連接,所述粉碎箱的一側設有進入口,所述進入口與所述淤泥進口連通,所述粉碎箱的另外一側設有排出口,所述排出口和所述污泥輸送管道連通。
作為水下環保清淤裝置優選方案,所述攪動機構包括攪動輥和連接臂,所述箱體上位于所述淤泥進口的兩側位置均固定連接有一組所述連接臂,每組所述連接臂均轉動連接有所述攪動輥,每組所述攪動輥均與所述粉碎輥動力連接。
作為水下環保清淤裝置優選方案,所述動力機構包括動力輸入軸、第一錐形齒輪、第二錐形齒輪和動力輸出軸;
所述動力輸入軸的末端連接所述第一錐形齒輪,所述動力輸出軸的一端連接所述第二錐形齒輪,所述第一錐形齒輪和所述第二錐形齒輪之間嚙合;
所述動力輸出軸與一組所述粉碎輥的輥軸通過第一傳動件連接,另外一組所述粉碎輥的輥軸與所述攪動輥之間通過第二傳動件連接。
作為水下環保清淤裝置優選方案,所述攪動輥包括兩組輥筒,兩組所述輥筒上均連接有螺旋葉片;
兩組所述輥筒上的所述螺旋葉片螺旋方向相反,所述攪動輥轉動時將淤泥向所述淤泥進口方向攪動。
作為水下環保清淤裝置優選方案,所述第一傳動件包括第一鏈輪、第二鏈輪及第一鏈條,所述第一鏈輪連接所述動力輸出軸;所述第二鏈輪連接在所述粉碎輥的輥軸上,所述第一鏈輪與所述第二鏈輪之間通過所述第一鏈條連接;
所述第二傳動件包括第三鏈輪、第四鏈輪及第二鏈條,所述第三鏈輪連接在所述粉碎輥的輥軸上,所述第四鏈輪連接在所述攪動輥的輥軸上,所述第三鏈輪與所述第四鏈輪之間通過所述第二鏈條連接。
作為水下環保清淤裝置優選方案,所述連接臂的外側設有密封蓋,所述密封蓋與所述箱體固定連接,所述密封蓋內部與所述箱體的內部連通;
所述攪動輥的輥軸位于所述密封蓋的內部,所述第四鏈輪位于所述密封蓋的內部,所述第二鏈條伸入至所述密封蓋與所述第四鏈輪連接。
作為水下環保清淤裝置優選方案,所述箱體上位于所述淤泥進口的周邊固定連接有集攏殼。
作為水下環保清淤裝置優選方案,還包括牽引船體和牽引臂,所述牽引臂的下端與所述箱體之間連接,所述牽引臂的上端與所述牽引船體之間連接。
作為水下環保清淤裝置優選方案,所述箱體的側部連接有照明燈,所述箱體的頂部連接有攝像頭。
本發明的有益效果是,箱體的內部設有粉碎機構污泥泵體和動力機構;箱體的側部形成有連通粉碎機構的淤泥進口,淤泥進口處設有攪動機構;粉碎機構和污泥泵體的進口端之間連接有污泥輸送管道,污泥泵體的出口端連接有淤泥排管;動力機構和污泥泵體之間動力連接,動力機構還和粉碎機構之間動力連接,粉碎機構和攪動機構之間動力連接;攪動機構將污泥通過淤泥進口輸入到粉碎機構進行粉碎處理,經粉碎機構粉碎處理后的污泥由污泥輸送管道輸入到污泥泵體,污泥泵體通過淤泥排管將粉碎處理后的污泥排出至箱體的外部。本發明通過動力機構可帶動污泥泵體工作,從而使得污泥泵體產生泵吸力,而同時通過動力機構可帶動攪動機構進行轉動,從而將水底淤泥進行攪動,保證淤泥松散,便于泵取,而攪動的淤泥可進入粉碎機構內對淤泥內部的大雜質進行粉碎,從而避免內部出現堵塞,影響裝置正常使用。
(發明人:姜恒;彭赤彬;徐貴)






