公布日:2023.10.03
申請日:2023.07.04
分類號:C02F9/00(2023.01)I;C02F3/12(2023.01)N;C02F1/00(2023.01)N;C02F1/20(2023.01)N
摘要
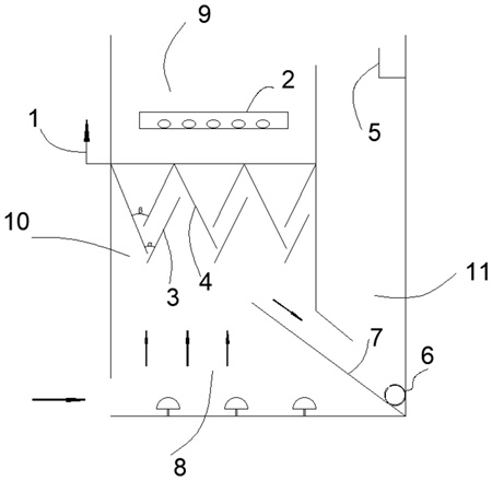
本發明公開了一種好氧曝氣沉淀一體化裝置,所述裝置為一容器,包括:所述容器一側為脫氣沉淀區,另一側由下至上依次為好氧曝氣區、三相分離區、固液沉淀區,其中三相分離區、固液沉淀區與脫氣沉淀區通過隔板隔開,隔板上部低于液面,隔板下部向脫氣沉淀區傾斜,好氧曝氣區與脫氣沉淀區之間設有傾斜的擋流板,擋流板與傾斜的隔板間形成脫氣區,好氧曝氣區與脫氣沉淀區通過脫氣區連通,解決了現有技術存在的污水處理設施占地、出水濁度高的問題,一方面可以取消沉淀池將本裝置直接安裝于好氧池中,節約占地;另一方面,既可以實現氣體分離,又能快速實現泥水分離,同時也防止污泥在三相分離器底部和上部堆積,保證了出水濁度較低。

權利要求書
1.一種好氧曝氣沉淀一體化裝置,裝置為一容器,其特征在于,包括:所述容器一側為脫氣沉淀區(11),另一側由下至上依次為好氧曝氣區(8)、三相分離區(10)、固液沉淀區(9),其中三相分離區(10)、固液沉淀區(9)與脫氣沉淀區(11)通過隔板隔開,隔板上部低于液面,隔板下部向脫氣沉淀區(11)傾斜,好氧曝氣區(8)與脫氣沉淀區(11)之間設有傾斜的擋流板(7),擋流板(7)與傾斜的隔板間形成脫氣區,好氧曝氣區(8)與脫氣沉淀區(11)通過脫氣區連通。
2.根據權利要求1所述的好氧曝氣沉淀一體化裝置,其特征在于,好氧曝氣區(8)底部設有若干曝氣器。
3.根據權利要求1所述的好氧曝氣沉淀一體化裝置,其特征在于,擋流板(7)的水平夾角為45°~60°。
4.根據權利要求1所述的好氧曝氣沉淀一體化裝置,其特征在于,所述三相分離器區由若干導流板(3)、若干集氣罩(4)和排氣管(1)組成;其中,導流板(3)與集氣罩(4)一側壁形成第一回流縫α,兩個集氣罩(4)之間形成第二回流縫β,所述第二回流縫大于第一回流縫;排氣管(1)與每個集氣罩(4)連通,用于將集氣罩(4)收集的氣體排出。
5.根據權利要求4所述的好氧曝氣沉淀一體化裝置,其特征在于,固液沉淀區(9)設有穿孔排泥管(2),穿孔排泥管(2)斜向下兩邊開孔。
6.根據權利要求5所述的好氧曝氣沉淀一體化裝置,其特征在于,穿孔排泥管(2)位于集氣罩(4)頂部0.3~0.5m處,穿孔排泥管(2)直徑為0.075~0.1m,孔徑0.02~0.05m。
7.根據權利要求1所述的好氧曝氣沉淀一體化裝置,其特征在于,所述脫氣沉淀區(11)底部設有穿孔回流管(6),穿孔回流管(6)位于擋流板(7)和容器壁之間,穿孔回流管(6)與擋流板(7)接觸部位均開孔,穿孔回流管(6)另一側開孔朝向擋流板(7)傾斜方向,兩開孔成90°夾角。
8.根據權利要求7所述的好氧曝氣沉淀一體化裝置,其特征在于,所述穿孔回流管(6)管徑0.09~0.11m,孔徑0.02~0.05m。
9.根據權利要求1所述的好氧曝氣沉淀一體化裝置,其特征在于,脫氣沉淀區(11)上部的容器壁上設有溢流堰(5),用于將固液分離后的上清液排出。
10.根據權利要求1所述的好氧曝氣沉淀一體化裝置,其特征在于,所述固液沉淀區(9)、三相分離區(10)、脫氣沉淀區(11)、和擋流板(7)以及隔板與容器壁為一體連接。
發明內容
本發明提供了一種好氧曝氣沉淀一體化裝置,解決了現有技術存在的污水處理設施占地較大、出水濁度高的問題,其應用時一方面可以取消沉淀池將本裝置直接安裝于好氧池中,節約污水處理設施占地;另一方面,本發明既可以實現氣體分離,又能快速實現泥水分離,同時也防止污泥在三相分離器底部和上部堆積,保證了出水濁度較低。
為了解決現有技術問題,本發明提供了如下技術方案:
一種好氧曝氣沉淀一體化裝置,裝置為一容器,包括:所述容器一側為脫氣沉淀區,另一側由下至上依次為好氧曝氣區、三相分離區、固液沉淀區,其中三相分離區、固液沉淀區與脫氣沉淀區通過隔板隔開,隔板上部低于液面,隔板下部向脫氣沉淀區傾斜,好氧曝氣區與脫氣沉淀區之間設有傾斜的擋流板,擋流板與傾斜的隔板間形成脫氣區,好氧曝氣區與脫氣沉淀區通過脫氣區連通。
污泥混合液從工藝前段進入好氧池后,通過底部的過流縫進入裝置。隨著好氧曝氣區底部氣流上升,遇到右側擋流板后,混合液形成折流區,使得氣固液三相混合體在好氧區底部充分混合。
混合液繼續上升,一部分上升進入三相分離器進行氣、泥、水三相分離。上升混合液進入三相分離區,氣體被收集后排出,而泥水混合物繼續向上移動,部分污泥回流到三相分離區底部再次進行三相分離,一部分泥水混合物上升,較重的污泥顆;蛐躞w下滑,而較輕的污泥和水繼續上升進入沉淀區,進一步進行泥水分離,上清液由右側進入脫氣沉淀區。固液沉淀區積累的較輕的污泥由穿孔排泥管排出系統。
好氧曝氣區的另一部分混合液越過擋流板后,沿擋流板向右側脫氣沉淀區流動。在此過程中,氣體上升進入三相分離區而被收集;脫氣后的泥水混合物繼續向下進入脫氣沉淀區進行泥水分離。脫氣沉淀區積累的污泥回流至生化段。
通過三相分離區上部的固液沉淀區和右側脫氣沉淀區的泥水分離,保證了較長的沉淀時間,一方面避免了污泥沉積產生厭氧反應,造成出水水質變差,另一方面充足的沉淀時間,減少了活性污泥流失,保證了出水水質。
優選的,好氧曝氣區底部設有若干曝氣器。
底部的曝氣器提供好氧區混合液上升動力,在好氧區提供微生物所需氧含量。
優選的,擋流板的水平夾角為45°~60°。
好氧曝氣區的混合液在上升過程中,碰撞到擋流板后,可以使混合液向下返流,起到混合作用,避免污泥在好氧曝氣區沉積。
當混合液繼續向上運動時,一部分混合液進入上部的三相分離區進行氣固液分離,一部分混合液沿擋流板向下流動進入狹長的脫氣區。
優選的,所述三相分離器區由若干導流板、若干集氣罩和排氣管組成;其中,導流板與集氣罩一側壁形成第一回流縫α,兩個集氣罩之間形成第二回流縫β,所述第二回流縫大于第一回流縫;排氣管與每個集氣罩連通,用于將集氣罩收集的氣體排出。
上升混合液沿導流板進入三相分離區,氣體被收集到集氣罩中,通過排氣管排出,而泥水混合物繼續向上移動,部分污泥通過第一回流縫回流到三相分離區底部再次進行三相分離,一部分泥水混合物通過第二回流縫上升,較重的污泥顆粒或絮體由回流縫下滑,而較輕的污泥和水繼續上升進入固液沉淀區,進一步進行泥水分離,上清液由右側進入脫氣沉淀區。
優選的,固液沉淀區設有穿孔排泥管,穿孔排泥管斜向下兩邊開孔。
優選的,穿孔排泥管位于集氣罩頂部0.3~0.5m處,穿孔管直徑為0.075~0.1m,孔徑0.02~0.05m。
固液沉淀區積累的較輕的污泥由穿孔排泥管排出系統。
優選的,所述脫氣沉淀區底部設有穿孔回流管,穿孔回流管位于擋流板和容器壁之間,穿孔回流管與擋流板接觸部位均開孔,穿孔回流管另一側開孔朝向擋流板傾斜方向,兩開孔成90°夾角。
優選的,所述穿孔回流管管徑0.09~0.11m,孔徑0.02~0.05m。
所述脫氣沉淀區底部設有穿孔回流管,其中穿孔管兩側開孔,同時回流好氧曝氣區和脫氣沉淀區污泥,避免底部污泥淤積。
優選的,脫氣沉淀區上部的容器壁上設有溢流堰。
所述脫氣沉淀區上部設溢流堰,將沉淀后的上清液排出。
優選的,所述固液沉淀區、三相分離區、脫氣沉淀區、和擋流板以及隔板與容器壁為一體連接。
本發明和現有技術相比,具有以下優點:
與現有好氧曝氣沉淀三相分離器工藝技術相比,本發明利用好氧曝氣區的曝氣提供混合液上升動力,無需提供額外吹脫、攪拌等動力,節省成本。本發明在好氧曝氣區設有擋流板,一方面可以在好氧區形成渦流,避免好氧區底部產生死區,造成污泥淤積;另一方面使得好氧曝氣區的部分混合液沿擋流板下滑,并在下滑過程中完成脫氣,避免了右側的脫氣沉淀區泥層擾動。同時在三相分離區底部設有導流板,保證了氣體可以完全收集于集氣罩中,同時也減少了上升混合液與下滑污泥在第一回流縫處相遇。此外設置有雙層回流縫,既保證了污泥可以正常下滑回流至底部好氧區,又保證了上升氣流不會從回流縫逸出而造成上部沉淀區污泥擾動。脫氣后的泥水混合物上升至上部沉淀區,大部分重質污泥下滑回流至底部好氧區,一部分輕質污泥在沉淀區進行泥水分離,積累的污泥由穿孔管外排;而上升的清水越過右側擋板后進入右側沉淀區,進一步沉淀,使得出水更加清澈。此外右側的沉淀區,由于經過脫氣沉淀,污泥濃度較高,回流至生化段,可以提高回流污泥濃度,有助于提高生化段的生物量。通過一整套的設計,既節約了占地面積,又提高了泥水分離效率,進一步強化了生物脫氮除磷能力,可以實現提質增效的目的。
(發明人:馬東方;倪康祥;陽重陽;陳嘉祺;周俊芳;王志帥;梁輝政)






