公布日:2023.10.10
申請日:2023.05.24
分類號:C02F11/10(2006.01)I;C02F11/00(2006.01)I;C02F101/32(2006.01)N
摘要
本申請公開了一種微波處理含油污泥的方法,包括以下步驟:S1、將碳化硅與含油污泥混合均勻,得到混合物,碳化硅占混合物的質量百分比為2%~11%;S2、將混合物放入微波燒結裝置直接進行熱解,熱解完成后進行冷卻。本發明通過碳化硅能夠實現更高效的微波熱解時的烴類分解。本發明的方法具有本發明的方法具有工藝過程簡單、加熱均勻、節約能耗、高效率、加熱環節清潔無污染、安全可靠等優點,能夠更有效促進含油污泥的中烴類的分解,具有較高的使用價值、發展潛力以及工業應用前景。

權利要求書
1.一種微波處理含油污泥的方法,其特征在于,包括以下步驟:S1、將碳化硅與含油污泥混合均勻,得到混合物,碳化硅占混合物的質量百分比為2%~11%;S2、將混合物放入微波燒結裝置直接進行熱解,熱解完成后進行冷卻。
2.如權利要求1所述的微波處理含油污泥的方法,其特征在于,所述碳化硅與含油污泥通過混合研磨的方式混合均勻。
3.如權利要求1所述的微波處理含油污泥的方法,其特征在于,步驟S2中,熱解的溫度為350℃~450℃。
4.如權利要求1所述的微波處理含油污泥的方法,其特征在于,步驟S2中,熱解的時間為25min~35min。
5.如權利要求1所述的微波處理含油污泥的方法,其特征在于,步驟S2中,熱解的功率為1000KW。
6.如權利要求1所述的微波處理含油污泥的方法,其特征在于,步驟S2中,冷卻過程為:以5℃/min~10℃/min的降溫速率降溫至80℃~150℃,然后自然冷卻至室溫。
7.如權利要求1所述的微波處理含油污泥的方法,其特征在于,所述碳化硅純度為99.9%,粒徑為1~2um;所述含油污泥為減量化處理后的含油污泥。
8.如權利要求1所述的微波處理含油污泥的方法,其特征在于,所述混合物通過承載盤放入微波燒結裝置中;在將混合物放入微波燒結裝置前,還包括將混合物切割成塊并使塊狀的混合物間隔設置在承載盤中的步驟。
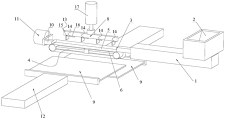
9.如權利要求8所述的微波處理含油污泥的方法,其特征在于,將混合物切割成塊并使塊狀的混合物間隔設置在承載盤中的步驟通過切割排盤裝置實施,所述切割排盤裝置包括:螺桿輸料機,具有入料口和出料口,所述入料口用于接收混合物,所述出料口用于使混合物呈現條狀輸出;輸送架,位移螺桿輸料機的出料口一側;傳送帶組件,安裝在輸送架上,所述傳送帶組件具有傳送帶,所述傳送帶一側為倒料側,另一側為非倒料側,所述傳送帶的靠近螺桿輸料機的一端位于所述螺桿輸料機的出料口的下方,用于接收混合物;切割機構,位于所述傳送帶的上方,用于將傳送帶上的混合物切割成塊且使相鄰兩個塊狀的混合物之間具有設定的間隔;承載盤,位于所述傳送帶組件的下方,用于接收來自傳送帶的塊狀混合物;連接架,第一端與輸送架連接,第二端從傳送帶的非倒料側向外延伸;卸料電機,與所述連接架的第二端配合,用于帶動輸送架和傳送帶組件同步轉動,使傳送帶的倒料側朝向承載盤,使塊狀混合物落入承載盤;第一伸縮機構,用于驅動所述承載盤水平移動,承載盤的運動方向垂直于傳送帶的輸送方向。
10.如權利要求9所述的微波處理含油污泥的方法,其特征在于,所述切割機構包括:切割架;多組切割推料組件,設置在切割架的下方,所述切割推料組件具有切割刀具以及驅動切割刀具沿傳送帶輸送方向移動的推拉伸縮元件,不同組切割推料組件的推拉伸縮元件的行程不同,且越靠近螺桿輸料機的出料口,推拉伸縮元件的行程越小;第二伸縮機構,用于驅動所述切割架上下移動,使切割刀具將傳送帶上的混合物切割成塊。
發明內容
本發明針對上述問題,提出了一種微波處理含油污泥的方法。
本發明采取的技術方案如下:
一種微波處理含油污泥的方法,包括以下步驟:
S1、將碳化硅與含油污泥混合均勻,得到混合物,碳化硅占混合物的質量百分比為2%~11%;
S2、將混合物放入微波燒結裝置直接進行熱解,熱解完成后進行冷卻。
本發明通過碳化硅能夠實現更高效的微波熱解時的烴類分解。本發明的方法具有本發明的方法具有工藝過程簡單、加熱均勻、節約能耗、高效率、加熱環節清潔無污染、安全可靠等優點,能夠更有效促進含油污泥的中烴類的分解,具有較高的使用價值、發展潛力以及工業應用前景。
于本發明其中一實施例中,所述碳化硅與含油污泥通過混合研磨的方式混合均勻。
于本發明其中一實施例中,步驟S2中,熱解的溫度為350℃~450℃,優選的,為400℃。
于本發明其中一實施例中,步驟S2中,熱解的時間為25min~35min,優選的,為30min。
于本發明其中一實施例中,步驟S2中,熱解的功率為1000KW。
于本發明其中一實施例中,步驟S2中,冷卻過程為:以5℃/min~10℃/min的降溫速率降溫至80℃~150℃,然后自然冷卻至室溫。
于本發明其中一實施例中,所述碳化硅純度為99.9%,粒徑為1~2um;所述含油污泥為減量化處理后的含油污泥。
本申請的含油污泥原料由原油開采、油田集輸等過程產生。實際運用時,所述微波燒結裝置為微波馬弗爐。
于本發明其中一實施例中,所述混合物通過承載盤放入微波燒結裝置中;
在將混合物放入微波燒結裝置前,還包括將混合物切割成塊并使塊狀的混合物間隔設置在承載盤中的步驟。
將混合物切割成塊并使塊狀的混合物間隔設置在承載盤中,這樣設置后,能夠更快充充分的使各塊狀的混合物的烴類分解。
于本發明其中一實施例中,將混合物切割成塊并使塊狀的混合物間隔設置在承載盤中的步驟通過切割排盤裝置實施,所述切割排盤裝置包括:
螺桿輸料機,具有入料口和出料口,所述入料口用于接收混合物,所述出料口用于使混合物呈現條狀輸出;
輸送架,位移螺桿輸料機的出料口一側;
傳送帶組件,安裝在輸送架上,所述傳送帶組件具有傳送帶,所述傳送帶一側為倒料側,另一側為非倒料側,所述傳送帶的靠近螺桿輸料機的一端位于所述螺桿輸料機的出料口的下方,用于接收混合物;
切割機構,位于所述傳送帶的上方,用于將傳送帶上的混合物切割成塊且使相鄰兩個塊狀的混合物之間具有設定的間隔;
承載盤,位于所述傳送帶組件的下方,用于接收來自傳送帶的塊狀混合物;
連接架,第一端與輸送架連接,第二端從傳送帶的非倒料側向外延伸;
卸料電機,與所述連接架的第二端配合,用于帶動輸送架和傳送帶組件同步轉動,使傳送帶的倒料側朝向承載盤,使塊狀混合物落入承載盤;
第一伸縮機構,用于驅動所述承載盤水平移動,承載盤的運動方向垂直于傳送帶的輸送方向。
于本發明其中一實施例中,所述切割機構包括:
切割架;
多組切割推料組件,設置在切割架的下方,所述切割推料組件具有切割刀具以及驅動切割刀具沿傳送帶輸送方向移動的推拉伸縮元件,不同組切割推料組件的推拉伸縮元件的行程不同,且越靠近螺桿輸料機的出料口,推拉伸縮元件的行程越小;
第二伸縮機構,用于驅動所述切割架上下移動,使切割刀具將傳送帶上的混合物切割成塊。
切割排盤裝置的一種工作方式如下:
螺桿輸料機和傳送帶組件工作,條狀的混合物從螺桿輸料機的出料口排出,落入傳送帶上,出料速度和傳送帶的傳動速度相同;
設定時間后或出料達到設定長度范圍后,螺桿輸料機和傳送帶組件停止工作,切割機構工作,第二伸縮機構帶動切割架下移,切割架下方的切割推料組件的切割刀具將傳送帶上的條狀的混合物切割成塊,然后各推拉伸縮元件工作,推動對應切割好的混合物向遠離螺桿輸料機的一側移動,因為“不同組切割推料組件的推拉伸縮元件的行程不同,且越靠近螺桿輸料機的出料口,推拉伸縮元件的行程越小”,最終能夠實現各塊狀的混合物間隔分布;
切割機構復位,卸料電機轉動,帶動輸送架和傳送帶組件同步轉動,使傳送帶的倒料側朝向承載盤,使塊狀混合物落入承載盤中,該次接收完成后,第一伸縮機構驅動所述承載盤水平移動設定距離,等待下一次的接收;
重復多次,當承載盤接收完成后,將承載盤放入微波燒結裝置進行燒結操作。
為了保證連續化處理,于本發明其中一實施例中,所述承載盤有多個(對應的第一伸縮機構也有多個),上下間隔設置。
實際運用時,承載盤可以通過現有的多種快裝拆結構與第一伸縮機構連接。
實際運用時,第一伸縮機構、第二伸縮機構、推拉伸縮元件可以根據需要選擇,可以為電動推桿、氣缸、液壓油缸等。
本發明的有益效果是:本發明通過碳化硅能夠實現更高效的微波熱解時的烴類分解。本發明的方法具有本發明的方法具有工藝過程簡單、加熱均勻、節約能耗、高效率、加熱環節清潔無污染、安全可靠等優點,能夠更有效促進含油污泥的中烴類的分解,具有較高的使用價值、發展潛力以及工業應用前景。
(發明人:盧喜瑞;程文財;丁聰聰;舒小艷;劉杜江;文倩;顏靜)






