公布日:2023.10.13
申請日:2023.07.07
分類號:B30B9/20(2006.01)I;C02F11/122(2019.01)I
摘要
本發明公開了一種固廢處理裝置及處理方法,包括轉筒、內部按壓機構、壓力調節機構以及滾動驅動機構;轉筒的兩端均嵌裝有連接管,連接管的內部固定連接有內筒,內筒上設有按圓周分布的多組出水孔;內部按壓機構安裝于內筒的內部;本發明使用時,通過啟動第二電機利用轉動軸上的齒輪與內齒條相互嚙合傳動,使轉軸和桿體轉動,桿體上的固定管以及連接板能夠帶動按壓輥對內筒中的固態污泥進行滾動碾壓,從而擠壓出固態污泥內部污水,使用前后,能夠通過轉動螺紋桿使內螺紋方管在限位方管內上下移動,并使內螺紋方管頂部的弧形推板推動按壓輥移動,進而改變按壓輥與內筒內壁之間的距離,實現按壓輥對固態污泥的按壓壓力調節。

權利要求書
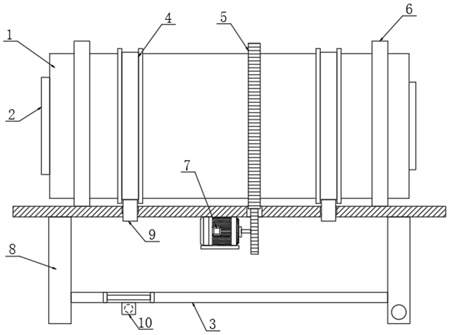
1.一種固廢處理裝置,包括轉筒(1)、內部按壓機構、壓力調節機構以及滾動驅動機構,其特征在于:所述轉筒(1)的兩端均嵌裝有連接管(14),所述連接管(14)的內部固定連接有內筒(13),所述內筒(13)上設有按圓周分布的多組出水孔(29);所述內部按壓機構安裝于所述內筒(13)的內部,所述內部按壓機構能夠對所述內筒(13)內的固廢進行擠壓,降低含水量;所述壓力調節機構安裝于所述內部按壓機構上,所述壓力調節機構用于調節內部按壓機構的位置,從而改變壓力;所述滾動驅動機構安裝于所述轉筒(1)的外部,所述滾動驅動機構用于驅動轉筒(1)進行轉動。
2.根據權利要求1所述的一種固廢處理裝置,其特征在于:所述內部按壓機構包括兩個轉軸(11),兩個所述轉軸(11)對稱安裝在所述內筒(13)的內壁,兩個所述轉軸(11)的相對一側均固定連接有十字板(28),其中一個所述轉軸(11)遠離所述十字板(28)的一側固定連接有內齒條(24),所述內筒(13)的內壁安裝有第二電機(22),所述第二電機(22)的轉動軸通過齒輪與所述內齒條(24)嚙合,所述十字板(28)的內部固定連接有桿體(16),所述桿體(16)的外部對稱安裝有兩個固定管(15),所述固定管(15)上固定連接有連接板(21),兩個所述連接板(21)上均設有滑槽(26),所述滑槽(26)內滑動安裝有滑塊(25),兩個所述滑塊(25)的相對一側轉動安裝有按壓輥(23)。
3.根據權利要求2所述的一種固廢處理裝置,其特征在于:所述壓力調節機構包括兩個限位方管(19),兩個所述限位方管(19)對稱嵌裝于所述桿體(16)的內部,所述限位方管(19)的內部滑動安裝有內螺紋方管(17),所述內螺紋方管(17)的內部螺紋連接有螺紋桿(20),所述螺紋桿(20)的底部一端貫穿所述限位方管(19),所述內螺紋方管(17)的頂部一端固定連接有弧形推板(18),所述弧形推板(18)包覆在所述按壓輥(23)的外部。
4.根據權利要求3所述的一種固廢處理裝置,其特征在于:所述滾動驅動機構包括外齒條(5),所述外齒條(5)固定連接于所述轉筒(1)的外部,所述轉筒(1)的外部轉動安裝有支撐板(6),所述支撐板(6)的底部固定連接有支架(8),所述支架(8)的內頂部安裝有第一電機(7)所述第一電機(7)的轉動軸通過齒輪與所述外齒條(5)。
5.根據權利要求2所述的一種固廢處理裝置,其特征在于:所述滑槽(26)的內部固定連接有彈簧(27),所述彈簧(27)的頂部一端固定連接于所述滑塊(25)的底部。
6.根據權利要求4所述的一種固廢處理裝置,其特征在于:所述支架(8)的頂部對稱轉動安裝有兩個轉輪(9),所述轉筒(1)的外部對稱安裝有兩個環形導軌(4),所述轉輪(9)貼合所述環形導軌(4)內部轉動。
7.根據權利要求1所述的一種固廢處理裝置,其特征在于:所述連接管(14)的兩端內壁均固定連接有輸料管(2)。
8.根據權利要求6所述的一種固廢處理裝置,其特征在于:所述支架(8)的內部固定連接有橫板(3),所述橫板(3)的底部固定連接有固定桿(10),所述支架(8)的一側底部設有鉸軸。
9.根據權利要求1所述的一種固廢處理裝置,其特征在于:所述轉筒(1)的一側對稱嵌裝有兩個排水閥(12)。10.一種權利要求1所述的固廢處理方法,其特征在于,包括以下步驟:S1、固態污泥通過輸料管(2)投入轉筒(1)內部的內筒(13)中,利用第一電機(7)轉動軸上的齒輪與外齒條(5)相互嚙合傳動,帶動轉筒(1)和內筒(13)轉動,使內部固態污泥翻滾;S2、通過啟動第二電機(22)利用轉動軸上的齒輪與內齒條(24)相互嚙合傳動,使轉軸(11)和桿體(16)轉動,帶動按壓輥(23)對內筒(13)中的固態污泥進行滾動碾壓,從而擠壓出固態污泥內部污水;S3、通過轉動螺紋桿(20)使內螺紋方管(17)頂部的弧形推板(18)推動按壓輥(23)移動,改變按壓輥(23)與內筒(13)內壁之間的距離,實現按壓輥(23)對固態污泥的按壓壓力調節;S4、通過按壓輥(23)擠壓出的污水通過內筒(13)上的出水孔(29)排入轉筒(1)內部,通過外部驅動設備將轉筒(1)一側進行抬升,利用排水閥(12)將內部污水向外排放。
發明內容
本發明的目的在于提供一種固廢處理裝置及處理方法,以解決上述背景技術中提出的問題。
為實現上述目的,本發明提供如下技術方案:一種固廢處理裝置,包括轉筒、內部按壓機構、壓力調節機構以及滾動驅動機構;
所述轉筒的兩端均嵌裝有連接管,所述連接管的內部固定連接有內筒,所述內筒上設有按圓周分布的多組出水孔;
所述內部按壓機構安裝于所述內筒的內部,所述內部按壓機構能夠對所述內筒內的固廢進行擠壓,降低含水量;
所述壓力調節機構安裝于所述內部按壓機構上,所述壓力調節機構用于調節內部按壓機構的位置,從而改變壓力;
所述滾動驅動機構安裝于所述轉筒的外部,所述滾動驅動機構用于驅動轉筒進行轉動。
優選的,所述內部按壓機構包括兩個轉軸,兩個所述轉軸對稱安裝在所述內筒的內壁,兩個所述轉軸的相對一側均固定連接有十字板,其中一個所述轉軸遠離所述十字板的一側固定連接有內齒條,所述內筒的內壁安裝有第二電機,所述第二電機的轉動軸通過齒輪與所述內齒條嚙合,所述十字板的內部固定連接有桿體,所述桿體的外部對稱安裝有兩個固定管,所述固定管上固定連接有連接板,兩個所述連接板上均設有滑槽,所述滑槽內滑動安裝有滑塊,兩個所述滑塊的相對一側轉動安裝有按壓輥。
優選的,所述壓力調節機構包括兩個限位方管,兩個所述限位方管對稱嵌裝于所述桿體的內部,所述限位方管的內部滑動安裝有內螺紋方管,所述內螺紋方管的內部螺紋連接有螺紋桿,所述螺紋桿的底部一端貫穿所述限位方管,所述內螺紋方管的頂部一端固定連接有弧形推板,所述弧形推板包覆在所述按壓輥的外部。
優選的,所述滾動驅動機構包括外齒條,所述外齒條固定連接于所述轉筒的外部,所述轉筒的外部轉動安裝有支撐板,所述支撐板的底部固定連接有支架,所述支架的內頂部安裝有第一電機所述第一電機的轉動軸通過齒輪與所述外齒條。
優選的,所述滑槽的內部固定連接有彈簧,所述彈簧的頂部一端固定連接于所述滑塊的底部。
優選的,所述支架的頂部對稱轉動安裝有兩個轉輪,所述轉筒的外部對稱安裝有兩個環形導軌,所述轉輪貼合所述環形導軌內部轉動。
優選的,所述連接管的兩端內壁均固定連接有輸料管。
優選的,所述支架的內部固定連接有橫板,所述橫板的底部固定連接有固定桿,所述支架的一側底部設有鉸軸。
優選的,所述轉筒的一側對稱嵌裝有兩個排水閥。
本發明還提供了一種固廢處理方法,包括以下步驟:
S1、固態污泥通過輸料管投入轉筒內部的內筒中,利用第一電機轉動軸上的齒輪與外齒條相互嚙合傳動,帶動轉筒和內筒轉動,使內部固態污泥翻滾;
S2、通過啟動第二電機利用轉動軸上的齒輪與內齒條相互嚙合傳動,使轉軸和桿體轉動,帶動按壓輥對內筒中的固態污泥進行滾動碾壓,從而擠壓出固態污泥內部污水;
S3、通過轉動螺紋桿使內螺紋方管頂部的弧形推板推動按壓輥移動,改變按壓輥與內筒內壁之間的距離,實現按壓輥對固態污泥的按壓壓力調節;
S4、通過按壓輥擠壓出的污水通過內筒上的出水孔排入轉筒內部,通過外部驅動設備將轉筒一側進行抬升,利用排水閥將內部污水向外排放。
與現有技術相比,本發明的有益效果是:
1、本發明使用時,通過啟動第二電機利用轉動軸上的齒輪與內齒條相互嚙合傳動,使轉軸和桿體轉動,并帶動按壓輥對內筒中的固態污泥進行滾動碾壓,從而擠壓出固態污泥內部污水,并能夠利用內筒的轉動將固態污泥反復翻滾,增加擠壓接觸面積,大幅降低固態污泥內含水量;
2、本發明在轉筒使用前后,能夠通過轉動螺紋桿使弧形推板推動按壓輥移動,進而改變按壓輥與內筒內壁之間的距離,實現按壓輥對固態污泥的按壓壓力調節,使本發明能夠根據不同量以及不同固態污泥種類對擠壓的壓力進行調節,提高了處理靈活性。
3、本發明通過按壓輥擠壓出的污水通過內筒上的出水孔排入轉筒內部,通過外部驅動設備將轉筒一側進行抬升,利用排水閥將內部污水向外排放,由于內筒的外壁與轉筒的內壁之間保留間隙,因此擠壓出的污水不會返流至固態污泥中,并方便后續污水的排放操作。
(發明人:蓋國京;楊紅昌;耿留林;徐強;劉鴻文;趙媛媛;武富厚;劉偉丹;段旭東)






