公布日:2024.04.26
申請日:2023.12.22
分類號:C02F1/00(2023.01)I;C02F11/13(2019.01)I
摘要
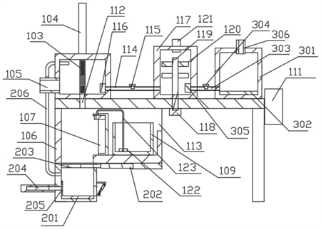
本發明涉及污水處理技術領域,具體涉及一種基于物聯網遠程控制的污水處理除臭系統及其方法,包括底座和除臭組件,除臭組件包括過濾箱、過濾板、兩個第一氣缸、進水口、連通單元、除臭劑攪拌單元、殼體、電子滑軌、滑塊、清洗水箱、多個反沖洗單元、收集箱和物聯網控制器,過濾箱和底座均具有開槽,殼體具有凹槽,經過過濾板過濾污泥雜質,除臭劑攪拌單元加入除臭劑并進行攪拌,第一氣缸啟動,帶動過濾板經過開槽到達殼體內,反沖洗單元啟動,然后電子滑軌帶動滑塊和反沖洗單元上下移動,對過濾板進行沖洗,沖洗污水下落在收集箱內,由此可自動清洗過濾板,無需拆卸更換,可快速重新投入使用,有效提高污水處理效率。

權利要求書
1.一種基于物聯網遠程控制的污水處理除臭系統,包括底座,其特征在于,還包括除臭組件;所述除臭組件包括過濾箱、過濾板、兩個第一氣缸、進水口、連通單元、除臭劑攪拌單元、殼體、電子滑軌、滑塊、清洗水箱、多個反沖洗單元、收集箱和物聯網控制器,所述過濾箱與所述底座固定連接,并位于所述底座的上方,所述過濾板安放在所述過濾箱的內部,所述過濾箱和所述底座均具有開槽,兩個所述開槽連通,所述過濾板均與兩個所述開槽相互適配,兩個所述第一氣缸依次設置于所述過濾箱的上方,兩個所述第一氣缸的輸出端均貫穿所述過濾箱,并與所述過濾板固定連接,所述進水口與所述過濾箱的一側連通,所述連通單元設置于所述過濾箱和所述除臭劑攪拌單元上,所述殼體設置于所述底座的下方,所述電子滑軌與所述殼體固定連接,并位于所述殼體的內底壁,所述滑塊與所述電子滑軌滑動連接,所述清洗水箱安放在所述電子滑軌的一側,所述殼體具有凹槽,多個所述反沖洗單元依次設置于所述滑塊上,所述收集箱與所述殼體的下方連通,所述物聯網控制器與所述底座固定連接,并位于所述底座的一側。
2.如權利要求1所述的基于物聯網遠程控制的污水處理除臭系統,其特征在于,所述連通單元包括第一管道、第一閥體和第一泵體,所述第一管道的兩端分別與所述過濾箱和所述除臭劑攪拌單元連通,所述第一閥體設置于所述第一管道上,所述第一泵體與所述過濾箱固定連接,并位于所述過濾箱的內側壁,所述第一泵體的出水端與所述第一管道連通。
3.如權利要求2所述的基于物聯網遠程控制的污水處理除臭系統,其特征在于,所述除臭劑攪拌單元包括攪拌箱、電機、轉軸、多個攪拌板和兩個進料口,所述攪拌箱與所述底座固定連接,并位于所述底座的上方,所述電機與所述底座固定連接,并位于所述底座的下方,所述轉軸的一端與所述電機的輸出端固定連接,所述轉軸的另一端依次貫穿所述底座和所述攪拌箱,并與多個所述攪拌板固定連接,兩個所述進料口依次與所述攪拌箱的上方連通。
4.如權利要求3所述的基于物聯網遠程控制的污水處理除臭系統,其特征在于,所述反沖洗單元包括第二泵體、伸縮軟管和高壓噴頭,所述第二泵體與所述清洗水箱固定連接,并位于所述清洗水箱的內底壁,所述伸縮軟管的兩端分別與所述第二泵體的出水端和所述高壓噴頭連通。
5.如權利要求4所述的基于物聯網遠程控制的污水處理除臭系統,其特征在于,所述基于物聯網遠程控制的污水處理除臭系統還包括排料組件,所述排料組件設置于所述收集箱上。
6.如權利要求5所述的基于物聯網遠程控制的污水處理除臭系統,其特征在于,所述排料組件包括第一加熱器、第二氣缸、密封板、第三氣缸、推板、氣體管道和關閉單元,所述第一加熱器與所述收集箱固定連接,并位于所述收集箱的內底壁,所述第二氣缸與所述殼體固定連接,并位于所述殼體的下方,所述第二氣缸的輸出端與所述密封板固定連接,所述密封板的一端貫穿所述收集箱,所述第三氣缸與所述收集箱固定連接,并位于所述收集箱遠離所述第二氣缸的一側,所述第三氣缸的輸出端貫穿所述收集箱,并與所述推板固定連接,所述氣體管道的兩端分別與所述收集箱和所述過濾箱連通,所述關閉單元設置于所述收集箱上。7.如權利要求6所述的基于物聯網遠程控制的污水處理除臭系統,其特征在于,所述關閉單元包括門板、第一固定塊、第二固定塊和電推桿,所述收集箱具有排料口,所述門板與所述收集箱轉動連接,并與所述排料口相互適配,所述第一固定塊與所述門板固定連接,并位于所述門板的一側,所述第二固定塊與所述收集箱固定連接,并位于所述收集箱的一側,所述電推桿與所述第二固定塊轉動連接,所述電推桿的輸出端與所述第一固定塊轉動連接。
8.一種基于物聯網遠程控制的污水處理除臭方法,采用如權利要求7所述的基于物聯網遠程控制的污水處理除臭系統,其特征在于,包括如下步驟:通過所述進水口輸入污水,所述過濾板過濾雜質和污泥,然后通過所述第一管道到達所述攪拌箱;通過所述進料口加入除臭劑,所述電機啟動,帶動所述轉軸和攪拌板進行混合,對污水進行除臭;所述第一氣缸啟動,帶動所述過濾板進過所述開槽達到所述殼體內部;所述第二泵體將水抽入所述伸縮軟管,經過所述高壓噴頭對所述過濾板進行反沖洗清理,將所述過濾板上的污泥雜質沖洗掉落在所述收集箱內;所述過濾板復位繼續使用,然后所述密封板對所述收集箱封閉;所述第一加熱器啟動,對沖洗的污水進行烘干,產生的水蒸氣經過所述氣體管道達到所述過濾板繼續過濾;污泥雜質被烘干為固體后,所述第三氣缸啟動,帶動所述推板將其推出,排空所述收集箱,由此重復收集沖洗的污泥雜質。
發明內容
本發明的目的在于提供一種基于物聯網遠程控制的污水處理除臭系統及其方法,解決現有技術中拆卸后的過濾板需要清洗后才能重新投入使用,影響污水處理效率,若直接更換新的過濾板則成本較高,因此十分不便的問題。
為實現上述目的,本發明提供了一種基于物聯網遠程控制的污水處理除臭系統,包括底座和除臭組件;
所述除臭組件包括過濾箱、過濾板、兩個第一氣缸、進水口、連通單元、除臭劑攪拌單元、殼體、電子滑軌、滑塊、清洗水箱、多個反沖洗單元、收集箱和物聯網控制器,所述過濾箱與所述底座固定連接,并位于所述底座的上方,所述過濾板安放在所述過濾箱的內部,所述過濾箱和所述底座均具有開槽,兩個所述開槽連通,所述過濾板均與兩個所述開槽相互適配,兩個所述第一氣缸依次設置于所述過濾箱的上方,兩個所述第一氣缸的輸出端均貫穿所述過濾箱,并與所述過濾板固定連接,所述進水口與所述過濾箱的一側連通,所述連通單元設置于所述過濾箱和所述除臭劑攪拌單元上,所述殼體設置于所述底座的下方,所述電子滑軌與所述殼體固定連接,并位于所述殼體的內底壁,所述滑塊與所述電子滑軌滑動連接,所述清洗水箱安放在所述電子滑軌的一側,所述殼體具有凹槽,多個所述反沖洗單元依次設置于所述滑塊上,所述收集箱與所述殼體的下方連通,所述物聯網控制器與所述底座固定連接,并位于所述底座的一側。
其中,所述連通單元包括第一管道、第一閥體和第一泵體,所述第一管道的兩端分別與所述過濾箱和所述除臭劑攪拌單元連通,所述第一閥體設置于所述第一管道上,所述第一泵體與所述過濾箱固定連接,并位于所述過濾箱的內側壁,所述第一泵體的出水端與所述第一管道連通。
其中,所述除臭劑攪拌單元包括攪拌箱、電機、轉軸、多個攪拌板和兩個進料口,所述攪拌箱與所述底座固定連接,并位于所述底座的上方,所述電機與所述底座固定連接,并位于所述底座的下方,所述轉軸的一端與所述電機的輸出端固定連接,所述轉軸的另一端依次貫穿所述底座和所述攪拌箱,并與多個所述攪拌板固定連接,兩個所述進料口依次與所述攪拌箱的上方連通。
其中,所述反沖洗單元包括第二泵體、伸縮軟管和高壓噴頭,所述第二泵體與所述清洗水箱固定連接,并位于所述清洗水箱的內底壁,所述伸縮軟管的兩端分別與所述第二泵體的出水端和所述高壓噴頭連通。
其中,所述基于物聯網遠程控制的污水處理除臭系統還包括排料組件,所述排料組件設置于所述收集箱上。
其中,所述排料組件包括第一加熱器、第二氣缸、密封板、第三氣缸、推板、氣體管道和關閉單元,所述第一加熱器與所述收集箱固定連接,并位于所述收集箱的內底壁,所述第二氣缸與所述殼體固定連接,并位于所述殼體的下方,所述第二氣缸的輸出端與所述密封板固定連接,所述密封板的一端貫穿所述收集箱,所述第三氣缸與所述收集箱固定連接,并位于所述收集箱遠離所述第二氣缸的一側,所述第三氣缸的輸出端貫穿所述收集箱,并與所述推板固定連接,所述氣體管道的兩端分別與所述收集箱和所述過濾箱連通,所述關閉單元設置于所述收集箱上。
其中,所述關閉單元包括門板、第一固定塊、第二固定塊和電推桿,所述收集箱具有排料口,所述門板與所述收集箱轉動連接,并與所述排料口相互適配,所述第一固定塊與所述門板固定連接,并位于所述門板的一側,所述第二固定塊與所述收集箱固定連接,并位于所述收集箱的一側,所述電推桿與所述第二固定塊轉動連接,所述電推桿的輸出端與所述第一固定塊轉動連接。
本發明還提供一種基于物聯網遠程控制的污水處理除臭方法,采用上述所述的基于物聯網遠程控制的污水處理除臭系統,包括如下步驟:
通過所述進水口輸入污水,所述過濾板過濾雜質和污泥,然后通過所述第一管道到達所述攪拌箱;
通過所述進料口加入除臭劑,所述電機啟動,帶動所述轉軸和攪拌板進行混合,對污水進行除臭;
所述第一氣缸啟動,帶動所述過濾板進過所述開槽達到所述殼體內部;
所述第二泵體將水抽入所述伸縮軟管,經過所述高壓噴頭對所述過濾板進行反沖洗清理,將所述過濾板上的污泥雜質沖洗掉落在所述收集箱內;
所述過濾板復位繼續使用,然后所述密封板對所述收集箱封閉;
所述第一加熱器啟動,對沖洗的污水進行烘干,產生的水蒸氣經過所述氣體管道達到所述過濾板繼續過濾;
污泥雜質被烘干為固體后,所述第三氣缸啟動,帶動所述推板將其推出,排空所述收集箱,由此重復收集沖洗的污泥雜質。
本發明的一種基于物聯網遠程控制的污水處理除臭系統及其方法,通過所述進水口輸入污水,經過所述過濾板過濾污泥雜質,通過所述連通單元到達所述除臭劑攪拌單元加入除臭劑并進行攪拌,起到除臭作用,所述第一氣缸啟動,帶動所述過濾板經過所述開槽到達所述殼體內,所述反沖洗單元啟動,然后所述電子滑軌帶動所述滑塊和所述反沖洗單元上下移動,對所述過濾板進行沖洗,沖洗污水下落在所述收集箱內,通過所述物聯網控制器可以與上位的物聯網設備連接,便于用戶遠程控制除臭系統的各個設備運行,通過上述結構設置,可自動清洗所述過濾板,無需拆卸更換,可快速重新投入使用,有效提高污水處理效率,反復使用,可降低污水處理成本。
(發明人:王新春;杜運祥;曹大偉)






