公布日:2023.10.24
申請日:2022.03.30
分類號:C02F9/00(2023.01)I;C02F7/00(2006.01)N;C02F1/04(2023.01)N;C02F1/40(2023.01)N
摘要
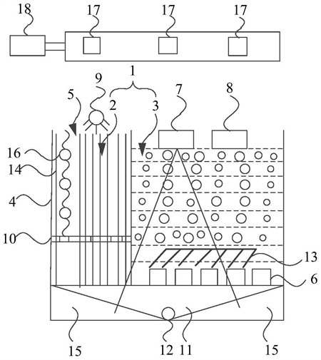
本發明提供一種含油污泥處理裝置及系統。所述含油污泥處理裝置包括處理腔,所述處理腔內設置包括過濾腔的過濾單元,所述處理腔中除過濾單元之外的腔體為曝氣洗滌單元,所述過濾單元的入口用于接收待處理的含油污泥,所述過濾單元的M個第一出口與所述曝氣洗滌單元連通;所述曝氣洗滌單元內設置N個曝氣輸出頭、油相收集單元以及水相收集單元;其中,M≥1,N>1。本發明的含油污泥處理裝置,采用一體化結構設計完成對含油污泥的處理,具有成本低、能耗低、除油效果好的優勢。

權利要求書
1.一種含油污泥處理裝置,其特征在于,包括處理腔,所述處理腔內設置包括過濾腔的過濾單元,所述處理腔中除過濾單元之外的腔體為曝氣洗滌單元,所述過濾單元的入口用于接收待處理的含油污泥,所述過濾單元的M個第一出口與所述曝氣洗滌單元連通;所述曝氣洗滌單元內設置N個曝氣輸出頭、油相收集單元以及水相收集單元;其中,M≥1,N>1。
2.根據權利要求1所述的處理裝置,其特征在于,所述曝氣洗滌單元中盛裝有來自于所述過濾單元的濾后含油污泥,所述油相收集單元位于所述曝氣洗滌單元的液面處;所述油相收集單元為浮動收油器。
3.根據權利要求1或2所述的處理裝置,其特征在于,包括蒸汽噴射單元,所述蒸汽噴射單元的噴射方向朝向所述過濾單元的入口。
4.根據權利要求1-3任一項所述的處理裝置,其特征在于,所述過濾腔內包括可移動的過濾件。
5.根據權利要求1-4任一項所述的處理裝置,其特征在于,所述過濾腔內包括篩分孔板,所述篩分孔板覆蓋在至少一個所述過濾單元的出口。
6.根據權利要求1-5任一項所述的處理裝置,其特征在于,所述曝氣洗滌單元內設置有加熱單元。
7.根據權利要求1-6任一項所述的處理裝置,其特征在于,還包括沉降腔,所述沉降腔設置于所述處理腔的底部,且所述沉降腔分別與過濾腔和曝氣洗滌單元連通。
8.根據權利要求7任一項所述的處理裝置,其特征在于,所述沉降腔具有錐形結構。
9.根據權利要求1-8任一項所述的處理裝置,其特征在于,還包括空氣冷凝單元和/或氣體凈化單元;所述空氣冷凝單元的入口與所述氣體凈化單元的入口均朝向所述曝氣洗滌單元。
10.一種含油污泥處理系統,其特征在于,包括X個串聯和/或并聯的權利要求1-9任一項所述的含油污泥處理裝置,其中,X≥2。
發明內容
本發明提供一種含油污泥處理裝置,該處理裝置采用一體化結構設計完成對含油污泥的處理,具有成本低、能耗低、分離效果好的優勢。
本發明還提供一種含油污泥處理系統,該處理系統由于包括上述含油污泥處理裝置,因此同樣具有成本低、能耗低、分離效果好的優勢。
本發明第一方面提供一種含油污泥處理裝置,包括處理腔,所述處理腔內設置包括過濾腔的過濾單元,所述處理腔中除過濾單元之外的腔體為曝氣洗滌單元,所述過濾單元的入口用于接收待處理的含油污泥,所述過濾單元的M個第一出口與所述曝氣洗滌單元連通;
所述曝氣洗滌單元內設置N個曝氣頭、油相收集單元以及水相收集單元;
其中,M≥1,N>1。
如上所述的處理裝置,其中,所述曝氣洗滌單元中盛裝有來自于所述過濾單元的濾后含油污泥,所述油相收集單元位于所述曝氣洗滌單元的液面處;
所述油相收集單元為浮動收油器。
如上所述的處理裝置,其中,包括蒸汽噴射單元,所述蒸汽噴射單元的噴射方向朝向所述過濾單元的入口。
如上所述的處理裝置,其中,所述過濾腔內包括可移動的過濾件。
如上所述的處理裝置,其中,所述過濾腔內包括篩分孔板,所述篩分孔板覆蓋在至少一個所述過濾單元的出口。
如上所述的處理裝置,其中,所述曝氣洗滌單元內設置有加熱單元。
如上所述的處理裝置,其中,還包括沉降腔,所述沉降腔設置于所述處理腔的底部,且所述沉降腔分別與過濾腔和曝氣洗滌單元連通。
如上所述的處理裝置,其中,所述沉降腔具有錐形結構。
如上所述的處理裝置,其中,還包括空氣冷凝單元和/或氣體凈化單元;
所述空氣冷凝單元的入口與所述氣體凈化單元的入口均朝向所述曝氣洗滌單元。
本發明第二方面提供一種含油污泥處理系統,其中,包括X個串聯和/或并聯的如上所述的含油污泥處理裝置,其中,X≥2。
本發明的含油污泥處理裝置,該處理裝置采用一體化結構設置,將過濾單元、曝氣洗滌單元、油相收集單元以及水相收集單元集成于一個裝置內,在一個裝置內實現了水、油、泥三相的分離與收集,降低了含油污泥的處理成本和能耗,具有極大的工業應用價值。
本發明的含油污泥處理系統,可根據含油污泥的處理復雜程度與處理指標的不同,采用多個串聯和/或并聯的含油污泥處理裝置對含油污泥進行處理,從而滿足含油污泥處理的不同需求。
(發明人:王慶吉;邵志國;李興春;張曉飛;劉光全;裴明東)






