申請日2014.10.15
公開(公告)日2015.04.15
IPC分類號C02F9/04
摘要
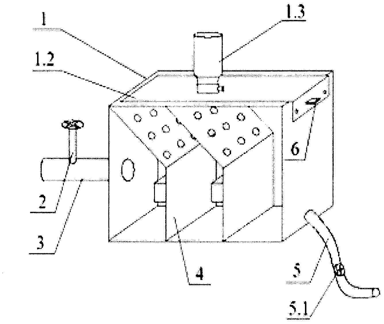
本實用新型公開一種生物課堂用廢水處理模擬裝置,包括箱體,箱體頂部安裝有活動上蓋,箱體內安裝有若干過濾板;所述的活動上蓋中安裝有試劑瓶。在此基礎上,過濾板為L型板,由豎板和橫板組成,豎板之間的距離不同,按照距離的1/2依次遞減,橫板為傾斜狀,傾斜角度為45°-60°;試劑瓶與活動上蓋之間設置有過濾裝置,過濾裝置為過濾絲網或者過濾棉;進液管以及出液管均為可伸縮管,伸縮的調整范圍為6cm-12cm;箱體為復合型,外側的材料使用鋁合金為材質,內部的材料使用不銹鋼為材質。本實用新型裝置結構簡單,教學操作方便,且制造成本低,試驗效果好,能夠提高學生對于水凈化的認識,確保了教學質量。
權利要求書
1.一種生物課堂用廢水處理模擬裝置,包括箱體(1),箱體(1)頂部安裝有活動上蓋(1.2),箱體(1)一端與進液管(3)連接,另一端與出液管(5)連接,其特征在于,箱體(1)內安裝有若干過濾板(4);所述的活動上蓋(1.2)中安裝有試劑瓶(1.3);
其特征在與,所述的過濾板(4)為L型板,由豎板和橫板組成,豎板之間的距離不同,按照距離的1/2依次遞減,橫板為傾斜狀,傾斜角度為45°-60°;
所述的試劑瓶(1.3)與活動上蓋(1.2)之間設置有過濾裝置,所述的過濾裝置為過濾絲網或者過濾棉;
所述的進液管(3)以及出液管(5)均為可伸縮管,伸縮的調整范圍為6cm-12cm;
所述的箱體(1)為復合型,外側的材料使用鋁合金為材質,內部的材料使用不銹鋼為材質。
2.根據權利要求1 所述的一種生物課堂用廢水處理模擬裝置,其特征在于,所述的進液管(3)上裝有進液閥門(2);所述的出液管(5)上裝有出液閥門(5.1)。
3.根據權利要求1或2所述的一種生物課堂用廢水處理模擬裝置,其特征在于,所述的活動上蓋(1.2)一端通過鉸鏈安裝在箱體(1)上,另一端接有L形板,所述L形板的一端安裝有擋塊(6)。
4.根據權利要求1或2所述的一種生物課堂用廢水處理模擬裝置,其特征在于,所述的試劑瓶(1.3)與活動上蓋(1.2)間安裝有控制閥門。
說明書
生物課堂用廢水處理模擬裝置
技術領域
本實用新型涉及一種凈化及處理裝置,特別涉及一種生物課堂用廢水處理模擬裝置,屬于水處理設備領域。
背景技術
生物學是一門特殊的學科,是一門專門研究生命現象和活動規律的自然科學,有生命的植物、細菌、真菌、病毒、動物、人,都是生物科學專門的研究對象。由此可見,生物課的地位和重要性是顯而易見的,它在中學生的課程中有生命性、實驗性和現代性等特點。
隨著生物行業的迅速發展,工業廢水的處理及排放也逐漸成為人們關注的焦點,如造紙、制藥等行業產生的廢水中多含有有機物質,如果該廢水未經處理直接排放,廢水中的有機物以懸浮或溶解狀態存在于污水中,會通過微生物的生物化學作用而分解,在其分解過程中消耗氧氣,造成水中溶解氧減少,影響魚類和其他水生生物的生長,若被人體飲用,會危害身體健康,然而如何能夠在生物的課堂中結合實際,對廢水進行模擬處理,提高學生對廢水危害的認識是目前生物教學的研究問題之一。
發明內容
針對上述現有技術存在的問題,本實用新型提供一種生物課堂用廢水處理模擬裝置,結構簡單,教學操作方便,且制造成本低,試驗效果好,能夠提高學生對于水凈化的認識,確保了教學質量。
為了實現上述目的,本實用新型采用的一種生物課堂用廢水處理模擬裝置,包括箱體,箱體頂部安裝有活動上蓋,箱體一端與進液管連接,另一端與出液管連接,箱體內安裝有若干過濾板;所述的活動上蓋中安裝有試劑瓶。
在此基礎上,過濾板為L型板,由豎板和橫板組成,豎板之間的距離不同,按照距離的1/2依次遞減,橫板為傾斜狀,傾斜角度為45°-60°;試劑瓶與活動上蓋之間設置有過濾裝置,過濾裝置為過濾絲網或者過濾棉;進液管以及出液管均為可伸縮管,伸縮的調整范圍為6cm-12cm;箱體為復合型,外側的材料使用鋁合金為材質,內部的材料使用不銹鋼為材質。
進一步,上板、下板分別以聚四氟乙烯為材質。
進一步,進液管上裝有進液閥門;出液管上裝有出液閥門。
進一步,活動上蓋一端通過鉸鏈安裝在箱體上,另一端接有L形板,所述L形板的一端安裝有擋塊。
進一步,試劑瓶與活動上蓋間安裝有控制閥門。
本實用新型的有益效果是:在生物課堂中,將含有有機雜質的廢水通入到箱體內,箱體內各過濾板中安裝的吸附包及板上開有的過濾孔,對有機雜質進行過濾、吸附處理,將有機雜質充分吸附,有效的起到廢水凈化處理作用;同時活動上蓋中裝有的試劑瓶可以向箱內添加化學試劑,對廢水進行反應處理,進一步除去廢水中的雜質;該裝置結構簡單,操作使用方便,制造成本低。
在此基礎上,過濾板為L型板,由豎板和橫板組成,豎板之間的距離不同,按照距離的1/2依次遞減,橫板為傾斜狀,傾斜角度為45°-60°,依次遞減,逐漸增強了過濾的力度,確保了過濾的效果;試劑瓶與活動上蓋之間設置有過濾裝置,過濾裝置為過濾絲網或者過濾棉,確保試劑的純度,保證了處理的效果;進液管以及出液管均為可伸縮管,伸縮的調整范圍為6cm-12cm,提高整體裝置的靈活性;箱體為復合型,外側的材料使用鋁合金為材質,內部的材料使用不銹鋼為材質,提高耐腐蝕性,降低維修和更換的成本。







