申請日2013.08.21
公開(公告)日2017.10.24
IPC分類號F04D29/24; F04D7/04; F04D29/42
摘要
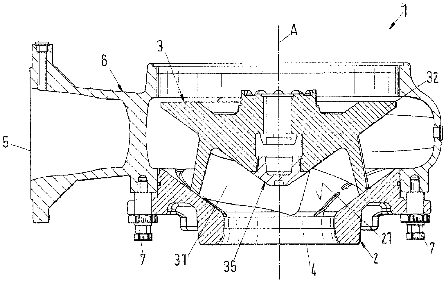
提出了用于用來輸送廢水的泵的葉輪,所述葉輪具有圍繞轉動軸線(A)能旋轉的承載體(32),在所述承載體上設置了兩個葉片(31)用于輸送,其中所述葉片(31)分別具有入口區域(311),所述入口區域(311)從入口邊緣(310)一直延伸到頂部(S),其中所述葉片(31)的壁厚(d)在其背向所述承載體(32)的端側(350)在所述入口區域(311)中從所述入口邊緣(310)起增大并且在所述頂部(S)處達到其最大值,其中,所述葉片(31)在所述入口區域(311)中在軸向方向上從所述承載體(32)朝所述端側(350)關于所述壁厚逐漸變細。還提出了與這種葉輪共同作用的底板以及用于輸送廢水的泵。
權利要求書
1.葉輪,用于用來輸送廢水的泵,所述葉輪具有圍繞轉動軸線(A)能旋轉的承載體(32),在所述承載體上設置了分別具有壓力側(330) 和吸入側(340)的兩個葉片(31)用于輸送,其中所述葉片(31)分別具有入口區域(311),所述入口區域(311)從入口邊緣(310)一直延伸到頂部(S),其中所述葉片(31)的壁厚(d)在其背向所述承載體(32)的端側(350)在所述入口區域(311)中從所述入口邊緣(310)起增大并且在所述頂部(S)處達到其最大值,其特征在于,所述葉片(31)在所述入口區域(311)中在軸向方向上從所述承載體(32)朝所述端側(350)關于所述壁厚逐漸變細,其中所述葉片(31)在所述入口區域(311)中不僅在所述壓力側(330)而且在所述吸入側(340)以不同于零的傾角(α)逐漸變細。
2.根據權利要求1所述的葉輪,其中,所述葉片(31)在所述入口區域(311)中不僅在壓力側(330)而且在吸入側(340)以至少兩度的傾角(α)逐漸變細。
3.根據權利要求1-2中任一項所述的葉輪,其中,在所述頂部(S)和所述葉片(31)的壓力側(330)上的出口邊緣(320)之間設置第一區域(312),在所述第一區域中所述葉片(31)在軸向方向上從所述承載體(32)朝所述端側(350)關于所述壁厚逐漸變細。
4.根據權利要求1-2中任一項所述的葉輪,其中,在所述頂部(S)和所述葉片(31)的壓力側(330)上的出口邊緣(320)之間設置第二區域(313),在所述第二區域中所述葉片(31)在其端側(350)具有比在其與所述承載體(32)相連的側面處的壁厚更大的壁厚。
5.根據權利要求1-2中任一項所述的葉輪,其中,所述承載體(32)構造成截錐形。
6.根據權利要求1-2中任一項所述的葉輪,其中,所述入口邊緣(310)具有至少10mm的曲率半徑(r)。
7.根據權利要求1-2中任一項所述的葉輪,其中,所述入口邊緣(310)具有至少15mm的曲率半徑(r)。
8.根據權利要求1-2中任一項所述的葉輪,其中,所述入口邊緣(310)以小于90度的角度(ε)匯入所述承載體(32)中。
9.根據權利要求3所述的葉輪,其中,在所述入口區域(311)的端側(350)處的第一中切線(T1)和在所述第一區域(312)的端側(350)處的第二中切線(T2)以鈍的頂角(γ)相交。
10.根據權利要求9所述的葉輪,其中,所述鈍的頂角(γ)至少是100°并且最大是125°。
11.根據權利要求1-2中任一項所述的葉輪,其中,設置了中心孔(33)用于容納驅動軸以及構造成錐形的蓋(35)以便在葉片側封閉所述中心孔(33)。
12.底板,用于與根據前述權利要求中任一項所構造的葉輪(3)共同作用,所述底板具有用于吸入廢水的中心進入開口(4),具有與所述葉輪(3)的所述承載體(32)的走向相匹配的工作面(21),其特征在于,在所述工作面(21)中設置至少一個第一槽(81),所述至少一個第一槽從所述工作面(21)的面向所述進入開口(4)的邊緣(22)向外延伸,其中所述第一槽(81)在所述工作面(21)中結束。
13.根據權利要求12所述的底板,其中,在所述工作面(21)中設置至少一個第二槽(82),所述至少一個第二槽從所述工作面(21)的外邊緣(23)向內延伸,其中所述第二槽(82)在所述工作面(21)中結束,其中每個第二槽(82)構造成沒有與所述第一槽(81)中的一個直接流通連接。
14.根據權利要求13所述的底板,其中,所述第二槽(82)關于徑向方向具有比所述第一槽(81)更大的曲率。
15.泵,用于輸送廢水或包含固體物質的液體,所述泵具有根據權利要求1-11中任一項所構造的葉輪(3)或具有根據權利要求12-14中任一項所構造的底板(2)。
16.根據權利要求15所述的泵,所述泵構造成潛水泵。
說明書
用于輸送廢水的泵以及用于這種泵的葉輪和底板
技術領域
本發明涉及根據相應類型的獨立權利要求的前序部分所述的用于輸送廢水或包含固體物質(Feststoff)的液體的泵以及用于這種泵的葉輪和底板。
背景技術
在輸送廢水并且尤其輸送來自家庭的廢水時產生了問題,因為這些液體包含纖維材料、抹布、紡織物或其它固體物質,它們會非常容易地附著在泵的區域中并且隨后可導致泵的效率、尤其是泵的液壓效率下降直到泵的葉輪完全阻塞并且引起維修(Serviceeinsatz)或者時常引起成本高昂的維護工作。因此,在使用這種泵時必須采取專門的措施,以便有效地防止堵塞。
通常這類泵構造為具有徑向或半軸向的葉輪的離心泵,其中葉輪可僅具有一個葉片(Schaufel)或也可具有多個葉片。通常,具有多個葉片的葉輪的突出之處在于較高的效率(Wirkungsgrad),但是為了防止固體、例如纖維材料在輸送路徑中積聚(Anlagern)或保持掛住(Hängenbleiben)也提出了特別的要求。根據流動的停滯點(Staupunkt)在葉片處所處的位置,纖維材料或類似物可以被擠壓到葉片的表面處并且保留在那里。
發明內容
因此,從該現有技術出發,本發明的任務是提出了用于輸送廢水或包含固體物質的材料的泵,所述泵的突出之處在于關于固體物質的非常好的通過特性(Durchgangsverhalten),其中同時應該可以實現盡可能好的液壓效率或高的液壓效率。特別地,通過本發明也提出了用于這種泵的葉輪和底板。
本發明的解決所述任務的主題的特征在于獨立權利要求的特征。
因此,根據本發明提出了用于用來輸送廢水的泵的葉輪,具有圍繞轉動軸線可旋轉的承載體,在所述承載體上設置了兩個葉片用于輸送,其中所述葉片分別具有入口區域,所述入口區域(Eintrittsbereich)從入口邊緣(Eintrittskante)一直延伸到頂部,其中葉片的壁厚在其背向承載體的端側在入口區域中從入口邊緣起增大并且在頂部處達到其最大值,其中葉片在入口區域中在軸向方向上從承載體朝端側關于壁厚逐漸變細。
通過葉片在入口區域中關于軸向方向的這種制成斜面實現了固體物質不再可以如此輕易地粘附在葉片處,而是通過傾斜引起了滑出或滑落并且繼續被輸送。通過具有至少兩個葉片的設計方案可以同時實現高的液壓效率。
在實踐中,葉片在入口區域中以至少兩度的傾角逐漸變細已證明是有利的。
特別有利的是,葉片在入口區域中不僅在壓力側而且在吸入側以至少兩度的傾角逐漸變細。通過在葉片的入口區域中的這種兩側制成斜面可以有效地防止固體物質不僅粘附在葉片的壓力側上而且粘附在葉片的吸入側上。此外獲得的優勢是,葉片至少在入口區域中可自然脫模,由此意味著在葉片的整個入口區域中在以澆鑄技術制造時不必為了能使葉片脫模而設置芯部或砂芯。因此,這些面并且尤其是入口邊緣的區域在制造過程中保持免于清砂工作或其它材料剝蝕的后處理、例如磨削。這種工作在所述區域中在澆鑄的情況下設置芯部或其它部件時就必不可少,所述芯部或其它部件導致了在鑄體上的接縫、毛刺或其它后續要去除的不平整。
另一個有利的措施在于,在頂部和葉片的壓力側上的出口邊緣之間設置第一區域,在所述第一區域中葉片在軸向方向上從承載體朝端側關于壁厚逐漸變細。因為通過這種方式還有利于纖維材料或其它的固體在所述區域中在葉片的壓力側上滑落。
出于液壓或流動技術的原因,優選的是,在頂部和葉片的壓力側上的出口邊緣之間設置第二區域,在所述第二區域中葉片在其端側具有比在其與承載體相連的側面處的壁厚更大的壁厚。葉片在所述第二區域中——與第一區域相反——優選被后切。
在承載體構造成截錐形時可以實現關于固體物質的特別好的通過特性。通過承載體的傾斜有效抵抗了固體物質的積聚。那樣的話,葉輪構造成半軸向葉輪。
與普遍的學術觀點相反,入口邊緣具有至少10mm、優選至少15mm的曲率半徑已證明是有利的。通過這種非常寬的或較少彎曲的入口邊緣的設計方案對固體物質在入口邊緣處的滑落產生積極的影響。
另一個優選的措施在于,入口邊緣以小于90度的角度匯入承載體中。因此入口邊緣關于軸向方向未與承載體垂直,而是在流動方向上看向后傾斜(back swapped leadingedge(后交換前緣))。
由于葉片在端側首先直到頂部增大的壁厚并且優選隨后在端側減小的壁厚,葉片的端側具有在頂部的區域中醒目的彎折(Abknicken)的外觀。所屬的頂角優選是鈍角。因此,如果在入口區域的端側設置第一中切線并且在第一區域的端側設置第二中切線,那么所述第一中切線和所述第二中切線以鈍的頂角相交,所述頂角優選至少是100°并且最大是125°。這種葉片厚度分布——如還要闡述的——尤其對于與根據本發明的底板的共同作用是有利的。
此外,有利的是,在葉輪中設置中心孔用于容納驅動軸以及構造成錐形的蓋以便在葉片側封閉中心孔。錐形的蓋(其特別優選地表示承載體的錐形設計方案的延長)也有助于固體物質的滑落并且因此改善葉輪關于固體物質的通過特性。
根據本發明的葉輪還可以具有三個葉片。
通過本發明還提出了用于與根據本發明構造的葉輪共同作用的底板,具有用于吸入廢水的中心進入開口(Einlassöffnung),具有與葉輪的承載體的走向相匹配的工作面,其中在所述工作面中設置了至少一個第一槽,所述至少一個第一槽從工作面的面向進入開口的邊緣向外延伸,其中第一槽在工作面中結束。通過所述第一槽與葉輪的葉片的葉片厚度分布的共同作用在葉片經過時可以產生脈動效應(Pulsationseffekt),所述脈動效應防止固體物質保持掛在葉片上。
一個有利的措施在于,在工作面中設置了至少一個第二槽,所述至少一個第二槽從工作面的外邊緣向內延伸,其中第二槽在工作面中結束,其中每個第二槽構造成沒有與第一槽中的一個直接流通連接。通過在工作面的外邊緣處設置的第二槽,產生固體物質與葉輪的相對運動。此外由此實現了剪切效應(Schneideeffekt),所述剪切效應可導致固體物質部分的減小。在工作面中在第一和第二槽之間不存在流通連接,通過這種方式可實現更好的效率,因為至少降低了液體的徑向或半徑向的回流。
在實踐中,第二槽關于徑向方向具有比第一槽更大的曲率已證明是有利的。
此外,針對應用情況可以優化底板的工作面中的槽的數量、布置和幾何形狀。
通過本發明還提出了用于輸送廢水或包含固體物質的液體的泵,具有根據本發明構造的葉輪,或者具有根據本發明構造的底板。這種泵的突出之處在于高的效率和非常好的關于固體物質的通過特性。
對于作為廢水泵的應用,泵優選構造為可完全或部分浸入到要輸送的介質中的潛水泵。
本發明的其它有利的措施和優選的設計方案從從屬權利要求得到。







