申請日2015.07.21
公開(公告)日2015.10.28
IPC分類號C02F3/30
摘要
本發明公開了一種基于填料和折疊板的廢水生物膜反應器,包括進水池、布水槽、供廢水流經的重力導流裝置、循環水池、沉淀池、用于支撐所述布水槽和重力導流裝置的支架,所述布水槽通過管道及進水泵連接進水池,所述重力導流裝置設置于布水槽下方,包括在豎直方向上相隔一定間距層疊排布且各自傾斜一定角度的若干折疊板,相鄰兩塊折疊板的傾斜方向相反,所述折疊板的上表面粘結有生物親和性填料,所述循環水池通過管道和循環泵連接布水槽,同時還通過連接管連接沉淀池,本發明折疊板上的水層較薄有利于廢水中的有機物充分與生物膜接觸及空氣中的氧溶解入廢水層,折疊板落差使廢水充分與空氣接觸,有利于氧溶解于廢水中,體積小成本低。
權利要求書
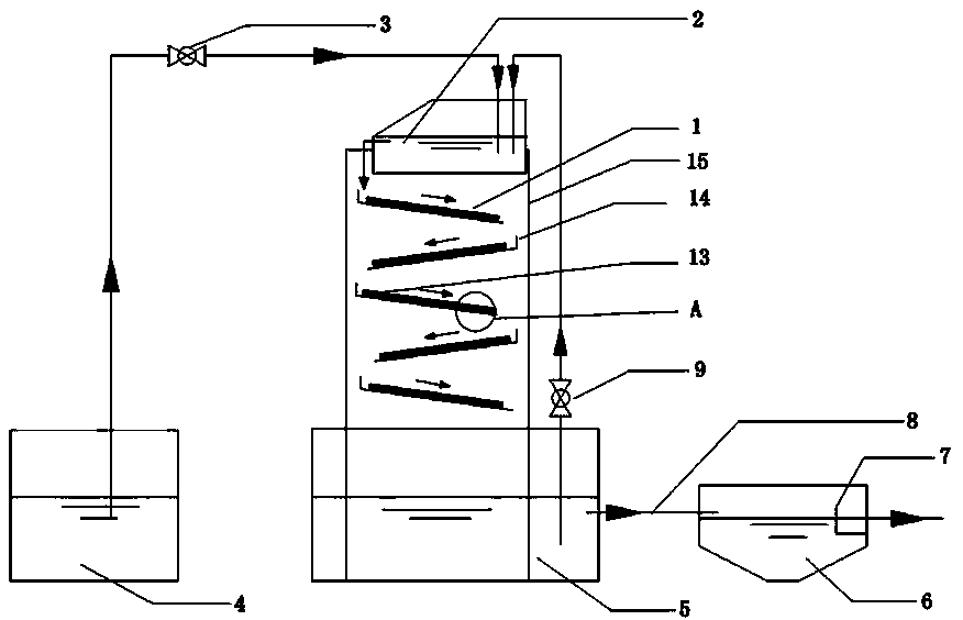
1.一種基于填料和折疊板的廢水生物膜反應器,其特征在于:包括進水池(4)、布水槽(2)、供廢水流經的重力導流裝置、循環水池(5)、沉淀池(6)、用于支撐所述布水槽(2)和重力導流裝置的支架(15),所述布水槽(2)通過管道及進水泵(3)連接進水池(4),布水槽(2)出水口處設置有齒狀溢流槽,所述重力導流裝置設置于布水槽(2)下方,包括在豎直方向上相隔一定間距層疊排布且各自傾斜一定角度的若干折疊板(1),相鄰兩塊折疊板(1)的傾斜方向相反,所述折疊板(1)的上表面粘結有生物親和性填料(13),布水槽(2)內的廢水沿所述折疊板(1)由上向下呈折線形逐板流過落入位于重力導流裝置下方的循環水池(5)內,所述循環水池(5)通過管道和循環泵(9)連接布水槽(2),同時還通過具有閘閥的連接管(8)連接帶有出水口的沉淀池(6)。
2.根據權利要求1所述的基于填料和折疊板的廢水生物膜反應器,其特征在于:所述生物親和性填料(13)為多空介質材料、絲狀介質材料或兩者的混合物。
3.根據權利要求2所述的基于填料和折疊板的廢水生物膜反應器,其特征在于:所述多孔介質材料為海綿、活性炭、多孔陶瓷或火山石。
4.根據權利要求2所述的基于填料和折疊板的廢水生物膜反應器,其特征在于:所述絲狀介質材料為棉紗或高分子聚酯纖維絲。
5.根據權利要求1所述的基于填料和折疊板的廢水生物膜反應器,其特征在于:所述的折疊板(1)的傾斜角度為1~45度。
6.根據權利要求1所述的基于填料和折疊板的廢水生物膜反應器,其特征在于:在每塊所述折疊板(1)入水端垂直向上地設置有防止廢水外溢的檔水板(15),所述檔水板(15)。
7.根據權利要求6所述的基于填料和折疊板的廢水生物膜反應器,其特征在于:所述擋水板(15)垂直高度為單塊所述折疊板(1)傾斜高度的1/10~1/2。
8.根據權利要求1所述的基于填料和折疊板的廢水生物膜反應器,其特征在于:相鄰兩塊所述折疊板(1)中,處于上層的所述折疊板(1)的出水端與下一層所述折疊板(1)的入水端的水平距離為單塊所述折疊板(1)長度的1/20~1/5。
9.根基權利要求1所述的基于填料和折疊板的廢水生物膜反應器,其特征在于:相鄰兩塊所述折疊板(1),處于上層的所述折疊板(1)的出水端與處于下層的所述折疊板(1)的入水端的垂直距離為所述兩塊所述折疊板(1)最大垂直間距的1/10~1。
10.根基權利要求1所述的基于填料和折疊板的廢水生物膜反應器,其特征在于:所述沉淀池(6)內相鄰出水口處設置有出水堰(7)。
說明書
一種基于填料和折疊板的廢水生物膜反應器
技術領域
本發明涉及一種基于填料和折疊板的廢水生物膜反應器,屬于水源水、廢水或污水處理的技術領域。
背景技術
現行通用的廢水生物降解方法有很多種,按照是否需要供氧可以分為厭氧生物處理法和需氧生物處理法。
1)、厭氧生物處理法:這種方法是在厭氧細菌或兼性細菌的作用下將廢水中的有機物分解,最終產生甲烷、二氧化碳和水等物質的反應過程,適用于處理高濃度的有機廢水。由于厭氧細菌或兼性細菌生長周期較長,往往造成厭氧反應器的啟動期長,厭氧反應器需要較大的占地面積,建設費用較高等。
2)、需氧生物處理法:利用需氧微生物在有氧條件下將廢水中復雜的有機物分解或吸附的方法。其不足之處表現在:① 土建與設備投資很大;②由于受碳源及溶氧濃度控制的限制,生物脫氮能力不足;③運行時需要曝氣,能耗較大;④活性污泥法,還會產生大量的剩余污泥。
發明內容
本發明所要解決的問題在于針對上述現有技術設備的不足,發明一種基于填料和折疊板的廢水生物膜反應器,它能將廢水厭氧處理、好氧處理、生物脫氮有機結合到一個反應器中,占地面積小,節省土建投資;由于只使用水泵提升至布水槽后,廢水靠重力在折疊板之間自流,充分的與空氣接觸,不需要安裝曝氣裝置,達到良好的溶氧效果,減少了設備投資,降低了運行、維護成本;由于采用的是生物膜法,各類微生物固著在載體上,實現了水力停留時間與污泥停留時間的分離,從源頭上減少了剩余污泥量。在折疊板上,溶解氧濃度沿著生物膜垂直向下的方向逐步降低,自動的形成了好氧區、缺氧區以及厭氧區,利于硝化與反硝化細菌的生長。厭氧處理分解的部分產物、菌體自溶物為反硝化提供碳源,提高了脫氮效率。
為了實現上述目的本發明采用如下技術方案:
一種基于填料和折疊板的廢水生物膜反應器,包括進水池、布水槽、供廢水流經的重力導流裝置、循環水池、沉淀池、用于支撐所述布水槽和重力導流裝置的支架,所述布水槽通過管道及進水泵連接進水池,布水槽出水口處設置有齒狀溢流槽,所述重力導流裝置設置于布水槽下方,包括在豎直方向上相隔一定間距層疊排布且各自傾斜一定角度的若干折疊板,相鄰兩塊折疊板的傾斜方向相反,所述折疊板的上表面粘結有生物親和性填料,布水槽內的廢水沿所述折疊板由上向下呈折線形逐板流過落入位于重力導流裝置下方的循環水池內,所述循環水池通過管道和循環泵連接布水槽,同時還通過具有閘閥的連接管連接帶有出水口的沉淀池。
進一步地,所述生物親和性填料為多空介質材料、絲狀介質材料或兩者的混合物。
進一步地,所述多孔介質材料為海綿、活性炭、多孔陶瓷、火山石。
進一步地,所述絲狀介質材料為棉紗、高分子聚酯纖維絲。
進一步地,所述的折疊板的傾斜角度為1~45度。
進一步地,在每塊所述折疊板入水端垂直向上地設置有防止廢水外溢的檔水板,所述檔水板。
進一步地,所述擋水板垂直高度為單塊所述折疊板傾斜高度的1/10~1/2。
進一步地,相鄰兩塊所述折疊板中,處于上層的所述折疊板的出水端與下一層所述折疊板的入水端的水平距離為單塊所述折疊板長度的1/20~1/5。
進一步地,相鄰兩塊所述折疊板,處于上層的所述折疊板的出水端與處于下層的所述折疊板的入水端的垂直距離為所述兩塊所述折疊板最大垂直間距的1/10~1。
進一步地,所述沉淀池內相鄰出水口處設置有出水堰。
相比現有技術,本發明的有益效果是:
1. 本發明之中的生物膜反應器,將進水調節池中的廢水,經過進水泵進行一次提升,流入布水槽,使廢水均勻的跌落在折疊板上,達到均勻布水的目的。
2. 本發明之中的生物膜反應器,折疊板是多級的,水流逐級在折疊板間跌落,廢水在流動及跌落過程中會與空氣充分接觸,實現跌落充氧,因此不需要曝氣裝置,可以減少總電耗的10%——30%,降低運行成本。
3. 本發明之中的生物膜反應器,折疊板向上的平面上粘結生物親和性填料,能夠有效地增加折疊板的比表面積,微生物更穩定的附著于填料上,利于生長周期緩慢的微生物生長,隨著填料厚度的增加,溶解氧濃度逐漸降低,一個反應器上形成了好氧區、缺氧區及厭氧區,實現廢水的同步硝化反硝化。
4. 本發明之中的生物膜反應器,下部的循環池通過循環泵與上部的布水槽連通,增加了水力停留時間,保證出水水質。
5. 本發明之中的沉淀池,將老化的生物膜沉淀分離,降低出水的中的固體懸浮物含量。







