魚粉是含有大量蛋白質食品,鈣、磷、鐵、碘等礦物質含量也多,對生物生長有極大的促進作用,經特別處理的魚粉可作為食用,一般魚粉可作為飼料或肥料。隨著我國生產的躍進,人民生活的提高,農副業的迅速發展,人民對魚粉的要求日益迫切,魚粉也是國際水產品中十分暢銷的產品。我國近年來魚粉產業發展很快,魚粉加工廢水排放量日趨增大,大量的污水得不到及時處理,直接排入附近水體,導致河流嚴重污染,大量的微生物滋生,惡臭逸散,城區環境質量嚴重惡化,對人民群眾的身心健康造成很大的威脅,嚴重妨礙了當地社會經濟的快速健康發展,直接影響到周邊的水環境質量,危及當地及周圍水域的用水資源,農漁業生產也受到了嚴重的影響。
本文以榮成市某處污水處理廠為例,對魚粉加工及冷藏廢水的處理技術進行介紹,為今后魚粉加工行業廢水處理工藝技術的選擇提供參考依據。
1、設計規模
該污水處理廠服務范圍內有各類企業大概有50多家,以魚粉加工及冷藏廠為主,大都是家庭式加工廠,單個工廠排水量較小,并且企業排水隨季節變化性較強,每年下半年生產旺季排水量較多,淡季排水量較小。根據統計,目前生產淡季排水量大概在2000m3/d左右,生產旺季在4000m3/d左右,最終確定設計規模為5000m3/d。
2、設計進水水質
魚粉加工企業廢水濃度高、處理難度大,特別是NH3-N、TN指標較高,已經超出正常設置二級生化處理污水處理廠的承受范圍,如不經過企業內部預處理而直接排入污水處理廠,很難達標排放,也勢必會造成污水處理廠建設投資大,運行成本高,不利于發揮污水處理廠集中處理的規模效益。如果要求各企業將廢水處理到《污水排入城市下水道水質標準》再排入污水處理廠,有較大難度,也增加了企業的經營成本。因此,在適當放寬企業廢水納管標準的基礎上,經企業內部處理后,再排入污水處理廠進一步處理,最終確定設計進水水質如表1所示。

3、設計出水水質
污水處理廠出水排入附近河流,最終匯入黃海,根據當地環保部門要求,污水處理廠出水水質達到《城鎮污水處理廠污染物排放標準》(GB18918-2002)中的一級A標準。主要指標見表2。

4、工藝流程
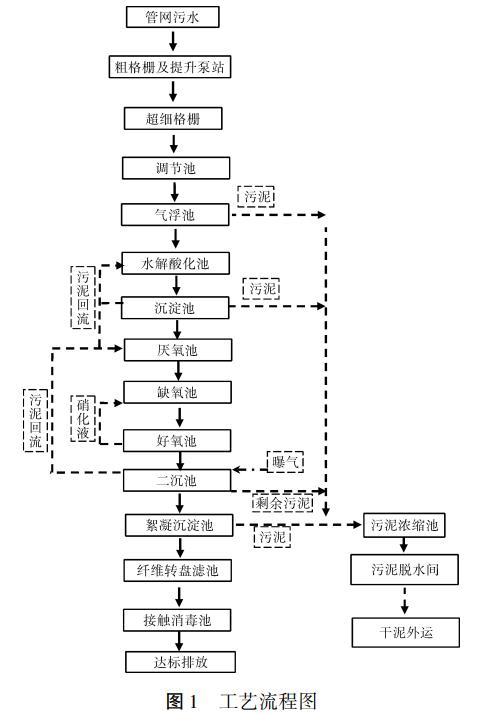
污水經管道進入污水處理廠,首先進入粗格柵渠,經提升泵提升進入預處理系統專家進行預處理,預處理系統專家過濾精度150μm,既可以出去水中的細小的懸浮物,又可以去除水中的無機砂粒和魚粉微粒,本污水處理站水量較小,且多為工業廢水,含砂量較少,因此預處理系統專家后不再設置沉砂池。經過預處理后的污水進入調節池,通過設置在調節池內的提升泵進入氣浮池,去除油類物質和部分SS、有機物,減輕后續生化處理的負荷。氣浮池出水進入水解酸化池,在厭氧環境下,酸化水解預處理后進水中的大分子和難降解有機物,提高污水的可生化性。為提高水解酸化池污泥濃度,保證水解酸化效果,在水解酸化池后增設沉淀池,實現污泥回流。經過水解酸化后的污水進入厭氧池、缺氧池和好氧池,在厭氧池主要完成釋磷過程,在好氧池進行吸磷,達到除磷的目的,在好氧池進行硝化反應,通過好氧池內的回流泵將硝化液回流到缺氧池,進行反硝化,從而達到除氮的目的。好氧池出水進入二沉池,在此污泥進行沉淀,沉淀后上清液排至絮凝沉淀池,在進入絮凝池之前投加PAC和PAM,經過機械絮凝和斜板沉淀池處理后,去除部分COD和SS,后進入纖維轉盤濾池,進一步去除SS,保證出水達標。過濾后的水進入接觸消毒池,通過投加次氯酸鈉進行殺菌消毒,達標后排入臨近河流。
二沉池的一部分污泥通過渠道回流到厭氧池,剩余污泥和氣浮池污泥、絮凝沉淀池的污泥、水解酸化沉淀池后排泥混合后進入污泥濃縮池,濃縮后的污泥進入離心污泥脫水機,脫水后外運填埋處置。
工藝流程圖如圖1所示。

5、主要工藝設計參數
(1)調節池
調節進水水量、水質,提升水位,滿足后續處理工藝的水力要求,停留時間8h,設置潛水攪拌機和潛污泵。
(2)氣浮池
去除來水中的油類物質及懸浮物,降低進入后續生化處理系統的有機物濃度,氣浮池采用溶氣氣浮,表面負荷4.4m3/(m2·h),溶氣水回流比為30%。
(3)水解酸化池
酸化水解污水中的大分子有機物,提高污水的可生化性,同時部分污水可超越直接進入后續處理系統,停留時間12h,設置潛水攪拌機。
(4)沉淀池
實現污泥回流,提高水解酸化池污泥濃度,保證水解酸化效果,采用平流式沉淀池,表面負荷0.88m3/(m2·h),設置桁車式吸泥機。
(5)厭氧池
創造厭氧環境,微生物厭氧釋磷,微生物積蓄好氧吸磷動力,停留時間1.5h,設置潛水攪拌機。
(6)缺氧池
在缺氧環境下進行反硝化反應,去除總氮,同時降解有機物,停留時間10h,設置潛水攪拌機。
(7)好氧池
在好氧條件下,利用微生物降解有機物,硝化菌進行氨氮硝化反應,同時聚磷菌完成磷的過量攝取,停留時間48h,設置膜式曝氣管和硝化液回流泵。
(8)二沉池
進行固液分離,污泥從污泥回流井回流至厭氧池,剩余污泥排入污泥處理區,出水進入絮凝沉淀池,采用平流式沉淀池,表面負荷0.73m3/(m2·h),設置桁車式吸泥機。
(9)絮凝沉淀池
利用絮凝劑的絮凝作用,沉淀去除水中懸浮物。機械絮凝池停留時間16.5min,設置機械絮凝劑攪拌機。斜板沉淀池表面負荷2.91m3/(m2·h)。
(10)纖維轉盤濾池
進一步去除懸浮物,設計濾速6m/s,設置6套纖維盤片,配套反沖洗水泵。
(11)接觸消毒池
通過投加次氯酸鈉進行消毒,停留時間35min。
(12)污泥濃縮池
污泥重力濃縮脫水,固體通量45.0kgDS/(m2·d),設置污泥濃縮機。
(13)污泥脫水間
設置兩臺離心脫水機及配套加藥裝置。
(14)鼓風機房
設置3臺空氣懸浮鼓風機,2用1備。
(15)加藥間
設置1套PAM投加一體化裝置及2套PAC投加系統。
6、運行效果及存在問題分析
該工藝穩定成熟、運行可靠、管理方便,項目于2016年初開始建成運行,經過調試,系統運行效果良好,各項水質穩定達到排放標準。
在運行過程中也發現了一些問題:一是二沉池沉淀效果不理想。設計時二沉池表面負荷取值為0.73m3/(m2·h),在實際運行過程中發現因廢水中有機物含量較高,污泥沉降性能較差,導致在水量較大時二沉池出水含有細小污泥,在以后的類似項目中應適當降低表面負荷取值;二是魚粉加工廢水中NH3-N、TN濃度較高。實際進水水質有時會超過設計進水指標,NH3-N甚至會超過300mg/L,這種情況下出水NH3-N基本能夠穩定達到排水標準,但TN處理難度較大,處理TN藥劑費用較高。在以后的類似項目中應與當地企業及相關部門充分溝通,合理確定設計進水水質,尤其是NH3-N和TN指標;三是魚粉加工廢水臭味較大,尤其是預處理、調節池、水解酸化池等厭氧系統附近,H2S含量較高,長時間運行后池頂的刮渣機、控制柜等水上設備腐蝕嚴重,同時進水中Cl-含量較高,長時間運行后水下設備也腐蝕較快,相較其他市政污水處理廠設備使用壽命偏短。
7、結論
采用“預處理+氣浮池+水解酸化+A2O+絮凝沉淀+纖維轉盤濾池+次氯酸鈉消毒”的組合工藝對魚粉(海產品)加工廢水進行處理效果良好,出水水質較穩定,能夠達到《城鎮污水處理廠污染物排放標準》(GB18918-2002)中的一級A標準。運行管理便捷,具備較好的技術經濟可行性,可為類似工程提供借鑒。(來源:榮成市水務集團有限公司)



