目前,表面活性劑已廣泛應用于工業、農業、醫藥、日用化工等眾多領域,相應的洗滌、化工、紡織等行業廢水中均含有大量表面活性劑.大多數表面活性劑難于生物降解,且其兩親特性使之容易吸附在污泥或沉積物上.隨著污水廠出水排放或污泥處置,表面活性劑進入水環境或土壤環境,污染土壤和水環境,給生態環境和人體健康帶來潛在危害.因此,高效去除廢水中的表面活性劑是非常必要的.
在各類污水處理技術中,高級氧化技術(Advanced oxidation processes,AOPs)能高效處理含表面活性劑廢水,是比較適合的處理技術.常用的AOPs包括紫外(UV)、臭氧(O3)、雙氧水H2O2、UV/H2O2、O3/H2O2、Fenton技術等.其中,光催化氧化技術UV/H2O2利用UV 的活化作用,激發H2O2產生羥基自由基(· OH),可以無選擇性地與有機物反應,其對有機污染物的氧化能力較單獨的UV或H2O2處理有顯著提高.該技術具有反應條件溫和、操作簡單、氧化徹底、無二次污染等諸多優點.實驗室和中試研究均表明,UV/H2O2技術能高效氧化常用的陰離子表面活性劑,如十二烷基苯磺酸鈉、EDTA,但對DOC的去除效率有限,去除率在0~18%之間.目前常用的去污劑種類繁多、成分復雜,對于實際表面活性劑廢水的處理效果需要進行試驗驗證.因此,本研究針對某電廠實用的5種去污劑(主要成分為表面活性劑),考察UV/H2O2技術對其氧化效果,對比初始pH、H2O2投加量、UV輻照時間、表面活性劑初始濃度和種類等因素對氧化效果的影響.因所用5種去污劑的成分未知,故采用DOC值表征其濃度,用DOC的去除率表示UV/H2O2技術處理對去污劑的礦化能力,以期為含表面活性劑廢水的處理提供參考.
2 材料與方法(Materials and methods) 2.1 實驗材料
去污劑共5種,取自某電廠實用去污劑,編號為A~E,各去污劑原液的DOC濃度見表 1.實驗采用自配水,用自來水配制成DOC濃度為15~100 mg · L-1的模擬廢水用于試驗,其中,自來水的DOC濃度為0.1 mg · L-1,可忽略.因所用模擬廢水的DOC濃度大多在50 mg · L-1附近,故將該濃度下各去污劑水溶液pH值列入表 1.對5種去污劑進行了紫外可見(UV-Vis)光譜掃描和紅外光譜分析,在進行UV-Vis掃描時,因去污劑的吸光度超過儀器量程,故用純水稀釋1000倍后測定.H2O2(30%)為分析純.溶液pH值采用1 mol · L-1氫氧化鈉溶液或稀硫酸進行調節.
|
表1 五種去污劑原液的DOC濃度及其水溶液的pH值
2.2 實驗裝置
UV/H2O2反應裝置為UV MAXTM(Trojan提供),反應器主體為2.5 L不銹鋼罐(內徑9 cm,高40 cm),中央放入一支40 W低壓紫外燈(單波長254 nm),紫外燈外罩有石英玻璃套管,罐體的上、下端由管道相連,并用易威奇電磁計量泵(流量為400 mL · min-1)推動罐內水樣流動,以保障反應過程中罐體內水充分混合.將H2O2(投加量在0.3~3.0 mL · L-1)加入自配水中,混合均勻后用泵吸入反應罐中,打開紫外燈,開始反應.反應開始后,每隔10~15 min取水樣一次,用于檢測相應的水質指標.
2.3 分析方法
所有水樣均經過0.45 μm微孔濾膜過濾后進行測試分析,DOC采用日本島津TOC-VWP 總有機碳分析儀測定.UV-vis光譜掃描采用島津UV 3100 型分光光度計,波長設定為200~800 nm.紅外掃描采用傅里葉變換紅外光譜儀spectrum one(PerkinElmer,英國),DTGS檢測器,光譜范圍4000~400 cm-1,分辨率4 cm-1.pH值采用pH計(METTLER TOLEDO®)測定.
2.4 數據分析
礦化率即DOC去除率(η)計算公式為:η=(C0-Ct)/C0×100%,其中,C0、Ct分別為初始及反應t時刻的水樣DOC濃度(mg · L-1).
3 結果與討論(Results and discussion) 3.1 H2O2初始投加量和UV輻照時間對氧化效果的影響
對比了不同H2O2投加量(0、0.3、1、3 mL · L-1)對氧化效果的影響.對于初始DOC濃度為45 mg · L-1的去污劑A,在4種H2O2投加量下,其礦化率隨UV輻照時間的變化情況見圖 1.由圖可知,當H2O2投加量為0和0.3 mL · L-1時,去污劑A的DOC濃度基本無變化,說明僅有UV輻照不足以氧化去除去污劑A;當H2O2投加量為1 mL · L-1和3 mL · L-1時,去污劑A的DOC濃度隨UV輻照時間的延長而逐漸降低,且兩種條件下對DOC的去除情況無顯著差異.UV輻照30 min后,水樣的DOC濃度降低30%,照射70 min后,DOC去除率迅速上升到80%,隨后逐漸上升到90%.反應90 min左右,DOC去除率曲線進入平臺區,之后隨著UV輻照時間延長,DOC去除率變化不明顯.對于其他4種去污劑,在去污劑初始DOC濃度在50 mg · L-1時,H2O2投加量對DOC去除的影響結果見表 2.對于去污劑B和D,隨著H2O2投加量由1 mL · L-1提高到3 mL · L-1,UV輻照90 min時的DOC去除率有所上升;而對于去污劑C和E,情況剛好相反,DOC去除率隨著H2O2投加量(從1 mL · L-1提高到3 mL · L-1)的增加而略有降低.這是因為H2O2不僅可加速 · OH的生成,同時又是 · OH的猝滅劑,過量的H2O2對反應起負作用(趙楊等,2004).由此得出,當去污劑的初始DOC濃度在50 mg · L-1時,H2O2投加量可設定為1 mL · L-1.
| H 2 O 2 投加量/ (mL·L -1 ) |
礦化率 | ||||
| A | B | C | D | E | |
| 0.3 | 0 | 5.2% | 4.7% | 1.3% | 3.6% |
| 1 | 87.2% | 74.8% | 71.7% | 53.9% | 64.0% |
| 3 | 86.3% | 78.8% | 67.1% | 69.4% | 55.2% |
表2 H2O2投加量對5種去污劑礦化率的影響(反應時間90 min)
此外,由圖 1可以清楚地看到,反應時間對礦化效果的影響非常明顯,當反應時間在30 min以內時,對DOC的去除率在5%~40%的范圍.Pagano等(2008)的研究也發現,反應時間為30 min時,即使表面活性劑的去除率已經接近100%,但對COD和DOC的去除率均較低(分別為0~25%和0~18%).該結果與本研究的結果保持一致,進一步說明UV輻照時間是影響礦化率的關鍵因素.胡俊生等(2007)利用UV/H2O2氧化處理100 mg · L-1的十二烷基苯磺酸鈉(SDBS),發現最佳反應時間為1 h,而本研究中最佳反應時間為1.5 h.這些差異可能與表面活性劑的種類及初始濃度有關,同時值得注意的是本文測試是礦化率(即DOC去除率),而前者測定是表面活性劑的去除率.

圖 1 H2O2投加量對去污劑A氧化效果的影響
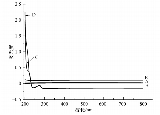
由圖 2可知,去污劑A、B和E在整個波長段均無明顯吸收峰,而去污劑C和D在波長為270 nm處出現微弱的特征吸收峰.由此可知,5種去污劑在波長為254 nm處均無明顯吸收,不會發生直接光解,該推論也通過上述結果得到驗證,即在不投加H2O2或H2O2的投加濃度過低時,UV輻照后去污劑的礦化率不高.因此,本研究條件下,去污劑的氧化降解主要是 · OH的作用.

圖 2 五種去污劑的UV-vis光譜圖
3.2 去污劑初始濃度對氧化效果的影響
由圖 2可知,去污劑C和D在270 nm處有微弱吸收,當其濃度較高時,可能在254 nm處也有一定吸收,影響紫外光的透光率及反應速率.故選取去污劑C為例,考察其初始濃度對氧化效果的影響,結果見圖 3.投加1 mL · L-1的H2O2時(圖中實心符號),對初始DOC濃度為32.7 mg · L-1水樣的礦化效果最好,DOC去除率最大可達70%,而初始DOC濃度最大的79 mg · L-1水樣對應的DOC去除率最低,最大僅達到50%.在H2O2投加量為3 mL · L-1時(圖中空心符號),對較高初始濃度(30.8和98.6 mg · L-1)水樣的DOC去除率在輻照前80 min無顯著差異,之后對高濃度水樣的DOC去除率更高,最大去除率分別為70%和80%,而對低濃度(18.4 mg · L-1)水樣的DOC去除率相對較低,最大去除率為60%.由此可見,去污劑初始濃度對于氧化效果有一定影響,在H2O2投加量一定時,去污劑初始濃度超過一定范圍時,處理效果變差,即一定條件下,去污劑初始濃度對氧化效果有負影響.

圖 3 去污劑C初始濃度對氧化效果的影響(圖中實心點對應H2O2投加量為1 mL · L-1,空心點對應H2O2投加量為3 mL · L-1)
對比去污劑初始DOC濃度相似時,H2O2投加量對去污劑DOC去除的影響.當去污劑初始DOC濃度在10~30 mg · L-1時,H2O2投加量為1 mL · L-1和3 mL · L-1的兩組試驗結果無顯著差異;當去污劑初始濃度在80~90 mg · L-1時,高投量H2O2能顯著促進對DOC的去除.DOC去除率隨H2O2/DOC比值的變化規律見圖 4,可知當H2O2/DOC比值為0.03 mL · mg-1,即每30 mg DOC投加1 mL H2O2時,對應的DOC去除率最高,可達70%~80%.也就是說,H2O2投加量存在最適范圍,當投加量過大或過小時,對氧化過程是負影響.由圖 4也說明,采用H2O2/DOC比值表示投加量是比較合適的參數.

圖 4 DOC去除率隨H2O2/DOC比值的變化規律
3.3 初始pH對氧化效果的影響
溶液初始pH值對光催化氧化過程有較大影響,利用TiO2/UV氧化處理含SDBS廢水時,初始pH值在8~10時的氧化效果最好;而在UV/H2O2系統處理100 mg · L-1 SDBS廢水時,最佳pH值為6.5.本研究以去污劑A為例,考察水樣初始pH值對氧化效果的影響.去污劑A的水溶液成酸性,在DOC濃度為50 mg · L-1時,其pH值為4.4.用NaOH將其初始pH值分別調節至7和10附近,對比3種初始pH值條件對氧化效果的影響.由圖 5可知,3條去除率曲線的趨勢一致,對未調節pH值(pH=4)水樣的氧化效果稍優于pH調節后的水樣(pH值調節至7和10左右),前者的最大去除率達到90%,而后兩者的最大去除率在85%附近.這與Lin等(1999)的研究結果一致,該反應符合一級反應動力學方程,相應的動力學參數k見表 3.由表 3可知,初始pH為4時的降解速率最快,速率常數為-0.025 min-1,而調節pH值后的降解速率無顯著差異.該結果與胡俊生等(2007)的結果有些差異,但Sanz等(2003)利用UV/H2O2系統處理2500 mg · L-1 SDBS時也發現pH值對反應速率的影響不顯著,與本研究的結果一致.反應結束后,溶液的pH值均有所降低(表 3),推測可能是氧化過程中生成小分子酸類物質.如表 1所示,其他4種去污劑水溶液的pH值在中性范圍(6~8),且UV/H2O2對其氧化效果均較好(表 2),故推薦UV/H2O2氧化處理這幾種表面活性劑廢水時無需調節pH值.

圖 5 水樣初始pH值對氧化效果的影響
| 實驗組 | 初始pH | 反應結束pH | 一級反應動力學常數 k /min -1 |
| 1 | 4.4 | 3.0 | -0.025 |
| 2 | 6.9 | 6.2 | -0.018 |
| 3 | 10.4 | 6.7 | -0.018 |
表3 反應前后溶液pH值變化及其反應動力學參數
3.4 去污劑種類的影響
對比UV/H2O2對5種去污劑的氧化效果,分別對比H2O2投加量為1 mL · L-1和3 mL · L-1的兩種操作條件,去污劑水溶液的初始DOC濃度均為50 mg · L-1,結果見圖 6.由圖可知,5種去污劑DOC的去除率曲線趨勢一致,去除率曲線均呈S型.UV/H2O2氧化對5種去污劑DOC的去除率和去除速率有較大差異.在H2O2投加量為1 mL · L-1時,氧化對去污劑A的DOC去除率最高,達到91%,對B和C的DOC去除率在75%左右,而對D和E的最大DOC去除率僅為63%.該反應符合一級反應動力學模型,其對應的反應動力學常數見表 4.由表可知,去污劑A的氧化速率顯著高于其他4種.對比H2O2投加量為3 mL · L-1與1 mL · L-1的氧化效果可知,兩種情況下對去污劑A和E的DOC去除率保持不變,3 mL · L-1 H2O2對去污劑B和D的DOC去除率略有上升,但對去污劑C的DOC去除率有所降低.由此可知,雖然UV/H2O2能夠無選擇性地氧化有機物,但對具有不同分子結構和理化特性的有機物的氧化能力和效果有所不同.針對成分不同的去污劑,需要進行預實驗以確定最佳的工作條件.

圖 6 UV/H2O2對不同去污劑的氧化去除效果
| 去污劑 | H 2 O 2 投加量為1 mL·L -1 | H 2 O 2 投加量為3 mL·L -1 | ||
| 最大DOC去除率 | 反應速率常數/min -1 | 最大DOC去除率 | 反應速率常數/min -1 | |
| A | 91.1% | -0.026 | 91.1% | -0.024 |
| B | 76.5% | -0.015 | 82.2% | -0.017 |
| C | 73.6% | -0.012 | 66.6% | -0.011 |
| D | 63.5% | -0.011 | 80.6% | -0.016 |
| E | 63.3% | -0.011 | 60.5% | -0.009 |
表4 最大DOC去除率和一級反應動力學參數對比
對5種去污劑進行了紅外光譜的定性分析,結果見圖 7.由圖可知,5種去污劑的紅外光譜圖各不相同,但有些去污劑的主要吸收峰有類似的特征.例如,去污劑A~D均在1645 cm-1和1458 cm-1處有較強吸收,此位置可能是COO-的特征吸收,而去污劑E的紅外光譜中無此吸收峰;去污劑B和C分別在3420 cm-1和1060 cm-1處有較強吸收;去污劑D和E在1100 cm-1處有較強吸收.但因去污劑成分復雜,僅從紅外譜圖很難推測去其成分.但結合圖 5,可以推斷去污劑的成分和主要官能團的差異將導致UV/H2O2氧化效果的不同.

圖 7 五種去污劑的紅外光譜圖
具體參見污水寶商城資料或http://www.bnynw.com更多相關技術文檔。4 結論(Conclusions)
本研究以某電廠實用的5種去污劑為研究對象,考察了UV/H2O2對5種去污劑的礦化能力.研究結果表明,所研究5種去污劑在254 nm處均無特征吸收,直接采用UV輻照降解,效果較差.當模擬廢水中去污劑初始DOC濃度為50 mg · L-1時,最佳H2O2投加量為1 mL · L-1,反應時間為90 min時,對5種去污劑的礦化率(DOC去除率)在53%~90%之間,礦化效果因去污劑種類不同而有較大差異.UV輻照時間是影響去污劑礦化效果的重要因素,在UV輻照90 min內,礦化率隨著UV輻照時間的延長而增大,去除率曲線符合一級反應動力學方程.廢水初始pH值對氧化效果的影響不顯著,對廢水氧化處理前可不需要調節pH值;H2O2/DOC比值對氧化效果有影響,對去污劑C的最佳比例為0.03 mL · mg-1.由此可知,UV/H2O2技術能高效礦化廢水中的表面活性劑成分,H2O2 /DOC比值和UV輻照時間是影響去除效率的關鍵因素.


