1 引言
隨著有關全球氣候變化的《巴黎協定》落槌,歐美國家業已制定的面向2030年污水 處理實現“碳中和”運行之目標及路線圖行將付諸實施.污水處理實現“碳中和”運行的狹義概念即能源自給自足.對污水處理廠來說,唾手可得的能源來源便是剩余污泥.為此,老生常談的污泥厭氧消化技術再次受到國際學界與業界的追捧,這也使得剩余污泥這一污水處理的大“負擔”起死回生;作為一種可再生能源的載體,當今國際學界普遍希望獲得污泥增量而非減量.只有這樣,方可能逼近污水處理“碳中和”實現目標.
然而,剩余污泥中穩固的細菌細胞、難降解的木質纖維素類物質、以及本身難降解而又可能阻礙其它有機物降解的腐殖質等限制著有機能源轉化率的提高.盡管目前存在多種針對“細胞破壁”、“木質素/腐殖質破穩”的預處理技術,但這些預處理技術操作較為復雜、且消耗一定的資源與能源,有時還可能導致能源產量入不敷出.
有鑒于此,通過添加外源廢氫或廢鐵屑于厭氧系統內原位產氫(H2)和甲烷(CH4)的生產方式近年來亦有人嘗試.其中,向厭氧消化系統中投加廢鐵屑原位鐵腐蝕析H2似乎具有“以廢促能”的效果.所以,這種以廢促能的方式值得深入研究.廢鐵屑析H2腐蝕可為產甲烷菌提供更多底物——H2、H2可促進有機物水解、H2可結合內源CO2轉化CH4、或鐵可降低系統氧化還原電位(ORP)而改變酸化類型等多種功效.
廢鐵屑為工業廢料,價格低廉、易于運輸,與污泥非直接混合方式投加(如,將廢鐵屑以透水材料包裹后投加)也相對簡單.進言之,鐵腐蝕后產生的Fe2+/Fe3+亦可通過鐵接觸除磷技術(PRICP)高效去除污泥消化液中形成的高濃度磷酸鹽(PO43-):①Fe0吸附PO43-;②利用Fe0在水中腐蝕產生的Fe2+/Fe3+沉淀除磷;③Fe(OH)2沉淀吸附溶液中的磷.其中,Fe0直接吸附PO43-起主導作用,所以,PO43-主要富集在鐵屑表面;通過將包裹廢鐵屑的透水網/包取出、清洗除去鐵屑表面PO43-,并進一步通過外加磁場方式誘導Fe(OH)2、Fe3(PO4)2及FePO4沉淀可以實現磷回收.另一方面,對鐵鹽的去除/回收還可避免鐵在厭氧消化系統中過多積累而導致污泥無機性增強、VSS下降所引起的系統運行惡化情況的發生.除此之外,鐵與污泥中惡臭有機硫化物反應還可去除污泥中的臭味、亦可降低生物氣中H2S的含量.
廢鐵屑強化污泥厭氧消化流程及作用如圖 1所示.本文綜述廢鐵屑在強化厭氧消化產CH4過程中可能引起的系統理化特性變化、生物群落特征及其經濟性等方面內容.

圖 1廢鐵屑強化污泥厭氧消化流程及作用
2 厭氧鐵腐蝕現象
在厭氧環境下,零價鐵(Fe0)在水溶液中作為電子供體會發生析H2腐蝕現象,如式(1)所示,是一種常見的化學過程.然而,這一簡單的化學過程與厭氧消化相結合可能就會出現一些如上所述的協同效應,至少緩釋析出的H2可作為嗜氫產甲烷過程和同型產乙酸過程的底物,直接促進CH4增產.況且,零價鐵給出電子還可能還原污泥中夾雜的一些難降解有機物.
2.1 鐵腐蝕析氫原理
有關鐵腐蝕析氫原理通常可用公式(1)表示.然而,鐵腐蝕析氫是一個復雜的化學過程,需要電子和質子同時存在,其中電子由鐵轉移至質子,生成吸附在鐵表面的氫原子,兩個氫原子再進一步結合成H2,如式(2)所示;其中,因k2»k1,所以形成吸附在鐵表面的氫原子(k1)是鐵腐蝕析氫的限速步驟.其實,在厭氧條件下Fe(OH)2并不穩定;按Shikorr反應,Fe(OH)2在溫度超過80℃時會轉化為Fe3O4,如公式(3)所示;但在室溫條件下,該反應進行緩慢或幾乎不進行,但是在鐵存在的條件下,可催化該反應進行.因此,反應(1)和(3)在厭氧條件下鐵腐蝕析氫過程中通常都是較為明顯的現象.
(1)
(2)
(3)
2.2 析氫速率
鐵腐蝕析氫的速率直接決定了這一現象用于強化污泥厭氧消化的可行性.若析氫速率低,則CH4增產作用不明顯,投入可能多于產出;若析氫速率大,則鐵的生命周期就會相應縮短,造成系統運行不穩定.根據式(1),每mol的Fe可以生成1 mol的H2.如果式(3)所示的反應同時發生,則每mol鐵就會額外生成0.33 mol的H2,但式(3)反應進行的程度不同,析氫速率也就不盡相同.
由于鐵腐蝕析氫速率對其運用于厭氧消化過程至關重要,所以,目前有關鐵腐蝕析氫速率的研究呈上升趨勢,主要是通過測定厭氧系統內氫分壓的變化來確定產氫速率.有研究用零級反應模型分別估算了5種形態鐵的產氫速率,并用實驗數據予以佐證;模型中將鐵腐蝕析出的氫分成進入鐵晶格中和溶入氣相與液相中兩份,產H2計算方法以式(4)為依據.由于鐵晶格中的氫多以氫原子形態存在,不直接參與污泥厭氧消化,所以,僅以Rapp來模擬鐵腐蝕析氫速率.分析結果表明,對于粒徑(d)在22~168μm的鐵屑,其析氫速率在0.2~3.03 mmol·kg-1·d-1范圍,實際H2產量在2.38~3.62 mL·d-1之間.也有人通過實驗測定d=0.5~2.0 mm鐵屑在水中腐蝕析氫的速率為5.8×10-2 mg·kg-1·h-1,即,若要在1 h內產生1 kg H2需要投加1.7×108 kg的鐵屑.在厭氧消化系統中,因酸化微生物存在,生成的有機弱酸會加速鐵腐蝕析氫,所以,鐵量實際需求應少于計算結果.
(4)
式中,Rcorr為校正后的析氫速率(mmol·kg-1·d-1);Rapp為H2溶入液相和氣相中的速率(mmol·kg-1·d-1);ks為西弗茨速率常數(mmol·kg-1·d-1·kPa-0.5);PH2為平均氫分壓(kPa).
雖然理論上每mol的Fe可以生成1~1.33 mol的H2,但在實際厭氧消化系統中,鐵腐蝕析氫速率受水質和鐵的特征影響很大,如,水的pH、氧化還原電位(ORP)、堿度、溶解氧(DO)和鐵的比表面積等.有人分別測定了納米鐵(nZVI)、微米鐵(mZVI)和顆粒鐵(granular ZVI)粒徑、比表面積(BET)與腐蝕速率之間的關系,發現金屬顆粒粒徑越小、金屬比表面積越大,析氫腐蝕越迅速.有人也分析了鐵表面氧化產物對鐵腐蝕析氫速率的影響,發現其作用主要表現在兩個方面:①鐵的氧化產物(如Fe3O4)可以促進電子轉移,進而提高鐵腐蝕析氫速率;②鐵的氧化產物在細胞表面過度積累會造成細胞結構破壞,導致微生物活性下降、處理效果變差.可見,鐵表面適量氧化產物對鐵腐蝕析氫是有利的,但其量要保持在適度范圍之內,否則會影響系統微生物活性,甚至導致運行失敗.
2.3 H2對產CH4的影響
H2作為污泥厭氧消化過程中一種重要的中間產物,對水解酸化過程、同型產乙酸過程和自養產甲烷過程都有著重要影響.H2對厭氧消化系統影響主要體現在3方面:①作為自養產甲烷菌底物直接參與產甲烷過程,通過結合內源CO2而獲得CH4增量;②作為同型產乙酸菌底物,轉換至乙酸后通過異養產甲烷過程間接提高CH4產量;③若系統內氫分壓過高,將會抑制丙酸向乙酸轉化,導致丙酸積累(丙酸不能被產甲烷菌利用),從而抑制甲烷生產.
國內外有關外源廢氫/內源鐵腐蝕析氫對厭氧消化提高甲烷產量的研究近年來出現上升趨勢.針對丹麥政府提出的“至2020年,50%動物糞便都要用于生產可再生能源”的目標,有人著眼于提高生物氣(沼氣)中CH4含量目的,向處理動物糞便厭氧反應器中通入H2,以期產生的生物氣達到天然氣中CH4含量水平,使其直接用于居民日常使用,避免熱電聯產(CHP)利用中的能耗損失現象.實驗表明,當混合氣(V(H2):V(CH4):V(CO2))=60:25:15)以6 L·d-1的速度通入厭氧反應器中時,產生的生物氣中CH4含量在高溫(T=55℃)條件下高達95%,在中溫(T=37℃)時達到90%.此外,嗜氫產甲烷菌在通入混合氣后富集程度顯著提高,其活性從通入氣體之前的10 mL·g-1·h-1分別激增至198 mL·g-1·h-1(中溫)和320 mL·g-1·h-1(高溫).
我們的前期研究顯示,將H2通入間歇市政污泥厭氧消化系統,在污泥負荷0.75 g·L-1·d-1、SRT為24 d時,當反應伊始注入0.33 atm(分壓)外源H2時,CH4增產效果明顯,生物氣中CH4含量達到71%.實驗還表明,外源H2介入不僅僅是將系統中內源CO2還原至CH4,還明顯增強了污泥的降解效率,使VSS降解率提高了10%.
為減輕電子工業中產生CO2造成的溫室效應,有人將電凝氫氟酸工業廢水產生的H2和電子工業的CO2廢氣共同通入厭氧反應器中,使CO2利用率(還原至CH4)達到98%,CH4含量占到生物氣的92%,且CH4含量隨H2通入量增加而增加;當通入比達V(CO2):V(H2)=1:5時CH4含量達最高值95%.
可見,H2在促進CH4增產方面作用顯著.加之,鐵腐蝕析氫具有以廢促能之潛力,使得廢鐵屑在促進污泥厭氧消化增產CH4方面具有相當的應用價值.
3 鐵對ORP的影響(Impacts of iron on ORP)
在厭氧消化產CH4途徑中,嗜氫(自養)與嗜乙酸(異養)產甲烷過程對CH4產量貢獻率大約為1/3和2/3.然而,占主導的嗜乙酸產甲烷菌所能利用的底物類型單一,僅為乙酸和甲醇.所以,厭氧酸化的類型及其產物很大程度上決定著CH4的產量.目前廣為認知的酸化類型有3種:①乙醇型發酵;②丙酸型發酵;③丁酸型發酵.其中,當乙醇和乙酸在總發酵液體產物中含量占80%以上時被定義為乙醇型發酵;當丁酸和乙酸在總發酵液體產物中占比70%~90%時界定為丁酸型發酵;而以丙酸和乙酸為主產物的發酵類型為丙酸型發酵.因丙酸積累會導致厭氧消化系統運行效果低下甚至運行失敗,所以,在厭氧消化過程中應盡量避免丙酸型發酵現象出現.
可見,要保證厭氧消化系統正常運行,維持適當酸化類型則成為維持厭氧消化持續產CH4的重要控制條件.在眾多控制條件中,ORP被廣泛認為是控制酸化類型的重要工況參數.ORP作為一個物理化學參數,決定厭氧系統的氧化還原狀態、指示細胞內生物活動的電子轉移狀況,并通過影響細胞內NADH/NAD+值來影響生物反應進行的方向.另一方面,乙醇型發酵和丁酸型發酵主要參與菌群都是嚴格的厭氧菌,這一點與丙酸型發酵不同(主要菌種為兼性厭氧菌).顯然,不同ORP條件下處于競爭優勢的微生物種群不同,也就造成不同ORP下存在著不同酸化類型.有人通過改變ORP來實驗分析發酵產物變化規律;隨ORP降低,丙酸型發酵首先出現(>-278 mV);乙醇型發酵和丁酸型發酵則偏好更低的ORP,在ORP<-300 mV時表現出主導優勢(pH<4.5時為乙醇型發酵,pH>6時丁酸型發酵占主導).更有研究表明,產甲烷菌最適的ORP在-350 mV附近.由此可見,較低的ORP不僅有利于控制產甲烷所希望的酸化類型,而且對維持高的產甲烷菌活性也是至關重要.
零價鐵作為一種還原劑,可以有效消耗厭氧系統內的氧化劑,從而維持厭氧系統較低的ORP.目前,有關通過零價鐵降低ORP來影響酸化類型途徑的學術觀點主要有兩種:①從丙酸生成和轉化來看,一種認為零價鐵介入促進了丙酸向乙酸轉化,進而減少丙酸積累;②零價鐵通過降低ORP抑制了丙酸生成,進而從根本上杜絕了丙酸型發酵.有人分別向厭氧消化系統中加入零價納米鐵(NZVI)、還原性零價鐵(RZVI)和工業廢鐵屑(IZVI),使系統ORP從-124 mV分別降至-240~-480 mV、-237~-363 mV和-184~-260 mV.也有人通過投加鐵粉來優化厭氧廢水水解酸化類型,以增加乙酸和丁酸的產量、減少了丙酸積累,為后續產CH4過程提供充足的底物.還有人經過對20株產氫發酵細菌靜態發酵實驗發現,加入鐵的培養液使ORP得以降低,細菌發酵由原來的丁酸型向乙醇型轉化,且Fe0的作用優于Fe2+.有關ORP與產CH4的關系還存在諸多證據,如,有人在中溫和高溫條件下對纖維素和玉米秸稈進行厭氧發酵試驗中發現,CH4產量確實隨ORP降低而明顯升高(Katarzyna et al.,2013).
綜上所述,廢鐵屑對強化厭氧消化產CH4具有相當的推動作用,其作用原理與可能的路徑總結于圖 2.一句話,鐵介入厭氧系統,一方面可通過腐蝕析氫作用直接參與CH4生產;另一面亦可借ORP降低來改變發酵類型或優化甲烷菌生存環境提高CH4產量.

圖 2廢鐵屑強化厭氧消化產CH4的原理與可能的路徑
4 鐵對厭氧微生物的影響
厭氧消化系統組成復雜,微生物種群繁多,但根據作用機理不同,厭氧消化過程涉及的微生物大體上可分為兩大類,即,酸化細菌和產甲烷菌,如圖 3所示.酸化細菌可以將復雜的有機化合物水解、發酵,形成有機酸和醇類,并進一步將這些中間產物轉化為H2、CO2和乙酸;產甲烷菌則將酸化階段產物——乙酸、H2及CO2轉化為CH4.

圖 3厭氧消化系統中兩大類微生物作用機理
4.1 厭氧消化系統中的微生物
CH4產量高低取決于發酵產物的種類和數量,而發酵產物種類與系統中微生物群落結構密不可分,微生物群落結構變化會引起系統酸化類型改變.表 1列出了不同酸化類型所對應的主要酸化細菌類別.
表 1 酸化類型對應的主要微生物類別

4.2 厭氧消化微生物的鐵需求
產甲烷菌物質代謝和能量代謝都需要有微量元素的參與.鐵(Fe)作為產甲烷菌所必須的微量元素,可以參與產甲烷菌體內細胞色素、細胞氧化酶等合成,Fe還是胞內氧化還原反應的電子載體.因此,Fe對厭氧消化微生物的作用主要體現在兩個方面:①Fe作為微生物生長所必須的微量元素,構成了微生物細胞的重要成分;②Fe可以參與微生物細胞代謝過程的電子轉移或作為胞外電子供體參與微生物新陳代謝過程.
產甲烷階段是厭氧發酵過程的最后環節,產甲烷菌代謝強弱決定了產甲烷的效率.研究表明,一些金屬元素可以刺激產甲烷菌活性,有助于CH4產量提高.表 2總結了不同產甲烷菌對金屬元素的需求以及金屬元素對產甲烷菌產生促進作用的閾值.表 2顯示,存在多種金屬元素可以促進產甲烷菌的生長,產甲烷菌對不同金屬的需求量變化范圍很大,且所有產甲烷菌均含Fe、Co、Ni這3種元素.在所有金屬元素中,產甲烷菌對Fe的需求顯著高于其他金屬離子,所以,向厭氧消化系統中投加Fe來強化CH4生產應該不會對產甲烷菌生長、繁殖造成抑制作用.有人測定了10種不同產甲烷菌細胞中金屬含量;實驗發現,即使是同一種屬、利用相同底物的不同產甲烷菌,其胞內金屬元素含量也存在明顯差異;產甲烷菌細胞中微量元素含量的順序依次為:Fe>Zn≥Ni>Co=Mo>Cu,且Fe因具還原性、是所有厭氧微生物所必需,其含量在細胞中高達0.7~2.8 g·kg-1,如表 3所示.除此之外,以Fe、Co、Ni為順序,只有當前一微量元素充足時,后面一個元素方能對甲烷菌生長起到激活作.可見,Fe在產甲烷菌生長中不容忽視的作用.
表 2 不同種產甲烷菌對金屬元素的響應程度

表 3 產甲烷菌細胞中元素組成

基于Fe元素在厭氧微生物細胞中的重要地位,向系統中添加鐵無疑會對微生物細胞生長繁殖、乃至活性增強產生重要作用.通過向酒糟廢液厭氧消化系統中加入鐵等金屬離子,系統中VFAs積累顯著減少(乙酸積累減少86%,丙酸積累減少95%,戊酸幾乎100%被耗盡);使得產甲烷菌活性較未投加金屬離子時的情況明顯提高;導致COD去除率提高32%,生物氣增產38%,CH4生成量從0.085 g·g-1·d-1增加至0.32 g·g-1·d-1,為沒有外加Fe情況時的3.8倍.究其原因,主要是因為外加Fe等微量元素后減少了細胞生長繁殖中的阻礙,增強了細菌的新陳代謝能力,使得嗜氫產甲烷菌、同型產乙酸菌和嗜乙酸產甲烷菌活性均獲得提高.
4.3 鐵對硫酸鹽還原菌(SRB)的抑制作用
對于生活污水而言,剩余污泥中硫(S)元素存在為厭氧消化系統中硫酸鹽還原菌(SRB)創造了生存條件.對于制藥、化工以及造紙等工業廢水而言,其中所含硫酸鹽(SO42-)濃度之高更使得SO42-還原過程不可避免地存在于厭氧消化過程之中.因SRB與產甲烷菌(MPB)生存環境非常類似,且二者均以水解酸化后形成的有機酸或氫氣作為底物,所以,SRB與MPB之間對相同底物(COD/H2)競爭一直是有機廢水/剩余污泥能源化的重要阻礙.加之,SRB對H2的親和系數(Ks)低于MPB,這使得嗜氫產甲烷菌在與SRB競爭H2底物的過程中處于明顯劣勢.進言之,硫酸鹽生物還原過程形成的H2S會顯著抑制MPB的活性,有可能降低厭氧消化系統運行的穩定性,甚至導致整個厭氧系統運行失敗.
將Fe引入厭氧消化系統可望有效解決上述問題.一方面,Fe作為電子供體可為SRB代謝過程提供電子,減少其與MPB對底物的競爭.另一方面,去極化的Fe可與硫離子生成FeS沉淀,從而減少硫離子對MPB的毒害作用,如式(5)、(6)所示.有人在厭氧顆粒污泥反應器中加入Fe;實驗發現,Fe加入增加了丙酸的降解能力和MPB的數量,同時減輕了S2-對產乙酸菌、MPB和SRB的抑制現象,使得反應體系中CH4產量得以提高;建立的厭氧消化數學模型亦佐證了上述結果.此外,在含有0.6 mmol·L-1 SO42-的污泥中加入0.5 mmol·L-1 Fe,這使得乙酸轉化為CH4的速率和嗜乙酸產甲烷菌的數量都提高了50%.在有機物和SO42-共存的厭氧消化系統中加入鐵屑,發現CH4產量和產率都較沒有加入鐵屑的系統要高,一方面是因為Fe作為電子供體促進了產CH4過程;另一方面,生成的H2S與Fe反應生成FeS,減少了H2S對MPB的抑制作用.
(5)
(6)
5 鐵促酶活作用
作為微生物參與的酶促反應過程,厭氧消化系統運行效果的好壞與系統內參與反應的關鍵酶之活性密不可分.研究表明,厭氧消化過程中有將近30%的酶含有金屬元素,其中,Fe能合成和激活產酸和產甲烷階段多種酶.此外,產甲烷菌體內含有很多適應低ORP的酶,ORP過高會使這些酶氧化失活.可見,無論從金屬刺激酶活角度還是Fe降低ORP的角度,廢鐵屑在促進厭氧消化、甲烷增產方面均可以發揮相當的作用.
5.1 鐵與酸化階段之酶
酸化階段作為產甲烷階段的預備階段,其產物的種類和數量從根本上決定了CH4產量的多寡.在乙酸合成過程中,乙酸激酶(AK)和磷酸轉乙酰酶(PTA)是此過程的關鍵酶;對丁酸合成而言,丁酸激酶(BK)和磷酸轉丁酰酶(PTB)則尤為重要.因為丙酸轉乙酸過程是熱力學非自發過程,所以,丙酸轉乙酸過程酶的活性高低也會對CH4生成產生重要影響.因丙酸轉乙酸過程也包括PTA和AK的參與,所以,本文以丙酸轉乙酸過程說明Fe對酸化階段酶的重要作用,涉及的主要過程和相應酶如圖 4所示.
圖 4丙酸轉化乙酸過程及相應酶
丙酮酸鐵氧化還原酶(POR)是參與有機酸合成的一種重要酶,其結構中含有3個[4Fe-4S]簇,這就為通過投加Fe來提高POR活性奠定結構元素基礎.此外,脫氫酶、PTA、AK的活性均受系統內Fe含量影響.有人向污水厭氧消化系統中加入了5 g·L-1 Fe粉末以此來考察零價Fe對酸化過程中相關酶活的影響;研究發現,無論系統中是否添加了產甲烷菌抑制劑(BES),加入鐵粉的反應器中各酸化酶活性均高于沒有加鐵的反應器;特別是當加入了BES后各酶活性增加更為明顯,與未加鐵的反應器相比,含鐵反應器的POR活性增加為原來的34倍,PTA和AK的活性分別增至原來的10倍和兩倍;緩解了丙酸積累,增加了系統內乙酸含量,促進了丙酸向乙酸的轉化,為產甲烷菌提供了更加充足的底物.再次實驗發現,向剩余污泥厭氧消化系統中加入20 g·L-1廢鐵屑時,系統中蛋白酶、纖維素酶的活性分別增加了92.0%和91.7%,使水解效率大幅提高;此外,AK、PTA、BK、PTB等產酸酶的活性也提高了57%~83%,使VFAs產量增加了37.3%,發酵20 d后使CH4增產43.5%.這些實驗表明,廢鐵屑可提高水解酸化酶活性,進而強化厭氧消化過程,實現CH4增產目的.
5.2 鐵與產甲烷階段之酶
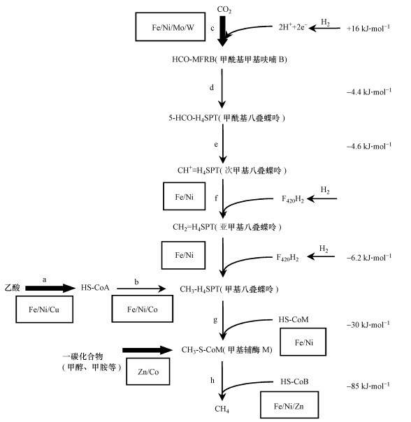
如圖 5所示,目前發現的CH4生物合成途徑有3種:①以乙酸為基質合成CH4,即嗜乙酸產甲烷過程;②以H2與CO2為基質合成CH4,即嗜氫產甲烷過程;③以甲基化合物為基質合成CH4,如,從甲醇、甲基胺、甲基硫等合成CH4.3種途徑最終都形成甲基輔酶,甲基輔酶繼而在甲基輔酶還原酶催化作用下最終合成CH4.在這3種途徑之中,以乙酸為底物的CH4生物合成在自然界中占70%左右,以H2與CO2為底物合成的CH4約占總量的30%,而以甲基化合物為底物合成的CH4量甚少,可忽略不計.

圖 5生物合成CH4的3種途徑(a.乙酰輔酶A合成酶;b.一氧化碳脫氫酶(CODH);c.甲酰基甲基呋喃脫氫酶(Fmd);d.甲基轉移酶;e.次甲基八疊蝶呤環化水解酶;f.F420還原氫化酶;g.CoM甲基轉移酶;h.次甲基八疊蝶呤甲基輔酶M還原酶)
圖 5顯示,在CH4合成途徑中涉及多種酶、輔酶,其中,含鐵的酶無論是在嗜氫產甲烷過程中還是在嗜乙酸產甲烷過程中均占有相當比重;參與嗜氫產甲烷過程的含鐵酶包括甲酰基甲基呋喃脫氫酶(Fmd)、F420還原氫化酶、HS-CoM和HS-CoB;參與嗜乙酸產甲烷過程的含鐵酶包括乙酰輔酶A合成酶、一氧化碳脫氫酶(CODH)和HS-CoM以及HS-CoB.其中,CODH是以乙酸催化CH4生成的一種關鍵酶,其活性提高有利于提高產甲烷菌對乙酸的利用率.此外,CODH能夠催化同型產乙酸菌利用H2和CO2合成乙酸的反應,可見CODH在異養產甲烷過程中的重要地位.這些金屬酶通常以輔酶或輔酶因子的形式存在,因此決定了產甲烷菌對金屬元素的依賴性.
從以上分析可知,無論是在水解酸化還是產甲烷階段,金屬Fe在提高關鍵酶活性方面均能發揮不可替代的作用.通過向厭氧消化系統中投加Fe,可以增強酶活性,促進CH4產量和產率的雙雙提高,可進一步發掘剩余污泥的厭氧消化產CH4潛力,為剩余污泥能源化助上一臂之力.
6 廢鐵屑強化CH4增產經濟性分析
許多實驗研究已經證明,向剩余污泥厭氧消化系統投加Fe可以顯著獲得CH4增產.然而,若要將該項技術用于工程實踐,仍需論證其經濟上的合理性.因生命周期評估(LCA)是國際上普遍接受的一種評價體系,所以,本綜述采用LCA方法來評價基于廢鐵屑的污泥厭氧消化技術對環境的影響及經濟合理性.
以日處理水量30×104 m3·d-1的污水處理廠為例進行計算,向厭氧消化池投加Fe獲得的CH4增量可以參照之前實驗予以放大.根據該實驗結果,向污泥厭氧消化系統中投加33 g·L-1廢鐵屑(8 mm×3 mm×0.5 mm)可獲得25.3%的CH4增量,據此可計算舉例污水處理LCA評估參數,結果示于表 4.根據LCA評估結果,基于廢鐵屑強化污泥厭氧消化技術,并將產生的生物氣用于熱電聯產(CHP),與沒有投加廢鐵屑的厭氧消化技術相比,每年可節省資金184×104元·a-1,并減少CO2排量1 660 t·a-1,說明基于廢鐵屑的污泥厭氧消化技術完全可以實現環境、經濟和社會效益三統一,使污水處理走上可持續發展之路.具體參見污水寶商城資料或http://www.bnynw.com更多相關技術文檔。
表 4 廢鐵屑強化污泥厭氧消化技術經濟性評估

7 結語
有關全球氣候變化的《巴黎協定》落槌,預示著污水處理追求碳中和運行時代已經來臨.然而,剩余污泥(特別是二沉污泥)厭氧消化能源轉化率較低一直是污水處理廠走上碳中和運行的瓶頸.有鑒于此,近年來有研究嘗試通過添加外源廢氫(H2)或廢鐵屑于厭氧系統內原位產氫(H2)并強化甲烷(CH4)增產方式來找到強化污泥能源轉化效率的又一突破口.
為此,本綜述從鐵腐蝕析氫現象入手,在描述鐵腐蝕析氫原理、析出H2對產CH4過程影響的基礎上,對鐵在厭氧系統ORP減少方面的作用、對厭氧微生物生理、生化特性的影響、對涉及微生物酶活的影響等進行了全面的介紹.最后,還通過生命周期評估(LCA)評價了基于廢鐵屑的污泥厭氧消化技術對環境的影響及經濟合理性.
向厭氧消化系統中投加廢鐵屑,其腐蝕析出的氫可持續為嗜氫產甲烷菌和同型產乙酸菌/嗜乙酸產甲烷菌提供底物,直接(自養)或間接(異養)促進CH4增產.與此同時,鐵作為還原性物質在厭氧系統中還可以降低反應系統ORP,引起酸化類型轉變、減少丙酸積累,生成更多產甲烷菌能夠直接利用的乙酸,進一步促進CH4增產.著眼于微生物角度,廢鐵屑介入厭氧消化系統一方面可以增加構成微生物細胞必備的微量元素,促進厭氧微生物細胞的生長和繁殖;另一方面還可促進厭氧微生物細胞內酶的合成并激活酶.
生命周期評估(LCA)顯示,廢鐵屑強化厭氧消化系統CH4增產技術不僅經濟上合理,而且因獲得的CH4增量可使外源能源消耗產生的CO2排放量大為降低.



