二硫代氨基甲酸鹽(DTC)是通過有機胺(伯胺或仲胺) 與二硫化碳在堿性條件下生成的一類化合物。美國最早開始將二硫代氨基甲酸鹽用于油田污水凈化研究。D. K. Durhan 等開發出了著名的 Magnaclear W213 凈水劑〔1〕,將其用于油田實際生產中。二硫代氨基甲酸鹽類絮凝劑具有用量少、絮凝效果好等優點,且具有緩蝕、殺菌、阻垢等多種功能,是一種一劑多用的水處理劑。我國有學者在二硫代氨基甲酸鹽類水處理劑的開發和應用方面做了一些研究,葛際江等〔2, 3, 4〕合成了相應的DTC 藥劑,將其用于處理油田污水,都獲得了良好的除油效果。筆者用新型高分子二硫代氨基甲酸鹽CJ-1 處理模擬油田污水,考察了絮凝條件與其絮凝作用效果的關系,獲得了CJ-1 最適宜的絮凝條件,實驗結果表明,CJ-1 是一種有開發應用前景的油田污水處理劑。
1 實驗部分
1.1 實驗方法
(1)CJ-1 絮凝劑的合成。將XJ(一種含氨基的高分子化合物)配制成質量分數1%的溶液,置于配有冷凝管和滴液漏斗的三口燒瓶中,冰水浴冷卻,加入適量的氫氧化鈉固體攪拌至溶解,然后緩慢滴加與XJ 等物質的量的二硫化碳,控制反應體系溫度在10 ℃以內。二硫化碳滴加完畢后將反應體系升溫至室溫,繼續攪拌反應2 h,即得固含量為100 mg/L 的CJ-1 絮凝劑。
(2)模擬油田污水的配制。依次將1 g 原油、 100 mL 乳化劑(OP-10,200 mg/L)和0.5 g 膨潤土加入到1 000 mL 水中,40 ℃下恒溫高速攪拌15 min,靜止24 h 后除去上層浮油和沉淀在下層的固體顆粒,即得模擬油田污水水樣,測得其含油質量濃度為 350.0 mg/L,懸浮物為55.1 mg/L,CODCr 為802 mg/L、濁度為155 NTU,pH 為6~7。
(3)絮凝沉淀實驗。1)固定模擬含油污水用量 50 mL、溫度40 ℃( 模擬現場水溫),兩段攪拌速度和時間分別為60~80 r/min、1 min 和40 r/min、 5 min,靜置時間30 min。考察某一因素時,固定其他因素不變,分別考察Fe2+用量、CJ-1 絮凝劑用量、水體pH 對CJ-1 絮凝劑除油效果的影響。2)取模擬含油污水50 mL、控制水體pH 為7,固定Fe2+用量5 mg/L、CJ-1 絮凝劑用量20 mg/L。考察某一因素時,固定其他因素不變,分別考察水體溫度、攪拌速度、攪拌時間、無機鹽加量對CJ-1 絮凝劑除油效果的影響。
(4)水質指標測定方法。含油量根據《碎屑巖油藏注水水質推薦標準及分析方法》(SY/T 5329— 1994)測定〔5〕;濁度按照濁度測定法,用濁度儀測定;鐵離子含量參考《中華人民共和國環境保護行業標準》(HJ/T 345―2007)采用鄰菲啰啉分光光度法〔6〕測定;CODCr 和懸浮物參照國家環境保護總局的《水和廢水監測分析方法》〔7〕測定。
1.2 實驗儀器及試劑材料
主要實驗儀器:DF-1 型磁力攪拌器、BS210S 型電子天平、722S 型分光光度計、TN100 型濁度計等。主要試劑材料:原油(取自江漢油田八面河油田)、石油醚、無水硫酸鈉、鹽酸羥胺、鹽酸、鄰菲啰啉、乙酸鈉、重絡酸鉀、硫酸亞鐵、三氯化鐵等,試劑均為分析純。
2 結果與討論
2.1 CJ-1 用量與除油效果
按照1.1 所述方法考察不同CJ-1 用量的除油效果,實驗結果如圖 1 所示。
圖 1 CJ-1 用量與除油性能關系
從圖 1 可以看出,當CJ-1 用量少時,由于無法形成足夠的絮體量,其網捕卷掃能力不強,除油效果不好;隨著CJ-1 用量的增加,處理后污水的含油量逐漸減少,當其用量達到20 mg/L 時,污水含油質量濃度降到3.2 mg/L,繼續增加CJ-1 用量,污水含油量不再有顯著變化。因此本實驗體系CJ-1 的最佳用量確定為20 mg/L。
2.2 Fe2+用量對CJ-1 絮凝作用的影響
按照1.1 所述方法考察不同Fe2+用量的CJ-1 除油效果,實驗結果如圖 2 所示。
圖 2 Fe2+用量對CJ-1 絮凝作用的影響
從圖 2 可以看出,水體中Fe2+含量對CJ-1 的絮凝作用影響較大。隨著Fe2+含量的增加,其絮凝效果增強,水體的含油量隨之顯著下降,當Fe2+質量濃度超過5 mg/L 后,水體中剩余油質量濃度降至3.2 mg/L,表明Fe2+在5 mg/L 時已能同CJ-1 螯合配位形成足量的立體網狀絮體除去水體中的油。而水體中Fe2+ 含量低時除油效果不好,可能是因為Fe2+量少時不足以與CJ-1 充分反應形成足夠量的網狀絮體所致。但過量的Fe2+因處于簡單離子狀態,對絮凝作用貢獻不大。
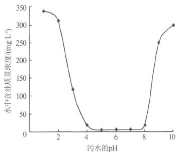
2.3 水體pH 對CJ-1 絮凝效果的影響
按照1.1 所述方法考察不同pH 下CJ-1 的絮凝效果,實驗結果如圖 3 所示。
圖 3 pH 對CJ-1 絮凝效果的影響
由圖 3 可以看出,水體pH 對CJ-1 絮凝效果影響顯著,存在適宜的絮凝pH 范圍,即pH 為4~8,當 pH 在5 ~7 范圍時絮凝效果最好,除油率達到 99.1%。當pH<4,或pH>8 時,除油率均下降。究其原因可能是,pH 近中性的水體有利于CJ-1 和Fe2+螯合反應,形成帶正電荷的大分子網狀結構絮體,通過靜電作用與表面帶負電荷的油珠發生作用而聚結,加上大分子鏈的卷掃作用,使其除油和懸浮物的能力得到加強,絮體包裹油珠沉入水體下層,實現油水分離,獲得優良除油效果。當pH 過低時,水體中過多的H+會吸附在油珠表面,使油珠表面反而帶上正電荷,表面帶正電荷的油珠與CJ-1 和Fe2+螯合反應形成的帶正電荷的大分子網狀結構絮體之間的靜電排斥,產生聚結阻礙,僅靠大分子鏈的卷掃作用除油和懸浮物的能力必然下降,因此除油效果不好。當 pH 過高時,Fe2+容易被氧化為Fe3+,同時也促成鐵離子水解,CJ-1 便不能與Fe2+形成有效組合,也就不能起到絮凝作用〔8, 9, 10〕。因此,CJ-1 與Fe2+組合適合近中性含油污水處理,現場油田污水pH 一般處中性范圍,因此適合于現場應用。
2.4 攪拌速度對CJ-1 絮凝效果的影響
有研究表明,絮凝過程中的攪拌速度對絮凝體的形成有較大影響,被處理水樣在投加絮凝劑后,絮凝過程可分為混合和反應聚結兩個階段〔11〕。混合階段要求使藥劑迅速均勻地擴散到被處理水體中,增加水體中微粒與絮凝劑之間的碰撞機會,使膠體脫穩并借顆粒的布朗運動和水流來進行凝聚。反應聚結階段要求使絮凝劑的微粒能通過絮凝形成大的具有良好沉淀性能的絮凝體,對油珠和懸浮物進行網捕卷掃作用,使絮體下沉,從而使油水分離達到除油凈水的目的,此階段攪拌速度對絮凝劑的絮凝效果起較為關鍵的作用。實驗固定混合階段攪拌速度60~80 r/min、攪拌時間1 min 和聚結反應階段攪拌時間5 min,考察其攪拌速度與CJ-1 絮凝效果的關系。
按照1.1 所述方法考察聚結反應階段不同攪拌速度的CJ-1 絮凝劑除油效果。實驗結果表明,聚結反應階段最適宜的攪拌速度為40 r/min。
2.5 攪拌時間對CJ-1 絮凝效果的影響
按照1.1 所述方法考察不同攪拌時間下CJ-1 絮凝劑的除油效果。實驗結果表明,攪拌時間在4~ 6 min 范圍能保證絮凝劑有良好的除油效果,當攪拌時間為5 min 時其除油效果最好,絮凝處理后水體含油質量濃度降至3.2 mg/L。
2.6 水體溫度對CJ-1 絮凝效果的影響
按照1.1 所述方法考察不同水體溫度時CJ-1 絮凝劑的除油效果。實驗結果表明,水體溫度對CJ-1 的除油效果有較大影響,適宜的水體溫度在30~ 40 ℃范圍。30 ℃前升高被處理水體的溫度CJ-1 除油率隨之增加,40 ℃后繼續升高被處理水體的溫度 CJ-1 的除油效果反而下降。當水體溫度超過45 ℃ 后,可能導致體系中絮凝物解離加強,從而使絮凝效果下降,除油率降低。因此,控制水體溫度為30~ 40 ℃為宜。
2.7 無機鹽對CJ-1 絮凝效果的影響
油田污水中一般含有大量的Na+、Ca2+、Mg2+、 Cl-、HCO3-等無機鹽離子,礦化度高達數千甚至幾萬 mg/L。為了探明油田污水中常見無機鹽離子對CJ-1 絮凝性能的影響,實驗按照1.1 所述方法考察了 CJ-1 對添加有不同無機鹽的模擬油田污水的除油效果,實驗結果見表 1。

由表 1 可以看出,Na+、Ca2+、Mg2+、Cl-在相應濃度下對CJ-1 的除油效果無影響或不顯著;HCO3-對 CJ-1 的絮凝效果產生負面影響,除油效果下降;同時添加NaHCO3 和CaCl2 對CJ-1 的絮凝效果幾乎無影響,說明Ca2+可以抑制HCO3-對CJ-1 絮凝效果的負面影響; 同時添加NaHCO3 和MgCl2 與單獨添加NaHCO3 時CJ-1 有相近的除油效果,說明Mg2+不具有類似于Ca2+對HCO3-的抑制作用。
2.8 CJ-1 處理模擬油田污水相關指標分析
實驗取50 mL 模擬油田污水,水浴控溫,保持水樣溫度在40 ℃( 模擬現場水溫),Fe2+投加量為5 mg/L,以60~80 r/min 攪拌速度攪拌1 min,再以40 r/min 攪拌速度攪拌5 min,靜置30 min,測定水體絮凝處理前后的CODCr、懸浮物含量、濁度、鐵離子含量。CJ-1 投加量為20 mg/L,水體處理前后含油量由前述實驗得出,實驗結果見表 2。

由表 2 可以看出,實驗條件下CJ-1 處理模擬油田污水,可使含油質量濃度降至3.2 mg/L、除油率為99.1%,固體懸浮物下降至0.254 mg/L、去除率為 99.5%,CODCr 下降至100 mg/L、去除率為87.5%,濁度降至0.8 NTU、去除率為99.5%,殘留鐵離子質量濃度0.075 mg/L。具體參見http://www.bnynw.com更多相關技術文檔。
3 結論
(1)CJ-1 處理實驗條件下模擬油田污水的最適宜的絮凝條件是,保持絮凝體系的溫度為40 ℃、 pH=4~8、攪拌速度40 r/min、攪拌時間5 min、沉降時間30 min、CJ-1 的投加量為20 mg/L、Fe2+投加量為5 mg/L。此條件下,含油350 mg/L、懸浮物55.1 mg/L、 CODCr 為802 mg/L、濁度為155 NTU 的模擬油田污水經CJ-1 絮凝處理后,其含油、懸浮物、CODCr、濁度分別降至3.2 mg/L、0.254 mg/L、100 mg/L、0.8 NTU,相應去除率分別為99.1%、99.5%、87.5%和99.5%,殘留鐵離子質量濃度為0.075 mg/L。
(2)水體中Na+、Ca2+、Mg2+、Cl-在實驗濃度下對 CJ-1 的絮凝效果無影響或不顯著;HCO3-對CJ-1 的絮凝效果產生負面影響,導致除油效果下降;同時添加NaHCO3 和CaCl2 對CJ-1 的絮凝效果幾乎無影響,說明Ca2+可以抑制HCO3-對CJ-1 絮凝效果的負面影響,而Mg2+則不具有類似于Ca2+對HCO3-的抑制作用。


