公布日:2024.01.12
申請日:2023.12.08
分類號:C02F1/32(2023.01)I;B08B3/02(2006.01)I
摘要
本發明公開了一種光催化污水處理裝置,包括污水處理箱、底座、封箱蓋、污水進水管和固定環形架,所述污水處理箱的底部固定安裝有底座,所述污水處理箱的頂部連接有封箱蓋,所述污水處理箱的外側連通用污水進水管,所述污水處理箱的內側固定連接有與其內部直徑相匹配的固定環形架,所述固定環形架的內部的一側連接有連接橫桿,所述連接橫桿的內部開設有滑動槽,所述滑動槽的頂部連接有與其滑動連接的調節機構,通過伸縮桿的持續下壓,圓柱凸輪外側的螺紋槽口沿著滑槽動力塊向下運行,將底部的光觸媒泡沫鋁網在污水中進行轉動,可將水攪動使得水在其內部進行流動,并由水箱噴灑模塊對光觸媒泡沫鋁網的兩面皆可進行沖刷清理。

權利要求書
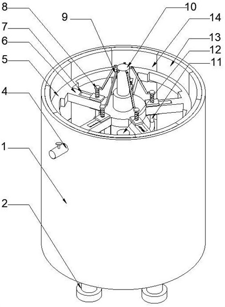
1.一種光催化污水處理裝置,包括污水處理箱(1)、底座(2)、封箱蓋(3)、污水進水管(4)和固定環形架(5),其特征在于:所述污水處理箱(1)的底部固定安裝有底座(2),所述污水處理箱(1)的頂部連接有封箱蓋(3),所述污水處理箱(1)的外側連通有污水進水管(4),所述污水處理箱(1)的內側固定連接有與其內部直徑相匹配的固定環形架(5);所述固定環形架(5)的內部的一側連接有連接橫桿(6),所述連接橫桿(6)的內部開設有滑動槽(7),所述滑動槽(7)頂部連接有與其滑動連接的調節機構(8),所述調節機構(8)的底部螺紋連接有光觸媒安裝機構(11),所述調節機構(8)的一側固定連接有連桿機構(9),所述連桿機構(9)頂部的一側連接有伸縮桿(10),所述污水處理箱(1)底部的中心位置處設有紫外線燈管(12);所述調節機構(8)包括滑動塊(801)、第一通孔(802)、滑槽動力塊(803)、圓柱凸輪桿(804)、限位塊(805)、第二通孔(806)、彈簧(807)推動塊(808)和固定機構(809),所述滑動塊(801)的頂部開設有第一通孔(802),所述第一通孔(802)的內側連接有滑槽動力塊(803),所述第一通孔(802)的內部設有與其相匹配的圓柱凸輪桿(804),所述圓柱凸輪桿(804)的頂部與底部皆連接有限位塊(805),所述滑動塊(801)的一側開設有第二通孔(806),所述第二通孔(806)的一側連接有彈簧(807),所述彈簧(807)的一側固定連接有推動塊(808),所述推動塊(808)一側滑動連接有固定機構(809);所述固定機構(809)包括第三通孔(810)、限位桿(811)、觸碰式感應器(812)、感應接收器(813)、推動氣桿(814)、連動桿(815)、限位勾(816)和轉動桿(817),所述第三通孔(810)的內腔中固定安裝有限位桿(811),所述限位桿(811)的一側安裝有觸碰式感應器(812),所述第三通孔(810)的底部固定安裝有感應接收器(813),所述感應接收器(813)的兩側連接有推動氣桿(814),所述推動氣桿(814)的頂部固定連接有連動桿(815),所述連動桿(815)的頂部連接有限位勾(816),所述連動桿(815)的中間處安裝有轉動桿(817);所述污水處理箱(1)的內側壁上設有多組水箱噴灑模塊(14),所述水箱噴灑模塊(14)的兩側皆連接有紫外線燈光照明模塊(13),所述水箱噴灑模塊(14)與紫外線燈光照明模塊(13)連接環繞整個污水處理箱(1)的內側壁上形成封閉,所述連接橫桿(6)的數量為多個,且在固定環形架(5)的內側呈等分狀態,所述水箱噴灑模塊(14)的數量與連接橫桿(6)的數量一致并處在同一方位;所述污水處理箱(1)分為清洗模式與固定模式,所述污水進水管(4)的頂部設有進水控制閥,所述污水進水管(4)對稱面處于污水處理箱(1)的另一側的底部設有出水管,且其頂部設有出水控制閥,所述水箱噴灑模塊(14)的一側連通有多組噴射口,所述水箱噴灑模塊(14)的內部設有可供于噴射口噴射的高壓設備,所述紫外線燈光照明模塊(13)的內部設有紫外線燈,所述紫外線燈光照明模塊(13)的外側為透明紫外線燈罩。
2.根據權利要求1所述的一種光催化污水處理裝置,其特征在于:所述圓柱凸輪桿(804)的外壁上開設有螺紋槽口,所述滑槽動力塊(803)的尺寸大小與螺紋槽口的尺寸大小相適配。
3.根據權利要求1所述的一種光催化污水處理裝置,其特征在于:所述推動塊(808)處于第三通孔(810)的內腔,并在其內部滑動,所述第三通孔(810)的兩側開設有與推動塊(808)相匹配的限位移動槽,所述觸碰式感應器(812)的一側與推動塊(808)的一側相接觸,所述觸碰式感應器(812)感應連接于處于底部的感應接收器(813)。
4.根據權利要求1所述的一種光催化污水處理裝置,其特征在于:所述連桿機構(9)包括傳動塊(901)、傳動桿(902)和受力塊(903),所述傳動塊(901)的一側鉸接有傳動桿(902),所述傳動桿(902)的底部鉸接有受力塊(903),所述傳動塊(901)的數量呈等分為多組。
5.根據權利要求1所述的一種光催化污水處理裝置,其特征在于:所述光觸媒安裝機構(11)包括安裝桿(111)、限位底板(112)、安裝卡塊(113)、光觸媒泡沫鋁網(114)、封邊鋁條(115)和第四通孔(116),所述安裝桿(111)的底部固定連接有限位底板(112),所述安裝桿(111)底部的兩側皆連接有安裝卡塊(113),所述安裝卡塊(113)與底部的限位底板(112)固定連接,所述限位底板(112)的頂部設有封邊鋁條(115),所述封邊鋁條(115)的側邊安裝有光觸媒泡沫鋁網(114),所述封邊鋁條(115)的頂部開設有第四通孔(116)。
6.根據權利要求5所述的一種光催化污水處理裝置,其特征在于:所述封邊鋁條(115)的內底部開設有與安裝卡塊(113)相匹配的安裝槽,所述安裝桿(111)的外徑尺寸大小與第四通孔(116)的內徑的尺寸大小相配。
發明內容
針對現有技術的不足,本發明的目的在于提供一種光催化污水處理裝置,可以達到對光觸媒泡沫鋁網清洗并對內部污水進行一定攪動流通的目的。
本為實現上述目的,本發明提供如下技術方案,一種光催化污水處理裝置所采用的技術方案是:包括污水處理箱、底座、封箱蓋、污水進水管和固定環形架,所述污水處理箱的底部固定安裝有底座,所述污水處理箱的頂部連接有封箱蓋,所述污水處理箱的外側連通用污水進水管,所述污水處理箱的內側固定連接有與其內部直徑相匹配的固定環形架;
所述固定環形架的內部的一側連接有連接橫桿,所述連接橫桿的內部開設有滑動槽,所述滑動槽頂部連接有與其滑動連接的調節機構,所述調節機構的底部螺紋連接有光觸媒安裝機構,所述調節機構的一側固定連接有連桿機構,所述連桿機構頂部的一側連接有伸縮桿,所述污水處理箱底部的中心位置處設有紫外線燈管。
作為優選方案,所述污水處理箱的內側壁上設有多組水箱噴灑模塊,所述水箱噴灑模塊的兩側皆連接有紫外線燈光照明模塊,所述水箱噴灑模塊與紫外線燈光照明模塊連接環繞整個污水處理箱的內側壁上形成封閉,所述連接橫桿的數量為多個,且在固定環形架的內側呈等分狀態,所述水箱噴灑模塊的數量與連接橫桿的數量一致并處在同一方位。
作為優選方案,所述污水處理箱分為清洗模式與固定模式,所述污水進水管的頂部設有進水控制閥,所述污水進水管對稱面處于污水處理箱的另一側的底部設有出水管,且其頂部設有出水控制閥,所述水箱噴灑模塊的一側連通有多組噴射口,所述水箱噴灑模塊的內部設有可供于噴射口噴射的高壓設備,所述紫外線燈光照明模塊的內部設有紫外線燈,所述紫外線燈光照明模塊的外側為透明紫外線燈罩。
作為優選方案,所述調節機構包括滑動塊、第一通孔、滑槽動力塊、圓柱凸輪桿、限位塊、第二通孔、彈簧推動塊和固定機構,所述滑動塊的頂部開設有第一通孔,所述第一通孔的內側連接有滑槽動力塊,所述第一通孔的內部設有與其相匹配的圓柱凸輪桿,所述圓柱凸輪桿的頂部與底部皆連接有限位塊,所述滑動塊的一側開設有第二通孔,所述第二通孔的一側連接有彈簧,所述彈簧的一側固定連接有推動塊,所述推動塊一側滑動連接有固定機構。
作為優選方案,所述固定機構包括第三通孔、限位桿、觸碰式感應器、感應接收器、推動氣桿、連動桿、限位勾和轉動桿,所述第三通孔的內腔中固定安裝有限位桿,所述限位桿的一側安裝有觸碰式感應器,所述第三通孔的底部固定安裝有感應接收器,所述感應接收器的兩側連接有推動氣桿,所述推動氣桿的頂部固定連接有連動桿,所述連動桿的頂部連接有限位勾,所述連動桿的中間處安裝有轉動桿。
作為優選方案,所述圓柱凸輪桿的外壁上開設有螺紋槽口,所述滑槽動力塊的尺寸大小與螺紋槽口的尺寸大小相適配。
作為優選方案,所述推動塊處于第三通孔的內腔,并在其內部滑動,所述第三通孔的兩側開設有與推動塊相匹配的限位移動槽,所述觸碰式感應器的一側與推動塊的一側相接觸,所述觸碰式感應器感應連接于處于底部的感應接收器。
作為優選方案,所述連桿機構包括傳動塊、傳動桿和受力塊,所述傳動塊的一側鉸接有傳動桿,所述傳動桿的底部鉸接有受力塊,所述傳動塊的數量呈等分為多組。
所述光觸媒安裝機構包括安裝桿、限位底板、安裝卡塊、光觸媒泡沫鋁網、封邊鋁條和第四通孔,所述安裝桿的底部固定連接有限位底板,所述安裝桿底部的兩側皆連接有安裝卡塊,所述安裝卡塊與底部的限位底板固定連接,所述限位底板的頂部設有封邊鋁條,所述封邊鋁條的側邊安裝有光觸媒泡沫鋁網,所述封邊鋁條的頂部開設有第四通孔。
所述封邊鋁條的內底部開設有與安裝卡塊相匹配的安裝槽,所述安裝桿的外徑尺寸大小與第四通孔的內徑的尺寸大小相配。
與現有技術相比,本發明提供了一種光催化污水處理裝置,具備以下有益效果
通過設在污水處理箱內部的光觸媒泡沫鋁網,利用污水處理箱內壁側均勻分布的紫外線燈光照明模塊對光觸媒泡沫鋁網的一側進行照明,再利用設在污水處理箱內部中心位置處的紫外線燈管對另一側的光觸媒泡沫鋁網進行照明,從而對光觸媒泡沫鋁網兩面皆可進行對污水的處理,從而提高污水與光觸媒泡沫鋁網的接觸面,提高污水處理效率。
該設備設有清洗模式與固定模式,在啟動清洗模式時,處于固定環形架中心位置處的伸縮桿向下推動,從而帶動底部連接的光觸媒泡沫鋁網向著污水處理箱內側壁靠近,通過與其相對應的水箱噴灑模塊,從而對光觸媒泡沫鋁網進行清理,解決附著于其上的污染物,提高了光觸媒的接觸有效性。
3、在滑動塊到達于滑動槽的頂點處時,通過伸縮桿的持續下壓,圓柱凸輪外側的螺紋槽口沿著滑槽動力塊向下運行,將底部的光觸媒泡沫鋁網在污水中進行攪拌,使得水在其內部進行流動,并由水箱噴灑模塊對光觸媒泡沫鋁網的兩面皆可進行沖刷清理,其次在滑動塊到達于滑動槽的頂點處時,處于一側的限位勾頂出,將滑動塊進行固定,從而使得伸縮桿不斷上提下壓,滑動塊固定不動,底部的光觸媒泡沫鋁網不停的進行轉動,進一步的提高污水的攪拌效率已經對光觸媒泡沫鋁網的清理效果。
(發明人:崔志偉;王瑋;魯超;武煜坤;儀明臣;王昌偉;王述偉)






