公布日:2024.01.12
申請日:2023.11.21
分類號:C02F1/52(2023.01)I;C02F1/02(2023.01)I;B01D53/78(2006.01)I;B01D53/62(2006.01)I;B01D53/34(2006.01)I
摘要
本發明涉及碳減排污水處理技術領域,具體涉及碳減排污水處理系統,包括兩個對稱分布的匚形支架,兩個所述匚形支架頂面的兩端均固定有污水罐,所述污水罐包括筒體,所述筒體的底端連通固定有與匚形支架固定連接的沉淀池,所述筒體的頂端固定有頂板,所述頂板中部轉動連接有延伸到筒體內部的軸桿,所述軸桿頂部滑動套接有圓形浮板一和圓形浮板二。本發明中,通過設置兩個污水罐,可以向每個污水罐里面注入一半的污水,在污水從連通管輸送到污水罐的過程中,借助污水的沖擊力時軟管間歇向污水里面定量投放水處理藥劑,同時攪拌槳借助在污水內部的浮力在污水里面分散開充分攪拌污水與藥劑的混合液。

權利要求書
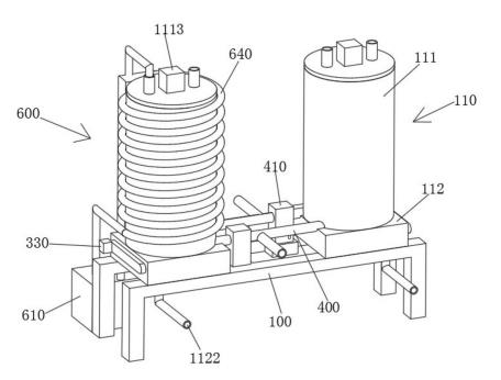
1.碳減排污水處理系統,包括兩個對稱分布的匚形支架(100),其特征在于,兩個所述匚形支架(100)頂面的兩端均固定有污水罐(110),所述污水罐(110)包括筒體(111),所述筒體(111)的底端連通固定有與匚形支架(100)固定連接的沉淀池(112),所述筒體(111)的頂端固定有頂板,所述頂板中部轉動連接有延伸到筒體(111)內部的軸桿(200),所述軸桿(200)頂部滑動套接有圓形浮板一(210)和圓形浮板二(220),所述軸桿(200)的底部滑動套接有多個攪拌槳(230),所述沉淀池(112)的內部設置有沉淀截留機構(300),兩個所述污水罐(110)之間連通固定有兩個連通管(400),所述連通管(400)的內部設置有投藥機構(500),所述投藥機構(500)包括與連通管(400)固定連接的L形管(510)和連接軸(520),所述連接軸(520)的外側固定有套環(530),所述套環(530)的外側呈環形等角度固定有多個扇葉(540),所述扇葉(540)與L形管(510)間歇擠壓貼靠,其中,一個所述污水罐(110)的外側設置有碳減排機構(600),所述碳減排機構(600)包括水箱(610),所述水箱(610)的頂部連通固定有回水管(620)和出水管(630),所述回水管(620)與出水管(630)之間連通固定有可拆卸套接在筒體(111)外側的螺旋管(640),所述出水管(630)與筒體(111)之間連通固定有輸氣管(631)。
2.根據權利要求1所述的碳減排污水處理系統,其特征在于,所述沉淀截留機構(300)包括多個均與沉淀池(112)轉動連接的轉動軸,所述轉動軸的外側套接固定有擋板(310),所述沉淀池(112)的外側固定固定有用于驅動多個轉動軸轉動的機箱(320),所述機箱(320)的外側固定有電機二(330)。
3.根據權利要求2所述的碳減排污水處理系統,其特征在于,相鄰兩個轉動軸之間的距離相同,所述擋板(310)的外側套接固定有橡膠套,所述轉動軸延伸到機箱(320)內部的一端均套接固定有雙槽帶輪,相鄰兩個所述雙槽帶輪之間傳動連接有皮帶,所述電機二(330)的輸出端與對應位置轉動軸的一端固定連接。
4.根據權利要求1所述的碳減排污水處理系統,其特征在于,所述水箱(610)與對應位置匚形支架(100)固定連接,所述水箱(610)的內部固定有水泵一,所述水泵一的出水端與出水管(630)連通固定。
5.根據權利要求1所述的碳減排污水處理系統,其特征在于,所述扇葉(540)背離套環(530)的一端固定有橢圓形的橡膠球(541),所述L形管(510)的一端連通固定有軟管(511),所述橡膠球(541)與軟管(511)間歇擠壓貼靠,所述連通管(400)的外側連通固定有水泵二(410),所述連通管(400)的外側連通固定有輸水管(420)。
6.根據權利要求1所述的碳減排污水處理系統,其特征在于,所述軸桿(200)底部的外側呈環形等角度開設有多個滑槽(240),且沿著逆時針方向多個滑槽(240)的長度逐漸延長,所述攪拌槳(230)包括活動環,所述活動環的外側均勻固定有多個槳葉,所述活動環的內側固定有與對應位置滑槽(240)滑動卡接的滑塊。
7.根據權利要求1所述的碳減排污水處理系統,其特征在于,所述筒體(111)的內底部固定有與軸桿(200)轉動連接的支撐橫梁(250),所述沉淀池(112)的底面可拆卸固定有封板(1121),所述沉淀池(112)的內部連通固定有排水管(1122)。
8.根據權利要求1所述的碳減排污水處理系統,其特征在于,所述頂板的頂面固定有用于驅動軸桿(200)轉動的電機一(1113),所述頂板的頂面插接固定有排氣管(1111)和進氣管(1112),所述排氣管(1111)和進氣管(1112)的內部均串聯安裝有電磁閥。
9.根據權利要求1所述的碳減排污水處理系統,其特征在于,所述圓形浮板一(210)與圓形浮板二(220)的頂面均貫通開設有多個通孔,且圓形浮板一(210)上的通孔與圓形浮板二(220)上的通孔錯位,所述圓形浮板一(210)的兩端與筒體(111)的內側滑動連接,所述攪拌槳(230)由密度小于水密度的材料制成。
發明內容
為了克服上述的技術問題,本發明的目的在于提供碳減排污水處理系統,通過設置兩個污水罐,可以向每個污水罐里面注入一半的污水,在污水從連通管輸送到污水罐的過程中,借助污水的沖擊力時軟管間歇向污水里面定量投放水處理藥劑,同時攪拌槳借助在污水內部的浮力在污水里面分散開充分攪拌污水與藥劑的混合液,通過將污水集中箱一個污水罐輸送,污水帶著圓形浮板二上移使圓形浮板一同步上移,進而使污水罐內頂部的二氧化碳氣體通過排氣管輸送到內部循環流動有氫氧化鈉溶液的螺旋管里面,實現將二氧化碳氣體反應減少,達到減排的效果。
本發明的目的可以通過以下技術方案實現:碳減排污水處理系統,包括兩個對稱分布的匚形支架,兩個所述匚形支架頂面的兩端均固定有污水罐,所述污水罐包括筒體,所述筒體的底端連通固定有與匚形支架固定連接的沉淀池,所述筒體的頂端固定有頂板,所述頂板中部轉動連接有延伸到筒體內部的軸桿,所述軸桿頂部滑動套接有圓形浮板一和圓形浮板二,所述軸桿的底部滑動套接有多個攪拌槳,所述沉淀池的內部設置有沉淀截留機構,兩個所述污水罐之間連通固定有兩個連通管,所述連通管的內部設置有投藥機構,所述投藥機構包括與連通管固定連接的L形管和連接軸,所述連接軸的外側固定有套環,所述套環的外側呈環形等角度固定有多個扇葉,所述扇葉與L形管間歇擠壓貼靠,其中,一個所述污水罐的外側設置有碳減排機構,所述碳減排機構包括水箱,所述水箱的頂部連通固定有回水管和出水管,所述回水管與出水管之間連通固定有可拆卸套接在筒體外側的螺旋管,所述出水管與筒體之間連通固定有輸氣管。
進一步在于:所述沉淀截留機構包括多個均與沉淀池轉動連接的轉動軸,所述轉動軸的外側套接固定有擋板,所述沉淀池的外側固定固定有用于驅動多個轉動軸轉動的機箱,所述機箱的外側固定有電機二。
進一步在于:相鄰兩個轉動軸之間的距離相同,所述擋板的外側套接固定有橡膠套,所述轉動軸延伸到機箱內部的一端均套接固定有雙槽帶輪,相鄰兩個所述雙槽帶輪之間傳動連接有皮帶,所述電機二的輸出端與對應位置轉動軸的一端固定連接。
進一步在于:所述水箱與對應位置匚形支架固定連接,所述水箱的內部固定有水泵一,所述水泵一的出水端與出水管連通固定。
進一步在于:所述扇葉背離套環的一端固定有橢圓形的橡膠球,所述L形管的一端連通固定有軟管,所述橡膠球與軟管間歇擠壓貼靠,所述連通管的外側連通固定有水泵二,所述連通管的外側連通固定有輸水管。
進一步在于:所述軸桿底部的外側呈環形等角度開設有多個滑槽,且沿著逆時針方向多個滑槽的長度逐漸延長,所述攪拌槳包括活動環,所述活動環的外側均勻固定有多個槳葉,所述活動環的內側固定有與對應位置滑槽滑動卡接的滑塊。
進一步在于:所述筒體的內底部固定有與軸桿轉動連接的支撐橫梁,所述沉淀池的底面可拆卸固定有封板,所述沉淀池的內部連通固定有排水管。
進一步在于:所述頂板的頂面固定有用于驅動軸桿轉動的電機,所述頂板的頂面插接固定有排氣管和進氣管,所述排氣管和進氣管的內部均串聯安裝有電磁閥。
進一步在于:所述圓形浮板一與圓形浮板二的頂面均貫通開設有多個通孔,且圓形浮板一上的通孔與圓形浮板二上的通孔錯位,所述圓形浮板一的兩端與筒體的內側滑動連接,所述攪拌槳由密度小于水密度的材料制成。
本發明的有益效果:1、通過輸水管向連通管里面輸送污水,將外界泵送藥劑的管道與L形管的底端連通,實現在連通管輸送污水的同時L形管上的軟管向污水里面輸送藥劑,省去人工將藥劑直接投放到污水里面,便于污水在輸送時即可與藥劑混合,通過利用污水沖擊扇葉的動力使扇葉轉動,扇葉端部的橡膠球轉動到軟管位置后會將軟管壓扁,阻礙軟管繼續釋放藥劑,實現向連通管內部的污水間斷定量投放藥劑,有利于提高污水處理過程中藥劑投放的效率,根據需要可以在連通管上安裝不同數量的投藥機構,便于同時向污水里面投放不同類型的藥劑,擴大本申請的使用范圍;2、通過連通管將添加有藥劑的污水輸送到污水罐內部,電機一帶著軸桿轉動,軸桿帶著多個攪拌槳轉動攪拌污水,再次促進藥劑與污水充分混合,通過在軸桿的外側開設有多個滑槽,且沿著逆時針的走向滑槽的長度逐漸增加(參照說明書圖5),污水里面攪拌槳在浮力作用下能夠沿著滑槽上浮,且因為滑槽的長度不同,導致每個攪拌槳上浮的高度不同,實現在污水淹沒長度最長滑槽后,所有的攪拌槳能夠等間距展開攪拌污水,提高污水攪拌的效率,并且,當污水量較少沒有淹沒所有的滑槽時,此時軸桿最上方的攪拌槳會在污水液面攪拌污水,軸桿最底端的攪拌槳始終在筒體底部攪拌污水,該兩個攪拌槳之間的攪拌槳分散在污水內部攪拌污水,實現根據污水的量自動調節多個攪拌槳的位置進行攪拌污水;3、通過電機二帶著其輸出端的轉動軸轉動,在皮帶和雙槽帶輪的傳動作用下使多個轉動軸同步轉動進而使轉動軸外側的擋板轉動展開(參照說明書圖6),此時便于將污水罐內部污水反應產生的沉淀掉落到沉淀池里面收集起來,當需要清理沉淀物時,可以將一個污水罐內部的污水通過連通管泵送到另一個污水罐里面,然后通過排水管放掉沉淀池里面的部分污水,接著打開沉淀池底面的封板,便于將沉淀池內部積攢的沉淀物清理干凈,且,在將一個污水罐里面的污水輸送到另一個污水罐過程中(兩個污水罐初始注入一般容量的污水),污水會通過對應位置的連通管,此時根據需要可以再次通過連通管內部的投藥機構投放藥劑;4、通過在軸桿的外側滑動套接有圓形浮板一和圓形浮板二,圓形浮板二始終漂浮在污水液面,當圓形浮板二與圓形浮板一之間存在間隙時,污水中產生的二氧化碳會從圓形浮板一和圓形浮板二上的通孔積攢到污水罐的內頂部空間,污水罐內頂部的空間起到臨時存放二氧化碳的作用,在將一個污水罐內部的污水通過水泵二經過連通固定泵送到另一個污水罐的過程中,另一個污水罐內部的污水量會逐漸增加,此時圓形浮板二上移與圓形浮板一貼靠,然后圓形浮板一和圓形浮板二隨著液面一起上升,此時圓形浮板一和圓形浮板二上通孔因為使錯位布置會在二者貼靠后將通孔封堵起來,污水推動圓形浮板一和圓形浮板二上移將二氧化碳從排氣管推送到螺旋管里面,此時水箱里面的氫氧化鈉溶液與螺旋管里面的二氧化碳氣體接觸反應,實現減少二氧化碳的排放量,同時,氫氧化鈉與二氧化碳的反應為放熱反應,可以采用螺旋管套接在污水罐的外側,從螺旋管上傳遞出來的熱量可以為污水罐提供反應需要的高溫環境根據需要可以在兩個污水罐外側均套接安裝碳減排機構,當不需要給污水罐提供熱量時,可以直接通過螺旋管將二氧化碳輸送到水箱的氫氧化鈉溶液里面。
(發明人:王潤)






