公布日:2024.01.16
申請日:2023.12.05
分類號:C02F3/00(2023.01)I;C02F1/38(2023.01)I
摘要
本發明公開了一種生物載體污水處理方法,屬于生物載體回收領域。該生物載體污水處理方法應用于生物載體循環旋流分離系統;其中,進泥調節池接收外來污泥后將其排至水力旋流分離器,水力旋流分離器分離出載體與剩余污泥;載體進入回收載體池后排出系統;剩余污泥進入一級剩余污泥池;剩余污泥在一級剩余污泥池產生沉淀,沉淀后的清流從一級剩余污泥池頂部的出水堰溢流至二級剩余污泥池,隨后排出系統;一級剩余污泥池底部的污泥由剩余污泥回流泵再次輸入水力旋流分離器進行處理。該生物載體污水處理方法充分利用了剩余污泥的特性,配合一級剩余污泥池使污泥中的載體與污水被充分處理,盡可能減少載體的流失,極大提高了生物載體的回收率。

權利要求書
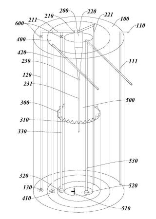
1.一種生物載體污水處理方法,其特征在于,應用于生物載體循環旋流分離系統;其中,進泥調節池接收外來污泥后將其排至水力旋流分離器,水力旋流分離器分離出載體與剩余污泥;載體進入回收載體池后排出系統;剩余污泥進入一級剩余污泥池;剩余污泥在一級剩余污泥池產生沉淀,沉淀后的清流從一級剩余污泥池頂部的出水堰溢流至二級剩余污泥池,隨后排出系統;一級剩余污泥池底部的污泥由剩余污泥回流泵再次輸入水力旋流分離器進行處理;所述系統為圓筒狀,包括多層同心圓筒壁,相鄰筒壁之間由內到外依次形成有回收載體池、一級剩余污泥池、二級剩余污泥池、進泥調節池。
2.根據權利要求1所述的生物載體污水處理方法,其特征在于:所述污泥回流泵具有指定工作液位,一級剩余污泥池內液體介質到達指定深度時,污泥回流泵開始工作,一級剩余污泥池內液體介質低于指定深度時,污泥回流泵停止工作。
3.根據權利要求1所述的生物載體污水處理方法,其特征在于:所述出水堰的高度低于其他筒壁的高度,且沿筒壁周向布置。
4.根據權利要求1所述的生物載體污水處理方法,其特征在于:所述水力旋流分離器位于回收載體池的正上方。
5.根據權利要求1所述的生物載體污水處理方法,其特征在于:所述水力旋流分離器通過上排泥管與所述一級剩余污泥池相連,所述上排泥管從上端伸至所述一級剩余污泥池的下側。
6.根據權利要求1所述的生物載體污水處理方法,其特征在于:所述進泥調節池與二級剩余污泥池之間的筒壁為橢圓形。
7.根據權利要求1所述的生物載體污水處理方法,其特征在于:所述進泥調節池靠近外筒壁處設置有與系統外側相通的進泥口,所述進泥調節池設置有進泥輸送泵,用于將污泥輸送至水力旋流分離器進泥口;其中,所述進泥口與所述進泥輸送泵在水平方向的距離大于或等于所述進泥調節池的內筒壁的直徑。
8.根據權利要求1所述的生物載體污水處理方法,其特征在于:所述二級剩余污泥池底部設置有排泥泵,所述排泥泵連接有剩余污泥排泥管,所述剩余污泥排泥管從筒壁上端伸出,所述用于將污泥排出系統。
9.根據權利要求7所述的生物載體污水處理方法,其特征在于:所述水力旋流分離器具有上進泥口,用于接收待處理污泥;所述進泥輸送泵連接有一級送泥管,所述剩余污泥回流泵連接有剩余污泥回流管,所述一級送泥管、剩余污泥回流管并聯入上進泥口,所述一級送泥管、剩余污泥回流管均設置有進泥閥;一級送泥管輸送污泥時,其內部進泥閥打開,剩余污泥回流管內進泥閥關閉;剩余污泥回流管輸送污泥時,其內部進泥閥打開,一級送泥管內進泥閥關閉。
10.根據權利要求1所述的生物載體污水處理方法,其特征在于:所述回收載體池底部設置推流器。
發明內容
為了解決相關技術中可能存在的問題,本申請的一些實施例提供了一種生物載體污水處理方法,應用于生物載體循環旋流分離系統;其中,進泥調節池接收外來污泥后將其排至水力旋流分離器,水力旋流分離器分離出載體與剩余污泥;載體進入回收載體池后排出系統;剩余污泥進入一級剩余污泥池;剩余污泥在一級剩余污泥池產生沉淀,沉淀后的清流從一級剩余污泥池頂部的出水堰溢流至二級剩余污泥池,隨后排出系統;一級剩余污泥池底部的污泥由剩余污泥回流泵再次輸入水力旋流分離器進行處理。
進一步的,污泥回流泵具有指定工作液位,一級剩余污泥池內液體介質到達指定深度時,污泥回流泵開始工作,一級剩余污泥池內液體介質低于指定深度時,污泥回流泵停止工作。
進一步的,系統為圓筒狀,包括多層同心圓筒壁,相鄰筒壁之間由內到外依次形成有回收載體池、一級剩余污泥池、二級剩余污泥池、進泥調節池。
進一步的,出水堰的高度低于其他筒壁的高度,且沿筒壁周向布置。
進一步的,水力旋流分離器位于回收載體池的正上方。
進一步的,水力旋流分離器通過上排泥管與一級剩余污泥池相連,所述上排泥管從上端伸至所述一級剩余污泥池的下側。
進一步的,所述進泥調節池與二級剩余污泥池之間的筒壁為橢圓形。
進一步的,所述進泥調節池靠近外筒壁處設置有與系統外側相通的進泥口,所述進泥調節池設置有進泥輸送泵,用于將污泥輸送至水力旋流分離器進泥口;其中,所述進泥口與所述進泥輸送泵在水平方向的距離大于或等于所述進泥調節池的內筒壁的直徑。
進一步的,所述二級剩余污泥池底部設置有排泥泵,所述排泥泵連接有剩余污泥排泥管,所述剩余污泥排泥管從筒壁上端伸出,所述用于將污泥排出系統。
進一步的,所述水力旋流分離器具有上進泥口,用于接收待處理污泥;所述進泥輸送泵連接有一級送泥管,所述剩余污泥回流泵連接有剩余污泥回流管,所述一級送泥管、剩余污泥回流管并聯入上進泥口,所述一級送泥管、剩余污泥回流管均設置有進泥閥。一級送泥管輸送污泥時,其內部進泥閥打開,剩余污泥回流管內進泥閥關閉;剩余污泥回流管輸送污泥時,其內部進泥閥打開,一級送泥管內進泥閥關閉。
進一步的,所述回收載體池底部設置推流器。
采用本發明提供的技術方案,與現有技術相比,具有如下有益效果:
該生物載體污水處理方法充分利用了剩余污泥的特性,配合一級剩余污泥池使污泥中的載體與污水被充分處理,盡可能減少載體的流失,極大提高了生物載體的回收率。
(發明人:方鑫;陳道康;陳夢雪)






