公布日:2024.01.16
申請日:2023.11.13
分類號:C02F1/72(2023.01)I;C02F1/461(2023.01)I;C02F1/52(2023.01)I
摘要
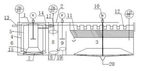
本發明涉及一種芬頓與電氧化耦合的污水處理裝置,包括依次連接的聯合氧化反應器、混凝單元和沉淀單元;聯合氧化反應器內由外向內包括第一電極板、第二電極板和強化反應筒,第一電極板和第二電極板分別電連接外部電源的正極和負極,以進行電氧化處理;強化反應筒內設有攪拌裝置,聯合氧化反應器的底部且對應強化反應筒的位置設有氧化劑加藥管,用于向強化反應筒內輸入氧化劑,以進行芬頓反應;混凝單元包括依次連接的混凝區和絮凝區,混凝區和絮凝區的上游側均設有加藥管;沉淀單元由下至上包括刮泥機、斜板填料和溢流槽。

權利要求書
1.一種芬頓與電氧化耦合的污水處理裝置,其特征在于,包括依次連接的聯合氧化反應器、混凝單元和沉淀單元;聯合氧化反應器內由外向內包括第一電極板、第二電極板和強化反應筒,第一電極板和第二電極板分別電連接外部電源的正極和負極,以進行電氧化處理;強化反應筒內設有攪拌裝置,聯合氧化反應器的底部且對應強化反應筒的位置設有氧化劑加藥管,用于向強化反應筒內輸入氧化劑,以進行芬頓反應;混凝單元包括依次連接的混凝區和絮凝區,混凝區和絮凝區的上游側均設有加藥管;沉淀單元由下至上包括刮泥機、斜板填料和溢流槽。
2.根據權利要求1所述的芬頓與電氧化耦合的污水處理裝置,其特征在于,所述聯合氧化反應器為圓柱形,第一電極板、第二電極板、強化反應筒和聯合氧化反應器的外殼均同心設置;外殼與第一電極板之間的空間為第一腔體,第一電極板與第二電極板之間的空間為第二腔體,第二電極板與第強化反應筒之間的空間為第三腔體;外殼的頂部設有進水管,用于向第一腔體內輸入廢水,廢水再依次流經第二腔體和第三腔體,進行電氧化處理;然后廢水流經強化反應筒內部,進行芬頓氧化處理。
3.根據權利要求2所述的芬頓與電氧化耦合的污水處理裝置,其特征在于,所述第一電極板的頂部高于第一腔體和第二腔體的液面,底部懸空,使得第一腔體內的廢水由上至下流動,再從第一電極板的底部進入第二腔體;第二電極板的頂部低于第一電極板的頂部,底部連接聯合氧化反應器的底面,使得第二腔體內的廢水由下至上流動,再從第二電極板的頂部溢流至第三腔體;強化反應筒的頂部高于第三腔體的液面,底部懸空,使得第三腔體內的廢水由上至下流動,再從強化反應筒的底部進入強化反應筒內部。
4.根據權利要求3所述的芬頓與電氧化耦合的污水處理裝置,其特征在于,所述強化反應筒的底部的直徑大于自身其它部分的直徑,強化反應筒的底部敞口,便于從第三腔體輸入的廢水和氧化劑加藥管的氧化劑進入強化反應筒;強化反應筒的上部設有出水管,出水管連接混凝區的頂部,強化反應筒內的廢水由下至上流動,再由出水管輸入混凝區。
5.根據權利要求3所述的芬頓與電氧化耦合的污水處理裝置,其特征在于,所述聯合氧化反應器的底面且對應第一腔體和第二腔體的位置設有第一曝氣管,用于氣動擾動第一腔體和第二腔體內的水體。
6.根據權利要求4所述的芬頓與電氧化耦合的污水處理裝置,其特征在于,所述氧化劑加藥管設在強化反應筒的下方,氧化劑加藥管為環狀,且氧化劑加藥管的直徑略小于強化反應筒的底部的直徑,使得氧化劑加藥管輸入的雙氧水優先進入強化反應筒內的邊緣;氧化劑加藥管的噴口向下設置,避免從強化反應筒落下的污泥堵塞噴口而影響加藥。
7.根據權利要求6所述的芬頓與電氧化耦合的污水處理裝置,其特征在于,所述第二電極板的底部設有一圈導流板,導流板處于氧化劑加藥管的下方,導流板為向下凹陷的弧形板,其兩側高度相同,外側邊固定在第二電極面對強化反應筒的側面上,內側邊懸空;導流板的環寬不小于氧化劑加藥管的環寬,使得經導流板導流進入強化反應筒底部的水流能覆蓋氧化劑加藥管的加藥面積,并攜帶雙氧水進入強化反應筒的邊緣。
8.根據權利要求7所述的芬頓與電氧化耦合的污水處理裝置,其特征在于,所述強化反應筒的邊緣設有若干個攪拌裝置,若干個攪拌裝置沿著強化反應筒的周向均勻設置,用于攪拌強化反應筒邊緣上升的污水和雙氧水。
9.根據權利要求1所述的芬頓與電氧化耦合的污水處理裝置,其特征在于,所述混凝區的上部設有混凝劑加藥環,底部設有第二曝氣管,混凝區內廢水的流向為由上至下,混凝劑加藥環釋放混凝劑,第二曝氣管氣動攪拌混凝區內的廢水,促進混凝反應;混凝區底部設有第一出口,用于連通絮凝區底部。
10.根據權利要求9所述的芬頓與電氧化耦合的污水處理裝置,其特征在于,所述絮凝區內設有攪拌器,下部設有絮凝劑加藥環,絮凝區內廢水的流向為由下至上,絮凝劑加藥環釋放絮混凝劑;絮凝區頂部設有第二出口,用于連通沉淀單元。
發明內容
針對上述問題,本發明提供一種芬頓與電氧化耦合的污水處理裝置,包括依次連接的聯合氧化反應器、混凝單元和沉淀單元;聯合氧化反應器內由外向內包括第一電極板、第二電極板和強化反應筒,第一電極板和第二電極板分別電連接外部電源的正極和負極,以進行電氧化處理;強化反應筒內設有攪拌裝置,聯合氧化反應器的底部且對應強化反應筒的位置設有氧化劑加藥管,用于向強化反應筒內輸入氧化劑,以進行芬頓反應;
混凝單元包括依次連接的混凝區和絮凝區,混凝區和絮凝區的上游側均設有加藥管;沉淀單元由下至上包括刮泥機、斜板填料和溢流槽。
可選的,所述聯合氧化反應器為圓柱形,第一電極板、第二電極板、強化反應筒和聯合氧化反應器的外殼均同心設置;外殼與第一電極板之間的空間為第一腔體,第一電極板與第二電極板之間的空間為第二腔體,第二電極板與第強化反應筒之間的空間為第三腔體;
外殼的頂部設有進水管,用于向第一腔體內輸入廢水,廢水再依次流經第二腔體和第三腔體,進行電氧化處理;然后廢水流經強化反應筒內部,進行芬頓氧化處理。
進一步可選的,所述第一電極板的頂部高于第一腔體和第二腔體的液面,底部懸空,使得第一腔體內的廢水由上至下流動,再從第一電極板的底部進入第二腔體;
第二電極板的頂部低于第一電極板的頂部,底部連接聯合氧化反應器的底面,使得第二腔體內的廢水由下至上流動,再從第二電極板的頂部溢流至第三腔體;
強化反應筒的頂部高于第三腔體的液面,底部懸空,使得第三腔體內的廢水由上至下流動,再從強化反應筒的底部進入強化反應筒內部。
進一步可選的,所述強化反應筒的底部的直徑大于自身其它部分的直徑,即底部敞口,便于從第三腔體輸入的廢水和氧化劑加藥管的氧化劑進入強化反應筒;
強化反應筒的上部設有出水管,出水管連接混凝區的頂部,強化反應筒內的廢水由下至上流動,再由出水管輸入混凝區。
進一步可選的,所述聯合氧化反應器的底面且對應第一腔體和第二腔體的位置設有第一曝氣管,用于氣動擾動第一腔體和第二腔體內的水體。
本發明的聯合氧化反應器通過由外向內依次設置的第一電極板、第二電極板和強化反應筒,控制廢水流向,實現電氧化、芬頓氧化、雙氧水氧化的三級氧化分解廢水中的污染物。第一電極板和第二電極板的電氧化:電極板通電,廢水在兩個電極板間折流運行,充分和電極板接觸,電解氧化廢水中的污染物。電解氧化實現機理為直接氧化與間接氧化,其中,直接氧化作用為水通過電化學作用而產生·OH基團,其氧化活性極強,作用物無選擇性;間接氧化為水中具備高濃度Cl-,Cl-在陽極板放出電子的作用下形成Cl2,Cl-于溶液中形成ClO-,溶液中的Cl2/ClO-氧化作用可有效去除廢水中的污染物。
芬頓氧化:電解廢水的電極板產生Fe2+,廢水進入強化反應筒和添加的雙氧水進一步強化芬頓反應,雙氧水在Fe2+的催化作用下,生成具有高反應活性的羥基自由基·OH,·OH與大多數有機物作用使其降解。
雙氧水氧化:強化反應筒內的雙氧水作為一種強氧化性物質,與大多數有機物作用,使其降解。
由于芬頓氧化會產生較多的污泥,部分小顆粒污泥隨產水進入混凝區,部分大顆粒污泥將沉降到聯合氧化反應器的底部,而強化反應筒的下方還有氧化劑和來自第三腔體的水體需要進入強化反應筒,導致底部進水進料擾動污泥,使得污泥重返強化反應筒內,同時污泥也占用強化反應筒和聯合氧化反應器的空間,降低了污水處理量。
可選的,所述氧化劑加藥管為環狀,且氧化劑加藥管的直徑略小于強化反應筒的底部的直徑,使得氧化劑加藥管輸入的雙氧水優先進入強化反應筒內的邊緣;
氧化劑加藥管的噴口向下設置,避免從強化反應筒落下的污泥堵塞噴口而影響加藥。
可選的,所述第二電極板的底部設有一圈導流板,導流板處于氧化劑加藥管的下方,導流板為向下凹陷的弧形板,其兩側高度相同,外側邊固定在第二電極面對強化反應筒的側面上,內側邊懸空;
導流板的環寬不小于氧化劑加藥管的環寬,使得經導流板導流進入強化反應筒底部的水流能覆蓋氧化劑加藥管的加藥面積,并攜帶雙氧水進入強化反應筒的邊緣。
可選的,所述強化反應筒的邊緣設有若干個攪拌裝置,若干個攪拌裝置沿著強化反應筒的周向均勻設置,用于攪拌強化反應筒邊緣上升的污水和雙氧水。
本發明通過氧化劑加藥管和導流板的設置,使得第三腔體內污水經過弧形的導流板而轉向,從氧化劑加藥管的下方經過,攜帶雙氧水向上進入強化反應筒,且先進入強化反應筒的邊緣處,經過若干個攪拌裝置的攪拌,將邊緣處的新進水推向強化反應筒的中心,在進行氧化反應的同時,水體向上流動,反應產生的污泥主要從強化反應筒的中部(即對應環狀的氧化劑加藥管的中部空心處)向下掉落,泥水分離,因為該處沒有直接上升的水流,而是攪拌裝置橫向或斜向攪動帶來的水體混合,污泥下降的阻力較小,有利于泥水分離,下落的污泥不影響進水和加藥管加藥,污泥最終落在聯合氧化器的底部,通過排渣口排出即可。
可選的,所述混凝區的上部設有混凝劑加藥環,底部設有第二曝氣管,混凝區內廢水的流向為由上至下,混凝劑加藥環釋放混凝劑,第二曝氣管氣動攪拌混凝區內的廢水,促進混凝反應;混凝區底部設有第一出口,用于連通絮凝區底部。
可選的,所述絮凝區內設有攪拌器,下部設有絮凝劑加藥環,絮凝區內廢水的流向為由下至上,絮凝劑加藥環釋放絮混凝劑;絮凝區頂部設有第二出口,用于連通沉淀單元。
(發明人:婁廣亮;牛瑞勝;任曉敏;郭永正;孫振洲;陳然;賴明建;郭全杰;孫騰飛;王效騫;何朋英;田攀陽)






