公布日:2024.01.16
申請日:2023.11.09
分類號:C02F3/12(2023.01)I
摘要
本發明公開了一種MBR污水處理裝置及其處理方法,包括循環管,其內設置有:圓周陣列布置的MBR膜管,且多個MBR膜管上設置有居中布置的安裝部;第一攪拌組件,其包括轉動設置于安裝部上的活動圈板,所述活動圈板上固定安裝有多個呈圓周陣列布置的直刃式槳葉件;第二攪拌組件,其包括固定安裝于活動圈板上的臺型導流殼,所述臺型導流殼上周向轉動設置有多個擾流槳。本發明提供的MBR污水處理裝置及其處理方法,當污水通過曝氣之后,而使得污水中攜帶大量氧氣氣泡,在通過時被破碎而溶于污水中,然后再通過螺旋加熱環加熱至預定溫度,使得在充足氧氣下和適宜溫度下的污水中微生物活性最大,從而加速污水反應效率,縮短處理周期。

權利要求書
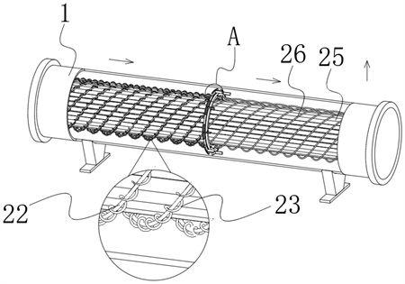
1.一種MBR污水處理裝置,其特征在于,包括循環管(1),其內設置有:圓周陣列布置的MBR膜管(25),且多個MBR膜管(25)上設置有居中布置的安裝部;第一攪拌組件(2),其包括轉動設置于安裝部上的活動圈板(21),所述活動圈板(21)上固定安裝有多個呈圓周陣列布置的直刃式槳葉件(24);第二攪拌組件(3),其包括固定安裝于活動圈板(21)上的臺型導流殼(32),所述臺型導流殼(32)上周向轉動設置有多個擾流槳(34)。
2.根據權利要求1所述的一種MBR污水處理裝置,其特征在于,所述直刃式槳葉件(24)根據結構分為第一刀片(241)、第二刀片(242),所述第一刀片(241)平行于活動圈板(21)布置,所述第二刀片(242)垂直于第一刀片(241)布置。
3.根據權利要求1所述的一種MBR污水處理裝置,其特征在于,圓周陣列布置的多個所述MBR膜管(25)外圍螺旋環繞設置有一端固定所述安裝部上的螺旋曝氣管(22);所述螺旋曝氣管(22)上開設有朝向所述MBR膜管(25),且沿水流方向傾斜布置的氣孔,所述氣孔用于引導使污水螺旋流動。
4.根據權利要求3所述的一種MBR污水處理裝置,其特征在于,所述螺旋曝氣管(22)的外圍螺旋環繞設置有網格網(23),所述網格網(23)橫截面的半徑為3cm,且網眼呈菱形結構,采用0.03mm的不銹鋼絲編織而成。
5.根據權利要求1所述的一種MBR污水處理裝置,其特征在于,所述活動圈板(21)上開設有導流腔(31),所述導流腔(31)連通于臺型導流殼(32)。
6.根據權利要求1所述的一種MBR污水處理裝置,其特征在于,所述臺型導流殼(32)上開設有多個呈圓周陣列布置的排污孔(33),所述擾流槳(34)周向轉動于排污孔(33)內。
7.根據權利要求1所述的一種MBR污水處理裝置,其特征在于,圓周陣列布置的多個所述MBR膜管(25)外圍螺旋環繞設置有一端固定所述安裝部上的螺旋加熱環(26);所述螺旋加熱環(26)位于出水方向布置。
8.根據權利要求1所述的一種MBR污水處理裝置,其特征在于,還包括設置在污水池底部、且貼合兩側池壁布置的并聯管(6),多個所述循環管(1)兩個并聯管(6)的相鄰一側,且出水口上固定聯通有沿豎直方向向上布置的對流管(5),兩排的所述對流管(5)的出水口相鄰布置;兩個所述并聯管(6)之間連通有位于多個循環管(1)之間布置的供污管(4)。
9.一種MBR污水的處理方法,應用于上述權利要求1-8任一項所述的MBR污水處理裝置,包括以下步驟:S01、污水泵運行將污水由供污管(4)從污水池底部的中心抽入并聯管(6)內后,分別排入循環管(1)內;S02、進入循環管(1)內的污水通過MBR膜管(25)上,并在螺旋曝氣管(22)曝氣作用下,使得污水發生旋轉,且靠近所述MBR膜管(25)處也會形成環繞流,而噴射的氣泡會掛在網格網(23)上,使通過的污水攜帶大量氧氣氣泡;S03、污水繼續流動下通過第一攪拌組件(2),因為污水自帶旋轉,就會帶動活動圈板(21)旋轉,從而驅使直刃式槳葉件(24)對大量氧氣氣泡進行破碎,溶于污水中;S04、在上述步驟3中,MBR膜管(25)倒流下污水進入并帶動第二攪拌組件(3)內的擾流槳(34)旋轉,從而加速第一攪拌組件(2)的轉速,同時擾流槳(34)對大量氧氣氣泡也進行破碎,溶于污水中。S05、通過破碎后進入螺旋加熱環(26),使水溫保持在50℃,然后排入對流管(5)最后排出,且兩排的對流管(5)水流方向相互沖擊,最后使得污水池內液體擾動循環。
發明內容
本發明的目的是提供一種MBR污水處理裝置及其處理方法,解決上述問題。
為了實現上述目的,本發明提供如下技術方案:一種MBR污水處理裝置,包括循環管,其內設置有:
圓周陣列布置的MBR膜管,且多個MBR膜管上設置有居中布置的安裝部;
第一攪拌組件,其包括轉動設置于安裝部上的活動圈板,所述活動圈板上固定安裝有多個呈圓周陣列布置的直刃式槳葉件;
第二攪拌組件,其包括固定安裝于活動圈板上的臺型導流殼,所述臺型導流殼上周向轉動設置有多個擾流槳。
作為優選的,所述直刃式槳葉件根據結構分為第一刀片、第二刀片,所述第一刀片平行于活動圈板布置,所述第二刀片垂直于第一刀片布置。
作為優選的,圓周陣列布置的多個所述MBR膜管外圍螺旋環繞設置有一端固定所述安裝部上的螺旋曝氣管;
所述螺旋曝氣管上開設有朝向所述MBR膜管,且沿水流方向傾斜布置的氣孔,所述氣孔用于引導使污水螺旋流動。
作為優選的,所述螺旋曝氣管的外圍螺旋環繞設置有網格網,所述網格網橫截面的半徑為3cm,且網眼呈菱形結構,采用0.03mm的不銹鋼絲編織而成。
作為優選的,所述活動圈板上開設有導流腔,所述導流腔連通于臺型導流殼。
作為優選的,所述臺型導流殼上開設有多個呈圓周陣列布置的排污孔,所述擾流槳周向轉動于排污孔內。
作為優選的,圓周陣列布置的多個所述MBR膜管外圍螺旋環繞設置有一端固定所述安裝部上的螺旋加熱環;
所述螺旋加熱環位于出水方向布置。
作為優選的,還包括設置在污水池底部、且貼合兩側池壁布置的并聯管,多個所述循環管兩個并聯管的相鄰一側,且出水口上固定聯通有沿豎直方向向上布置的對流管,兩排的所述對流管的出水口相鄰布置;
兩個所述并聯管之間連通有位于多個循環管之間布置的供污管。
一種MBR污水的處理方法,應用于上述方案中所述的MBR污水處理裝置,包括以下步驟:
S01、污水泵運行將污水由供污管從污水池底部的中心抽入并聯管內后,分別排入循環管內;
S02、進入循環管內的污水通過MBR膜管上,并在螺旋曝氣管曝氣作用下,使得污水發生旋轉,且靠近所述MBR膜管處也會形成環繞流,而噴射的氣泡會掛在網格網上,使通過的污水攜帶大量氧氣氣泡;
S03、污水繼續流動下通過第一攪拌組件,因為污水自帶旋轉,就會帶動活動圈板旋轉,從而驅使直刃式槳葉件對大量氧氣氣泡進行破碎,溶于污水中;
S04、在上述步驟3中,MBR膜管倒流下污水進入并帶動第二攪拌組件內的擾流槳旋轉,從而加速第一攪拌組件的轉速,同時擾流槳對大量氧氣氣泡也進行破碎,溶于污水中。
S05、通過破碎后進入螺旋加熱環,使水溫保持在50℃,然后排入對流管最后排出,且兩排的對流管水流方向相互沖擊,最后使得污水池內液體擾動循環。
在上述技術方案中,本發明提供的一種MBR污水處理裝置及其處理方法,具備以下有益效果:通過循環管內流動的水流沖擊活動圈板,使得活動圈板沿著循環管內部呈螺旋方向轉動,并使直刃式槳葉件旋轉,同時第二攪拌組件設置于活動圈板上,所以當水流通過的時候也會旋轉且對第一攪拌組件起到加速作用,所以當污水通過曝氣之后,而使得污水中攜帶大量氧氣氣泡,在通過時被破碎而溶于污水中,然后再通過螺旋加熱環加熱至預定溫度,使得在充足氧氣下和適宜溫度下的污水中微生物活性最大,從而加速污水反應效率,縮短處理周期。
(發明人:祝婭;杜惠洋;張寅)






