公布日:2024.01.19
申請日:2023.11.29
分類號:C02F3/30(2023.01)I;C02F3/00(2023.01)I
摘要
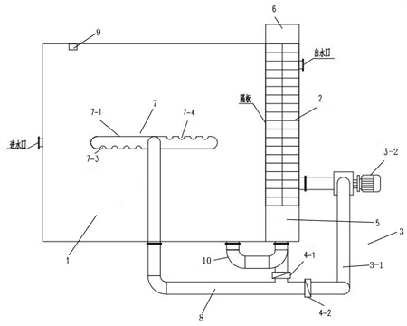
本發明公開一種MBBR污水處理防堵塞裝置,包括MBBR膜池和中間水池,MBBR膜池和中間水池之間連接過水管和反沖洗裝置,過水管上設置第一閥門,過水管端部設置旋轉防堵機構,所述反沖洗裝置包括反沖水管和反沖水泵,反沖水管上設置第二閥門。本發明通過設置反沖洗裝置和旋轉防堵機構,不定時或間歇式開啟反沖水裝置,將過水口處的MBBR填料吹散,避免過水口堵塞。如過水口已經發生堵塞,MBBR膜池內水位上漲超限時,控制器自動控制第一閥門關閉,反沖水泵和第二閥門開啟,用反沖水將過水孔堵塞的MBBR填料沖開,疏導過水孔。過水支管繞旋轉接頭旋轉,實現將匯聚在過水支管附近的填料物理攪拌分散,使填料在MBBR池內均勻分散,從而避免更嚴重的問題發生。

權利要求書
1.一種MBBR污水處理防堵塞裝置,其特征在于:包括MBBR膜池(1)和中間水池(5),MBBR膜池(1)和中間水池(5)之間連接過水管(8)和反沖洗裝置(3),過水管(8)上設置第一閥門(4-1),過水管(8)端部設置旋轉防堵機構(7),所述反沖洗裝置(3)包括反沖水管(3-1)和反沖水泵(3-2),反沖水管(3-1)上設置第二閥門(4-2)。
2.根據權利要求1所述一種MBBR污水處理防堵塞裝置,其特征在于:所述旋轉防堵機構包括旋轉接頭(7-2)和過水支管(7-1),過水支管(7-1)通過旋轉接頭(7-2)與過水管(8)連接,過水支管(7-1)一側均勻設置第一過水孔(7-3),另一側均勻設置第二過水孔(7-4),第一過水孔(7-3)與第二過水孔(7-4)反向設置,且第一過水孔(7-3)與第二過水孔(7-4)的孔徑小于MBBR填料粒徑尺寸。
3.根據權利要求1所述一種MBBR污水處理防堵塞裝置,其特征在于:中間水池(5)上設置自動格柵(2)。
4.根據權利要求3所述一種MBBR污水處理防堵塞裝置,其特征在于:自動格柵(2)的出口設置收集稱重裝置(6)。
5.根據權利要求1所述一種MBBR污水處理防堵塞裝置,其特征在于:MBBR膜池(1)和中間水池(5)之間還設置溢流管(10)。
6.根據權利要求1所述一種MBBR污水處理防堵塞裝置,其特征在于:MBBR膜池內設置液位計(9),液位計(9)通過控制器與反沖水泵(3-2)聯鎖。
發明內容
針對現有技術中存在的上述問題,本發明公開一種MBBR污水處理防堵塞裝置。
本發明的目的是以下述方式實現的:一種MBBR污水處理防堵塞裝置,包括MBBR膜池和中間水池,MBBR膜池和中間水池之間連接過水管和反沖洗裝置,過水管上設置第一閥門,過水管端部設置旋轉防堵機構,所述反沖洗裝置包括反沖水管和反沖水泵,反沖水管上設置第二閥門。
所述旋轉防堵機構包括旋轉接頭和過水支管,過水支管通過旋轉接頭與過水管連接,過水支管一側均勻設置第一過水孔,另一側均勻設置第二過水孔,第一過水孔與第二過水孔反向設置,且第一過水孔與第二過水孔的孔徑小于MBBR填料粒徑尺寸。
中間水池上設置自動格柵。
自動格柵的出口設置收集稱重裝置。
MBBR膜池和中間水池之間還設置溢流管。
MBBR膜池內設置液位計,液位計通過控制器與反沖水泵聯鎖。
相對于現有技術,本發明通過設置反沖洗裝置和旋轉防堵機構,不定時或間歇式開啟反沖水裝置,將過水口處的MBBR填料吹散,避免過水口堵塞。如果過水口已經發生堵塞,則MBBR膜池內水位上漲,液位計測得的液位值超過上限時,控制器自動控制第一閥門關閉,反沖水泵和第二閥門開啟,用反沖水將過水孔堵塞的MBBR填料沖開,疏導過水孔。同時,反沖洗水形成的沖擊力使得過水支管繞旋轉接頭旋轉,實現將匯聚在過水支管附近的MBBR填料物理攪拌分散,使MBBR填料在MBBR池內均勻分散,從而避免MBBR膜池內水位持續上漲、溢出至MBBR膜池外污染、MBBR隨水溢出流失等更嚴重的問題發生。
(發明人:王向陽;徐俊召;岳會芳;王騰飛)






