公布日:2024.01.23
申請日:2023.11.29
分類號:B01D33/11(2006.01)I;B01D33/80(2006.01)I;C02F1/00(2023.01)I;B01D53/78(2006.01)I;C02F3/34(2023.01)I
摘要
本發明涉及污水除臭技術領域,具體的說是一種污水處理除臭裝置及除臭方法,包括處理罐,用于儲存對污水除臭的除臭劑;輸水機構,安裝在處理罐內部并且兩端伸出,包括進水管、弧形管和出水管,進水管固定在處理罐上端左側;除渣機構,轉動安裝在處理罐內部且位于輸水機構的下端;濾筒轉動過程中,帶動固定套轉動使弧形塊經豎管下端擠壓后活動頭下移打開進料口,而弧形塊脫離豎管下端后,活動頭移動復位堵住進料口,使得污水和廢渣間斷進入濾筒,并且在粉碎濾筒內部廢渣過程中,廢渣不會從豁口、進料口流出,從而保證進入濾筒內部的廢渣粉碎時間,直至廢渣粉碎溶于水流出濾筒與除臭劑接觸除臭,保證除臭效果,處理廢渣。

權利要求書
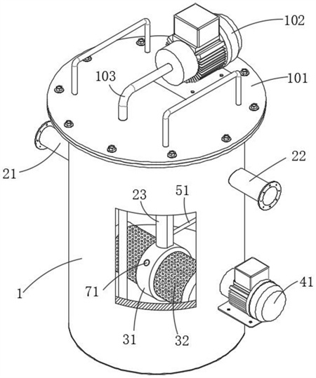
1.一種污水處理除臭裝置,其特征在于,包括:處理罐(1),用于儲存對污水除臭的除臭劑;輸水機構(2),安裝在處理罐(1)內部并且兩端伸出,包括進水管(21)、弧形管(24)和出水管(22),進水管(21)固定在處理罐(1)上端左側,出水管(22)固定在處理罐(1)上端右側,弧形管(24)固定在進水管(21)和出水管(22)之間呈U形結構,弧形管(24)下端固定有豎管(23);除渣機構(3),轉動安裝在處理罐(1)內部且位于輸水機構(2)的下端,污水水內部廢渣球磨破碎;進料機構(7),安裝在除渣機構(3)外壁,用于控制污水從輸水機構(2)進入除渣機構(3)內部;驅動機構(4),安裝在處理罐(1)外側與除渣機構(3)連接,用于驅動除渣機構(3)轉動;補氣機構(6),安裝在處理罐(1)一側且與驅動機構(4)連接,用于處理罐(1)內部補氣增氧;攪拌機構(8),安裝在除渣機構(3)一側,用于處理罐(1)內部污水攪拌與除臭劑混合;壓味機構(9),轉動安裝在處理罐(1)靠近下端位置,并且與攪拌機構(8)連接,用于處理罐(1)內部噴水壓味;排液機構(5),安裝在處理罐(1)內且與弧形管(24)連接,用于排出處理罐(1)內部污水。
2.根據權利要求1所述的一種污水處理除臭裝置,其特征在于:所述輸水機構(2)還包括隔板(25),L形結構的所述隔板(25)豎向固定在豎管(23)以及弧形管(24)內壁,將所述弧形管(24)兩側分隔成進液孔(241)和排液孔(242),所述豎管(23)左側水平滑動連接有防堵針(28),所述防堵針(28)與豎管(23)外壁之間固定有第一彈簧(27),所述防堵針(28)左側固定有呈Z字形結構的活動桿(26),所述進水管(21)左端伸出處理罐(1),所述出水管(22)右端伸出處理罐(1),所述處理罐(1)上端安裝有罐蓋(101),所述罐蓋(101)上表面固定有除臭劑輸送泵(102),所述除臭劑輸送泵(102)的出口連接有輸送管(103),所述輸送管(103)下端伸入處理罐(1)內部。
3.根據權利要求2所述的一種污水處理除臭裝置,其特征在于:所述驅動機構(4)包括電機(41),所述電機(41)安裝在處理罐(1)外側靠近下端位置,所述電機(41)的輸出軸固定有第一齒輪(42),所述處理罐(1)轉動連接有曲軸(44),所述曲軸(44)的一端固定有第二齒輪(43),所述第二齒輪(43)與第一齒輪(42)嚙合連接。
4.根據權利要求3所述的一種污水處理除臭裝置,其特征在于:所述除渣機構(3)包括濾筒(32),所述濾筒(32)右端與曲軸(44)一端固定連接,所述濾筒(32)左端與處理罐(1)內壁轉動連接,所述濾網(67)外表面中心部位固定有固定套(31),所述豎管(23)的下端與固定套(31)上端外表面滾動連接,所述濾筒(32)內部儲存若干個鐵球(33),所述濾筒(32)的左端水平滑動連接有滑套(36),所述濾筒(32)左側外壁設有活動槽(37),所述滑套(36)內壁水平滑動連接在活動槽(37)內部,所述滑套(36)外表面固定有四個攪葉(34),所述滑套(36)左側外表面開設有呈環狀結構的環形槽(35),所述活動桿(26)的左端滾動連接在環形槽(35)內部。
5.根據權利要求4所述的一種污水處理除臭裝置,其特征在于:所述進料機構(7)包括弧形塊(72),所述弧形塊(72)滑動連接在固定套(31)外壁,所述弧形塊(72)與固定套(31)之間固定有第三彈簧(73),所述固定套(31)貫穿設有截面呈梯形結構的進料口(75),所述進料口(75)內部滑動插入有上窄下寬的活動頭(71),所述活動頭(71)與弧形塊(72)之間固定有活動柱(77),所述活動柱(77)滑動設置在固定套(31)內壁,所述濾筒(32)貫穿設有豁口(76),所述豁口(76)內部固定有弧形結構的格網(74),所述格網(74)的口徑小于鐵球(33)的直徑。
6.根據權利要求5所述的一種污水處理除臭裝置及,其特征在于:所述攪拌機構(8)包括往復絲桿(82),所述往復絲桿(82)安裝在濾筒(32)左端與處理罐(1)內壁之間,所述往復絲桿(82)與處理罐(1)內壁之間轉動連接,所述往復絲桿(82)螺紋連接有滾珠套(83),所述滾珠套(83)上下端固定有豎桿(81),所述豎桿(81)固定有橫向設置的滑桿(85),所述滑桿(85)的左端與處理罐(1)內壁之間水平滑動連接,所述滑桿(85)的右端與滑套(36)的左側外表面滾動連接,位于下方的所述滑桿(85)固定有伸入處理罐(1)下端的攪拌葉(84)。
7.根據權利要求(6)所述的一種污水處理除臭裝置,其特征在于:所述壓味機構(9)包括噴頭(93),所述噴頭(93)轉動連接在處理罐(1)內壁左側,所述噴頭(93)朝向濾筒(32)上表面,所述噴頭(93)上端連接有軟管(91),所述軟管(91)一端伸出處理罐(1),所述噴頭(93)固定連接有第三齒輪(92),位于上方的所述滑桿(85)固定有支架(95),所述支架(95)的上端固定有橫向設置的齒條(94),所述第三齒輪(92)下端與齒條(94)嚙合連接。
8.根據權利要求7所述的一種污水處理除臭裝置,其特征在于:所述補氣機構(6)包括補氣管(62),Z字形結構的所述補氣管(62)固定在處理罐(1)內壁右側,所述補氣管(62)左側伸入處理罐(1)內部且右側伸出處理罐(1)外部,所述補氣管(62)左側下端豎直滑動連接有活塞(63),所述活塞(63)下端轉動連接有連桿(61),所述連桿(61)下端與曲軸(44)轉動連接,所述補氣管(62)左側開設有出氣口(64),所述補氣管(62)的傾斜面內壁轉動連接有橡膠封墊(65),所述橡膠封墊(65)轉動連接有連接桿(69),所述連接桿(69)上端轉動連接有滑塊(601),所述補氣管(62)開設有滑槽(68),所述滑塊(601)滑動連接在滑槽內(68),所述滑塊(601)與補氣管(62)之間固定有第二彈簧(602),所述補氣管(62)的傾斜端內壁固定有濾網(67),所述補氣管(62)的傾斜端內壁固定有位于橡膠封墊(65)一側的擋塊(66)。
9.根據權利要求8所述的一種污水處理除臭裝置及除臭方法,其特征在于:所述排液機構(5)包括防護殼(53),所述防護殼(53)固定在處理罐(1)內壁,所述防護殼(53)內部安裝有水泵(52),所述水泵(52)的進口連接有伸入處理罐(1)下端的抽水管(54),所述水泵(52)的出口連接有橫向設置的排水管(51),所述排水管(51)與弧形管(24)固定連接,所述排水管(51)與排液孔(242)內部連通。
10.根據權利要求1-9任一項所述的一種污水處理除臭方法,其特征在于:它包括以下步驟:步驟1):將待除臭的污水從進水管(21)左端輸入,然后污水從進水管(21)進入弧形管(24)內部,經隔板(25)阻擋,污水下流進入豎管(23),從豎管(23)下端流出;步驟2):打開電機(41)電源開關,使電機(41)通電工作,帶動第一齒輪(42)轉動,使第二齒輪(43)轉動驅動曲軸(44)、濾筒(32)、固定套(31)以及往復絲桿(82)轉動;步驟3):固定套(31)轉動帶動弧形塊(72)經豎管(23)下端擠壓后活動頭(71)下移打開進料口(75),使得豎管(23)內的污水和廢渣進入濾筒(32),在濾筒(32)轉動過程中,帶動內部的鐵球(33)滾動發生摩擦,擠壓進入濾筒(32)內部的廢渣成粉狀,廢渣在濾筒(32)內部破損研磨成粉狀,使廢渣不僅可以快速溶于污水中,而且被破碎的廢渣可以釋放內部儲存的臭氣;步驟4):廢渣在濾筒(32)內部經鐵球(33)摩擦粉碎,直至廢渣粉碎溶于水流出濾筒(32)進入處理罐(1)與除臭劑接觸除臭,保證除臭效果,處理廢渣;步驟5):通過水泵(52)通電工作,將除臭后的污水從抽水管(54)抽入排水管(51),再送入豎管(23),然后從弧形管(24)右側的排液孔(242)送入出水管(22),使除臭的污水從出水管(22)排出。
發明內容
針對現有技術中的問題,本發明提供了一種污水處理除臭裝置及除臭方法。
本發明解決其技術問題所采用的技術方案是:一種污水處理除臭裝置,包括:
處理罐,用于儲存對污水除臭的除臭劑;
輸水機構,安裝在處理罐內部并且兩端伸出,包括進水管、弧形管和出水管,進水管固定在處理罐上端左側,出水管固定在處理罐上端右側,弧形管固定在進水管和出水管之間呈U形結構,弧形管下端固定有豎管;
除渣機構,轉動安裝在處理罐內部且位于輸水機構的下端,污水水內部廢渣球磨破碎;
進料機構,安裝在除渣機構外壁,用于控制污水從輸水機構進入除渣機構內部;
驅動機構,安裝在處理罐外側與除渣機構連接,用于驅動除渣機構轉動;
補氣機構,安裝在處理罐一側且與驅動機構連接,用于處理罐內部補氣增氧;
攪拌機構,安裝在除渣機構一側,用于處理罐內部污水攪拌與除臭劑混合;
壓味機構,轉動安裝在處理罐靠近下端位置,并且與攪拌機構連接,用于處理罐內部噴水壓味;
排液機構,安裝在處理罐內且與弧形管連接,用于排出處理罐內部污水。
具體的,所述輸水機構還包括隔板,L形結構的所述隔板豎向固定在豎管以及弧形管內壁,將所述弧形管兩側分隔成進液孔和排液孔,所述豎管左側水平滑動連接有防堵針,所述防堵針與豎管外壁之間固定有第一彈簧,所述防堵針左側固定有呈Z字形結構的活動桿,所述進水管左端伸出處理罐,所述出水管右端伸出處理罐,所述處理罐上端安裝有罐蓋,所述罐蓋上表面固定有除臭劑輸送泵,所述除臭劑輸送泵的出口連接有輸送管,所述輸送管下端伸入處理罐內部。
具體的,所述驅動機構包括電機,所述電機安裝在處理罐外側靠近下端位置,所述電機的輸出軸固定有第一齒輪,所述處理罐轉動連接有曲軸,所述曲軸的一端固定有第二齒輪,所述第二齒輪與第一齒輪嚙合連接。
具體的,所述除渣機構包括濾筒,所述濾筒右端與曲軸一端固定連接,所述濾筒左端與處理罐內壁轉動連接,所述濾網外表面中心部位固定有固定套,所述豎管的下端與固定套上端外表面滾動連接,所述濾筒內部儲存若干個鐵球,所述濾筒的左端水平滑動連接有滑套,所述濾筒左側外壁設有活動槽,所述滑套內壁水平滑動連接在活動槽內部,所述滑套外表面固定有四個攪葉,所述滑套左側外表面開設有呈環狀結構的環形槽,所述活動桿的左端滾動連接在環形槽內部。
具體的,所述進料機構包括弧形塊,所述弧形塊滑動連接在固定套外壁,所述弧形塊與固定套之間固定有第三彈簧,所述固定套貫穿設有截面呈梯形結構的進料口,所述進料口內部滑動插入有上窄下寬的活動頭,所述活動頭與弧形塊之間固定有活動柱,所述活動柱滑動設置在固定套內壁,所述濾筒貫穿設有豁口,所述豁口內部固定有弧形結構的格網,所述格網的口徑小于鐵球的直徑。
具體的,所述攪拌機構包括往復絲桿,所述往復絲桿安裝在濾筒左端與處理罐內壁之間,所述往復絲桿與處理罐內壁之間轉動連接,所述往復絲桿螺紋連接有滾珠套,所述滾珠套上下端固定有豎桿,所述豎桿固定有橫向設置的滑桿,所述滑桿的左端與處理罐內壁之間水平滑動連接,所述滑桿的右端與滑套的左側外表面滾動連接,位于下方的所述滑桿固定有伸入處理罐下端的攪拌葉。
具體的,所述壓味機構包括噴頭,所述噴頭轉動連接在處理罐內壁左側,所述噴頭朝向濾筒上表面,所述噴頭上端連接有軟管,所述軟管一端伸出處理罐,所述噴頭固定連接有第三齒輪,位于上方的所述滑桿固定有支架,所述支架的上端固定有橫向設置的齒條,所述第三齒輪下端與齒條嚙合連接。
具體的,所述補氣機構包括補氣管,Z字形結構的所述補氣管固定在處理罐內壁右側,所述補氣管左側伸入處理罐內部且右側伸出處理罐外部,所述補氣管左側下端豎直滑動連接有活塞,所述活塞下端轉動連接有連桿,所述連桿下端與曲軸轉動連接,所述補氣管左側開設有出氣口,所述補氣管的傾斜面內壁轉動連接有橡膠封墊,所述橡膠封墊轉動連接有連接桿,所述連接桿上端轉動連接有滑塊,所述補氣管開設有滑槽,所述滑塊滑動連接在滑槽內,所述滑塊與補氣管之間固定有第二彈簧,所述補氣管的傾斜端內壁固定有濾網,所述補氣管的傾斜端內壁固定有位于橡膠封墊一側的擋塊。
具體的,所述排液機構包括防護殼,所述防護殼固定在處理罐內壁,所述防護殼內部安裝有水泵,所述水泵的進口連接有伸入處理罐下端的抽水管,所述水泵的出口連接有橫向設置的排水管,所述排水管與弧形管固定連接,所述排水管與排液孔內部連通。
本發明還提供的一種污水處理除臭方法,包括以下步驟:
步驟1):將待除臭的污水從進水管左端輸入,然后污水從進水管進入弧形管內部,經隔板阻擋,污水下流進入豎管,從豎管下端流出;
步驟2):打開電機電源開關,使電機通電工作,帶動第一齒輪轉動,使第二齒輪轉動驅動曲軸、濾筒、固定套以及往復絲桿轉動;
步驟3):固定套轉動帶動弧形塊經豎管下端擠壓后活動頭下移打開進料口,使得豎管內的污水和廢渣進入濾筒,在濾筒轉動過程中,帶動內部的鐵球滾動發生摩擦,擠壓進入濾筒內部的廢渣成粉狀,廢渣在濾筒內部破損研磨成粉狀,使廢渣不僅可以快速溶于污水中,而且被破碎的廢渣可以釋放內部儲存的臭氣;
步驟4):廢渣在濾筒內部經鐵球摩擦粉碎,直至廢渣粉碎溶于水流出濾筒進入處理罐與除臭劑接觸除臭,保證除臭效果,處理廢渣;
步驟5):通過水泵通電工作,將除臭后的污水從抽水管抽入排水管,再送入豎管,然后從弧形管右側的排液孔送入出水管,使除臭的污水從出水管排出。
本發明的有益效果是:
(1)本發明濾筒轉動過程中,帶動固定套轉動使弧形塊經豎管下端擠壓后活動頭下移打開進料口,而弧形塊脫離豎管下端后,活動頭移動復位堵住進料口,使得污水和廢渣間斷進入濾筒,并且在粉碎濾筒內部廢渣過程中,廢渣不會從豁口、進料口流出,從而保證進入濾筒內部的廢渣粉碎時間,直至廢渣粉碎溶于水流出濾筒與除臭劑接觸除臭,保證除臭效果,處理廢渣。
(2)本發明在濾筒轉動粉碎廢渣過程中,帶動往復絲桿轉動,驅動滾珠套、豎桿和滑桿往復左右移動,滑桿右移時,推動滑套右滑,擠壓活動桿右移,使防堵針在豎管內部右滑,并且壓縮第一彈簧,當滑桿左移復位后,在第一彈簧作用下,推動防堵針左滑、活動桿左移以及滑套左移,如此反復,濾筒轉動帶動滑套、攪葉轉動過程中,還在滑桿的作用下,實現滑套左右小幅度移動以及防堵針的往復滑動,能夠更好的攪動混合處理罐內部的污水以及除臭劑以及防止豎管內部堵塞,提高除臭效率。
(3)本發明在滑桿往復水平滑動過程中,帶動齒條作用移動,從而驅動第三齒輪小幅度往復轉動,使噴頭往復擺動,使得噴頭噴出的水呈波浪狀在處理罐內部噴灑,吸收由廢渣粉碎噴出的臭氣,通過噴出的清水下降將臭氣帶到處理罐內部下端與除臭劑混合,再次處理污水中的臭味。
(4)本發明在曲軸轉動帶動濾筒轉動過程中,使得連桿移動,在連桿上端的作用下,拉動活塞上下滑動,當活塞下滑后,使補氣管右側上端產生向下的吸力,將空氣從補氣管上端吸入,經濾網過濾,空氣推動橡膠封墊順時針轉動,打開補氣管,直至活塞下移露出出氣口上端,這時空氣從出氣口被抽入處理罐,為處理罐內部補氣增氧,用于處理罐內部有氧呼吸的微生物補氧,有利于微生物活動溶解水中的惡臭物質進行除臭。
(發明人:黃金標;朱旭佳;彭發龍;黃小龍;吳蘭蘭)






