公布日:2024.12.31
申請日:2024.09.12
分類號:C02F1/66(2023.01)I;C02F1/52(2023.01)I;C02F1/00(2023.01)I;C02F103/18(2006.01)N
摘要
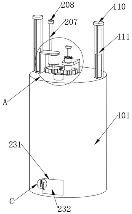
本發明公開一種火力發電廠的脫硫廢水處理設備,屬于廢水處理領域。包括攪拌桶,所述攪拌桶的頂端固定連接有進水管,所述攪拌桶的頂端固定連接有第一L形板,所述第一L形板的內側設置有電機,向攪拌桶內加入中和劑和絮凝劑,通過攪拌桿對廢水、中和劑和絮凝劑進行攪拌,使其充分混合,促進廢水中的懸浮物和膠體物質的凝聚,懸浮物和膠體物質通過重力的作用,沉降到攪拌桶底部,使廢水與懸浮物、沉淀物分離出來,隨后,通過電動推桿帶動連接桿、圓環塊和扇形過濾網向下移動,扇形過濾網帶動弧形過濾網移動,使弧形過濾網的底端與攪拌桶內底壁接觸,扇形過濾網和弧形過濾網可以將懸浮物和膠體物質進行攔截過濾,便于將廢水抽出。

權利要求書
1.一種火力發電廠的脫硫廢水處理設備,包括攪拌桶,其特征在于,所述攪拌桶的頂端固定連接有進水管,所述攪拌桶的頂端固定連接有第一L形板,所述第一L形板的內側設置有電機,所述電機的輸出端固定連接有連接軸,所述連接軸的底端轉動連接在攪拌桶上,所述連接軸的外表面固定連接有第一齒輪,所述攪拌桶上轉動連接有攪拌軸,所述攪拌軸轉動貫穿在攪拌桶的上端,所述攪拌桶的頂端固定連接有第二L形板;所述攪拌軸轉動貫穿在第二L形板的上,所述攪拌軸的外表面固定連接有第二齒輪,所述第二齒輪與第一齒輪相互嚙合,所述攪拌桶的頂端左右對稱固定連接有固定架,兩個所述固定架的中部均固定連接有電動推桿,所述電動推桿的伸縮端固定連接有連接桿,所述連接桿滑動貫穿在攪拌桶的上端,兩個所述連接桿的底端固定連接有同一圓環塊,所述圓環塊的內壁轉動連接有四個扇形過濾網,四個所述扇形過濾網呈圓周設置,其中一個所述扇形過濾網的底端固定連接有弧形過濾網,所述攪拌軸上設置有多個攪拌桿。
2.根據權利要求1所述的火力發電廠的脫硫廢水處理設備,其特征在于,所述圓環塊上開設有四個安裝槽,四個所述安裝槽的內壁均轉動連接有轉軸,四個所述扇形過濾網分別固定連接在相對應的轉軸上,所述轉軸的外表面固定連接有蝸輪,所述安裝槽的內底壁轉動連接有蝸桿,所述蝸桿與蝸輪相互配合,所述蝸桿的外表面固定連接有第三齒輪,所述圓環塊的中部轉動連接有齒環,所述齒環與第三齒輪相互嚙合,所述攪拌桶上設置有用于轉動蝸桿的轉動組件。
3.根據權利要求2所述的火力發電廠的脫硫廢水處理設備,其特征在于,所述轉動組件包括轉桿,所述轉桿滑動連接在攪拌桶上,所述轉桿滑動貫穿在攪拌桶的上端,所述轉桿的頂端固定連接有旋鈕,所述轉桿的底端固定連接有矩形塊,其中一個所述蝸桿上開設有與矩形塊相互配合的矩形槽,其中一個所述蝸桿貫穿圓環塊的上端。
4.根據權利要求3所述的火力發電廠的脫硫廢水處理設備,其特征在于,所述圓環塊的底端固定連接有推動柱,所述攪拌桶的內底壁滑動連接有梯形塊,所述梯形塊的一側固定連接有刮桿,所述攪拌桶的內壁與梯形塊之間固定連接有彈性繩。
5.根據權利要求4所述的火力發電廠的脫硫廢水處理設備,其特征在于,其中一個所述圓環塊上固定連接有連接管,所述連接管貫穿圓環塊,所述連接管的內壁固定連接有橡膠套,所述連接管的底端固定連接有十字管,所述十字管的底端固定連接有四個空心管,所述空心管、十字管和連接管相連通,所述攪拌桶的頂端固定連接有連接頭。
6.根據權利要求1所述的火力發電廠的脫硫廢水處理設備,其特征在于,所述攪拌軸上左右對稱開設有多個收納槽,多個所述收納槽的內壁轉動連接有轉動軸,多個所述扇形過濾網分別固定連接在相對應的轉動軸上,所述轉動軸的外表面固定連接有第四齒輪,所述攪拌軸的中部滑動連接有滑桿,所述滑桿滑動貫穿攪拌軸上端,所述滑桿的頂端固定連接有拉塊,所述攪拌軸上開設有多個滑動槽,所述滑桿的外表面固定連接有多個齒條板,多個所述齒條板分別滑動連接在相對應的滑動槽內,所述齒條板與第四齒輪相互嚙合,所述攪拌軸上設置有用于對滑桿進行限制的限制組件。
7.根據權利要求6所述的火力發電廠的脫硫廢水處理設備,其特征在于,所述限制組件包括兩個固定板,兩個所述固定板均固定連接在攪拌軸的頂端,兩個所述固定板之間轉動連接有雙向螺紋桿,所述雙向螺紋桿轉動貫穿在其中一個固定板上,所述雙向螺紋桿的一側固定連接有擰塊,所述雙向螺紋桿上螺紋連接有兩個夾塊,兩個所述夾塊的內側均固定連接有橡膠墊,兩個所述固定板之間固定連接有限位桿,兩個所述夾塊均滑動連接在限位桿上。
8.根據權利要求7所述的火力發電廠的脫硫廢水處理設備,其特征在于,所述攪拌桶上開設有出料口,所述出料口的內壁轉動連接有密封板,所述密封板靠近攪拌桶的一側固定連接有密封墊,所述密封板的前端固定連接有拉環,所述密封板的一側固定連接有矩形板,所述攪拌桶上設置有用于對密封板進行固定的固定組件。
9.根據權利要求8所述的火力發電廠的脫硫廢水處理設備,其特征在于,所述固定組件包括移動槽,所述移動槽的內壁滑動連接有移動塊,所述移動槽的內頂壁與移動塊之間固定連接有彈簧,所述移動塊的前端固定連接有把手,所述把手的底端固定連接有限位板。
10.根據權利要求1所述的火力發電廠的脫硫廢水處理設備,其特征在于,所述圓環塊的外表面左右對稱固定連接有T形滑塊,所述攪拌桶上開設有與T形滑塊相互配合的T形滑槽。
發明內容
針對現有技術中存在的懸浮物和膠體物質無法被充分攔截,容易導致部分懸浮物和膠體物質隨著廢水被抽出的問題,本發明的目的在于提供一種火力發電廠的脫硫廢水處理設備。
為解決上述問題,本發明采用如下的技術方案。
一種火力發電廠的脫硫廢水處理設備,包括攪拌桶,所述攪拌桶的頂端固定連接有進水管,所述攪拌桶的頂端固定連接有第一L形板,所述第一L形板的內側設置有電機,所述電機的輸出端固定連接有連接軸,所述連接軸的底端轉動連接在攪拌桶上,所述連接軸的外表面固定連接有第一齒輪,所述攪拌桶上轉動連接有攪拌軸,所述攪拌軸轉動貫穿在攪拌桶的上端,所述攪拌桶的頂端固定連接有第二L形板,所述攪拌軸轉動貫穿在第二L形板的上,所述攪拌軸的外表面固定連接有第二齒輪,所述第二齒輪與第一齒輪相互嚙合,所述攪拌桶的頂端左右對稱固定連接有固定架,兩個所述固定架的中部均固定連接有電動推桿,所述電動推桿的伸縮端固定連接有連接桿,所述連接桿滑動貫穿在攪拌桶的上端,兩個所述連接桿的底端固定連接有同一圓環塊,所述圓環塊的內壁轉動連接有四個扇形過濾網,四個所述扇形過濾網呈圓周設置,其中一個所述扇形過濾網的底端固定連接有弧形過濾網,所述攪拌軸上設置有多個攪拌桿。
可選地,所述圓環塊上開設有四個安裝槽,四個所述安裝槽的內壁均轉動連接有轉軸,四個所述扇形過濾網分別固定連接在相對應的轉軸上,所述轉軸的外表面固定連接有蝸輪,所述安裝槽的內底壁轉動連接有蝸桿,所述蝸桿與蝸輪相互配合,所述蝸桿的外表面固定連接有第三齒輪,所述圓環塊的中部轉動連接有齒環,所述齒環與第三齒輪相互嚙合,所述攪拌桶上設置有用于轉動蝸桿的轉動組件。
可選地,所述轉動組件包括轉桿,所述轉桿滑動連接在攪拌桶上,所述轉桿滑動貫穿在攪拌桶的上端,所述轉桿的頂端固定連接有旋鈕,所述轉桿的底端固定連接有矩形塊,其中一個所述蝸桿上開設有與矩形塊相互配合的矩形槽,其中一個所述蝸桿貫穿圓環塊的上端。
可選地,所述圓環塊的底端固定連接有推動柱,所述攪拌桶的內底壁滑動連接有梯形塊,所述梯形塊的一側固定連接有刮桿,所述攪拌桶的內壁與梯形塊之間固定連接有彈性繩。
可選地,其中一個所述圓環塊上固定連接有連接管,所述連接管貫穿圓環塊,所述連接管的內壁固定連接有橡膠套,所述連接管的底端固定連接有十字管,所述十字管的底端固定連接有四個空心管,所述空心管、十字管和連接管相連通,所述攪拌桶的頂端固定連接有連接頭。
可選地,所述攪拌軸上左右對稱開設有多個收納槽,多個所述收納槽的內壁轉動連接有轉動軸,多個所述扇形過濾網分別固定連接在相對應的轉動軸上,所述轉動軸的外表面固定連接有第四齒輪,所述攪拌軸的中部滑動連接有滑桿,所述滑桿滑動貫穿攪拌軸上端,所述滑桿的頂端固定連接有拉塊,所述攪拌軸上開設有多個滑動槽,所述滑桿的外表面固定連接有多個齒條板,多個所述齒條板分別滑動連接在相對應的滑動槽內,所述齒條板與第四齒輪相互嚙合,所述攪拌軸上設置有用于對滑桿進行限制的限制組件。
可選地,所述限制組件包括兩個固定板,兩個所述固定板均固定連接在攪拌軸的頂端,兩個所述固定板之間轉動連接有雙向螺紋桿,所述雙向螺紋桿轉動貫穿在其中一個固定板上,所述雙向螺紋桿的一側固定連接有擰塊,所述雙向螺紋桿上螺紋連接有兩個夾塊,兩個所述夾塊的內側均固定連接有橡膠墊,兩個所述固定板之間固定連接有限位桿,兩個所述夾塊均滑動連接在限位桿上。
可選地,所述攪拌桶上開設有出料口,所述出料口的內壁轉動連接有密封板,所述密封板靠近攪拌桶的一側固定連接有密封墊,所述密封板的前端固定連接有拉環,所述密封板的一側固定連接有矩形板,所述攪拌桶上設置有用于對密封板進行固定的固定組件。
可選地,所述固定組件包括移動槽,所述移動槽的內壁滑動連接有移動塊,所述移動槽的內頂壁與移動塊之間固定連接有彈簧,所述移動塊的前端固定連接有把手,所述把手的底端固定連接有限位板。
可選地,所述圓環塊的外表面左右對稱固定連接有T形滑塊,所述攪拌桶上開設有與T形滑塊相互配合的T形滑槽。
本發明提供的技術方案與現有技術相比,至少具有如下有益效果:
上述方案中,通過設置有扇形過濾網和弧形過濾網,當需要將廢水中的懸浮物和沉淀物進行分離時,向攪拌桶內的廢水中加入中和劑和絮凝劑,隨后,啟動電機,電機的輸出端帶動連接軸和第一齒輪轉動,第一齒輪驅動第二齒輪和攪拌軸轉動,攪拌軸帶動多個攪拌桿轉動,對攪拌桶內的廢水、中和劑和絮凝劑進行均勻攪拌,使廢水、中和劑和絮凝劑充分混合,促進廢水中的懸浮物和膠體物質的凝聚,懸浮物和膠體物質通過重力的作用,沉降到攪拌桶的底部,使廢水中的懸浮物和沉淀物分離出來,隨后,啟動電動推桿,電動推桿的伸縮端帶動連接桿向下移動,連接桿帶動圓環塊和扇形過濾網向下移動,扇形過濾網帶動弧形過濾網移動,將弧形過濾網的底端與攪拌桶內底壁接觸,扇形過濾網和弧形過濾網可以將懸浮物和膠體物質進行攔截過濾,便于將廢水抽出;
通過設置有第四齒輪和齒條板,當需要對攪拌桿進行收納時,首先解除對滑桿的限制,向下拉動拉塊,拉塊帶動滑桿向下滑動,滑桿帶動齒條板在滑動槽內滑動,齒條板驅動第四齒輪和轉動軸轉動,轉動軸帶動攪拌桿轉動到收納槽內進行收納,隨后,擰動擰塊,擰塊帶動雙向螺紋桿轉動,雙向螺紋桿帶動兩個夾塊沿著限位桿的長度方向相互靠近,夾塊帶動橡膠墊對滑桿進行夾持固定,防止滑桿在攪拌軸內隨意滑動;
通過設置有刮桿,當弧形過濾網向下滑動時,需要對弧形過濾網底端的懸浮物和膠體物質進行清理時,啟動電動推桿,電動推桿的伸縮端帶動連接桿向下移動,連接桿帶動圓環塊和推動柱向下移動,當推動柱與梯形塊的斜面相互接觸時,推動柱可以推動梯形塊在攪拌桶內底壁滑動,彈性繩拉伸,梯形塊帶動刮桿將弧形過濾網底端的懸浮物和膠體物質進行清理,防止弧形過濾網與攪拌桶內底壁接觸過程中,懸浮物和膠體物質對弧形過濾網造成堵塞;
通過設置有密封板和密封墊,當需要對密封板進行固定時,向上拉動把手,把手帶動移動塊在移動槽內滑動,彈簧壓縮,移動塊帶動拉環滑動到移動槽內,隨后,拉動拉環,拉環帶動密封板和密封墊轉動,使出料口打開,隨后,通過出料口將攪拌桶內的懸浮物、膠體物質進行清理,清理完成后,拉動拉環,拉環帶動密封板、矩形板和密封墊轉動到出料口內,對出料口進行密封,隨后,松開把手,彈簧回彈,移動塊帶動限位板滑動到矩形板的前端,對矩形板進行限制。
(發明人:王磊;趙品華;宋軍;毛順珍)






